ÎNCERCAREA LA ÎNDOIRE A TABLELOR
Lucrarea are ca obiective:
aprecierea capacitatii de deformare a tablelor din otel (A5, STAS 11318-80 ) si a celor din aliaje de aluminiu (AlMn1, STAS 7608-88) utilizând încercarea la îndoire alternanta
- determinarea influentei directiei de laminare asupra deformabilitatii tablelor utilizând încercarea la îndoire cu dorn cilindric.
Încercarile la îndoire se executa în scopul determinarii capacitatii de deformare la rece si a verificarii calitatii produselor în ceea ce priveste absenta defectelor de suprafata.
Încercarea la îndoire (SR ISO 7438) consta în deformarea prin încovoiere într-un sens a unei epruvete cu sectiune dreptunghiulară 727u2017h ;, rotunda sau poligonala în vederea aprecierii aspectului acesteia în partea întinsa a zonei îndoite. Îndoirea se poate face într-o matrita cu profilul corespunzator unghiului de îndoire (fig. 1), cu un dorn cilindric si doua role (fig. 2) sau între doua suprafete plane(fig.3).
|
Fig. 1 |
1 - starea initiala a epruvetei; 2 - starea deformata a epruvetei; 3 - matrita; 4 - scula de încovoiere |
|
Fig. 2 1 - starea initiala a epruvetei; 2 - starea deformata a epruvetei; 3 - role; 4 - dorn cilindric |
|
Fig. 3 1 - starea initiala a epruvetei; 2 - starea deformata a epruvetei; 3 - mandrine; 4 - cala. |
Îndoirea epruvetelor între doua suprafete plane se executa prin apasarea directa asupra capetelor epruvetei, care în prealabil a fost îndoita la cel putin 120˚. Unghiul de îndoire la care apar fisuri pe suprafata îndoita a epruvetei este unghiul de îndoire limita.
În urma încercarilor la îndoire în matrita si cu dorn cilindric si role se apreciaza deformabilitatea tablelor pe baza aspectului suprafetelor îndoite.
|
Fig. 4 |
Aspectul suprafetei îndoite depinde de directia de îndoire în raport cu directia de laminare a tablei. Astfel daca îndoirea se realizeaza perpendicular pe directia de laminare fisurile apar la un unghi de îndoire mai mic decât în cazul în care îndoirea se realizeaza pe directia de laminare a tablei (fig. 4).
Încercarea la îndoire alternanta consta din îndoirea repetata a unei epruvete într-un singur plan, la un unghi de 90˚ într-un sens si apoi la 90˚ în sens opus, în vederea determinarii numarului de îndoiri pâna la rupere. Se practica în cazul tablelor de grosime sub 3 mm.
3. Metode si mijloace de experimentare
Pentru încercarea la îndoire cu ajutorul dispozitivului cu role se utilizeaza doua epruvete din otel ale caror dimensiuni sunt prezentate în fig. 4.

Fig. 4
|
|
|
Fig. 5 |
Dispozitivul cu role, utilizat pentru realizarea încercarii la îndoire, este prezentat în fig. 5. Îndoirea tablei se realizeaza cu dornul cilindric 1 care este actionat de surubul 4, prin intermediul rotii de mâna 3. Rolele 2 se pot deplasa în plan orizontal pentru a permite îndoirea epruvetelor de diferite dimensiuni. Deplasarea rolelor se face pe un ghidaj coada de rândunica 6 cu ajutorul surubului stânga-dreapta 5. Acest surub permite apropierea sau departarea rolelor.
Pentru încercarea la îndoire alternanta se utilizeaza trei epruvete din aliaj de aluminiu si trei epruvete din otel cu dimensiunile 20 X 200 X 1(mm).
|
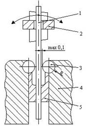
Fig. 6 |
Dispozitivul utilizat pentru aceasta încercare este prezentat în fig. 6. Dispozitivul se compune dintr-un dispozitiv de strângere 4, doua falci de fixare 5 si un antrenor cu pârghie 2. La partea superioara falcile sunt prevazute cu doua role cilindrice 3. Între rolele cilindrice si epruveta 1 trebuie sa ramâna un spatiu liber de maxim 0,1 mm pentru evitarea strângerii excesive a tablei. Axa epruvetei trebuie sa fie perpendiculara pe axa rolelor. |
4. Modul de lucru
În vederea executarii încercarii la îndoire cu dorn cilindric se aseaza prima epruveta pe rolele cilindrice 2 ale dispozitivului prezentat în fig. 5. Se apropie rolele prin actionarea cu o cheie a capului surubului 5 pâna când jocul dintre dornul cilindric si role este aproximativ egal cu grosimea epruvetei (1 mm). Prin actionarea rotii 3, surubul 4 deplaseaza dornul cilindric care realizeaza îndoirea tablei. In mod asemanator se procedeaza si cu cea de-a doua epruveta.
Pentru încercarea la îndoire alternanta se introduce prima epruveta între mandrinele de prindere 2 si falcile de fixare 5 si se strânge moderat însa, suficient pentru a împiedica alunecarea acesteia la îndoire. Din pozitia initiala (axa epruvetei perpendiculara pe axa rolelor), epruveta se îndoaie la 90˚ într-un sens dupa care se aduce în pozitia initiala. Astfel, s-a realizat prima îndoire. În continuare se îndoaie epruveta la 90˚ în sens opus primei îndoiri si se aduce la pozitia initiala. Se continua îndoirile alternante pâna la ruperea epruvetei. Numarul de îndoiri se noteaza în tabelul 1. În acelasi mod se procedeaza si cu celelalte epruvete.
Tab. 1
|
Nr. epruv. |
Numarul de îndoiri |
5. Prelucrarea rezultatelor si concluzii Se studiaza suprafata întinsa a zonei îndoite a epruvetelor în cazul utilizarii dispozitivului cu role si se stabileste, pentru fiecare epruveta, daca directia de laminare a fost perpendiculara pe directia de îndoire sau paralela cu aceasta. Dupa realizarea încercarii la îndoire alternanta se calculeaza media numarului de îndoiri la care rezista epruvetele din otel, respectiv din aliaj de aluminiu, pâna la rupere si rezultatele obtinute se noteaza în tabelul 1. Concluziile se vor referi la capacitatea de deformare a tablelor din otel comparativ cu cea a tablelor din aliaje de aluminiu. Document InfoAccesari: 6508 Apreciat: Comenteaza documentul:Nu esti inregistratTrebuie sa fii utilizator inregistrat pentru a putea comenta Creaza cont nou A fost util?Daca documentul a fost util si crezi ca meritasa adaugi un link catre el la tine in site in pagina web a site-ului tau.
Copyright © Contact (SCRIGROUP Int. 2025 ) |