INCERCAREA LA TRACTIUNE A METALELOR
I. CONSIDERATII TEORETICE ASUPRA LUCRARII
Prin definitie,numim încercare statica a unui material,aceea la care soli-citarea exterioara ,, forta sau cuplu" se aplica epruvetei lent,progresiv,începând de la zero pana la valoarea finala,in general pana la rupere. Se considera ca forta se aplica lent in cazul când viteza de încercare nu depaseste ..

Încercarea la tractiune a metalelor este încercarea la care sunt supuse epruvetele,prin aplicarea in sensul axului longitudinal a unei sarcini progresive de tractiune.
Prin încercarea la tractiune se determina o serie de caracteristici mecanice,pe care le vom defini mai jos si care permit a se face o apreciere asupra comportarii materialului in solicitarile la care va fi supus in timpul solicitarii sale.
Pentru un
material supus la întindere,se poate face reprezentare grafica a relatiei
ce exista intre eforturile de limitare normale,,
,, ce apar in piesa si deformatiile specifice ,,
,,.Aceasta relatie este reprezentata prin curba caracteristica a
materialului ,care,pentru otel,are forma din figura 1.
Pe acesta curba vom distinge mai multe puncte importante :
Limita de proportionalitate
Limita de proportionalitate (punctul P)
notata cu ,,
,,este valoarea lui,,
,,pana la care este valabila legea lui Hooke:
![]()
Dupa aceasta limita ,cresterea deformatiei nu mai este proportionala cu cresterea efortului unitar.
Ea se calculeaza din relatia :
unde
este forta la limita de proportionalitate ;
aria initiala a sectiunii
epruvetei.
Coeficientul
de proportionalitate E,care leaga efortul unitar
, de lungime specificata
,se nu numeste modul de elasticitate
(longitudinal).Pentru otel , valoarea sa este in jurul a 2,1 x 10
.
2 Limita de elasticitate
Limita de
elasticitate (punctul E) notat cu
, este valoarea efortului unitar pana la care materialul
romane perfect elastic ,adica
dupa anularea efortului de întindere ,revine exact la lungimea
initiala ,deci nu are deformatii permanente .Experientele nu
arata ca in realitate materiale perfect elastice nu exista si ca in totdeauna
corpul ,dupa ce a fost întins , romane cu o deformatie permanenta. S-a ales , in mod conventional
valoarea deformatiei permanente ,care sa defineasca limita de
elasticitate ,acesta corespunzând unei deformatii permanente de 0.25%,
obtinuta dupa descarcarea epruvetei .
3 Limita de curgere
Limita de
curgere sau limita deformatiilor mari , (punctul C) notata cu
, este valoarea efortului unic la care epruveta se
deformeaza fata ca sarcina sa mai creasca .Pentru unele materiale ,
acest lucru nu poate fi observat la
aparatul indicator al masinii de încercat ; atunci se determina limita de curgere ,in mod
conventional ,pe baza
deformatiei permanente de 0,26 ,
obtinuta dupa descarcarea epruvetei ; in acel caz ea se
noteaza
.
4 Rezistenta de rupere
Rezistenta
de rupere (punctul R)
,este efortul unitar corespunzator valorii maxime a sarcinii.
Ea este egala cu :

Unde :
- este forta maxima înregistrata la încercare ;
- este aria sectiunii initiale a epruvetei
5 Lungimea specifica la rupere
Punctul unde se produce ruperea (S) este
punctul caruia ii corespunde lungimea
specifica la rupere
.Acesta este raportul intre cresterea lungimii epruvetei
intre repere , dupa rupere (
) si lungimea initiala

Adesea
lungimea specifica la rupere se da in procente notându-se cu ![]()

De
asemenea in urma ruperii se poate determina gâtuirea la rupere , care este
raportul dintre micsorarea suprafetei sectiunii transversale a
epruvetei dupa rupere
si suprafata initiala
. Ea se exprima tot in procente :

Atragem atentia ca efortul unitar in ori ce punct a diagramei se calculeaza
ca raportul dintre forta P corespunzatoare punctului respectiv si sectiunea
initiala,chiar daca sectiunea transversala a epruvetei s-a micsorat
in cursul încercarii din cauza contractiei
transversale. Se foloseste deci
relatia :
.
Din
aceasta cauza,curba caracteristica pe care o obtinem este o curba conventionala
(fig.2),care pe prima portiune
coincide cu cea reala
(rezultata din raportul dintre forta P si suprafata
contractata A'),dar regiunea de rupere se departeaza tot mai mult de cea reala. A trasa
caracteristica reala ar însemna sa masuram mereu sectiunea
epruvetei,deci sa complicam inutil încercarea. Ceea ce ne intereseaza
practic din curba caracteristica,este,in special,partea pana la limita de
curgere,unde cele doua curbe coincide.
II. MASINI SI APARATE UTILIZATE
a) Sa reprezinte o centrare perfecta a epruvetei ,astfel ca aplicarea sa se faca axial .
b) Sa asigure o crestere , respectiv descrestere a sarcinii lipsita de socuri.
c) Sa masoare
sarcina aplicata cu o precizie de ![]()
d) Sa
permita mentinerea sarcinii prescrise timp de minimum 30 de secunde
La o masina de încercat materialele, vom distinge urmatoarele parti caracteristice, conform figurii 3
a) Masina de încercat propriu-zisa cu dispozitiv de fixare a epruvetelor Ea se compune din :cadru fix 1,prins in fundita masinii ,cadrul mobil 2,având in partea inferioara fiind legat de cadrul 1 prin cutia de masurat 14, bara 4 , legata de falca superioara 5 , primeste forta de întindere de la epruveta si o transmite prin pistonul 6 la cutia de masurat14.
Cel mai rapid sistem de prindere este cel cu pene din figura4.
Epruveta E este strânsa intre penele P, care se gasesc in falcile masinii de încercat si care sunt prevazute cu dintisori spre a evita lunecarea . In cazul epruvetelor cu cat se foloseste sistemul de prindere cu doua inele ca in figura 5 .
Functionarea. Când electromotorul actioneaza melcul 7,aceasta angreneaza
roata melcata 8,care se roteste. Din aceasta
cauza,surubul 9 care este împiedicat sa se
roteasca,primeste o miscare de translatie în jos, astfel
ca falca 11 va coborî. În felul acesta, ea va solicita la întindere epruveta ce se gaseste între falcile 5 si 11. Prin falca 5
,bara 4,cadrul 2,forta este transmisa la pistonul 6,care prin
intermediul cutiei de masurat,
indica la manometru forta ce actioneaza asupra
epruvetei.
In cazul incercariii de compresiune , epruveta se aseaza intre placile 12 si 13. Se observa ca acum prin coborârea cadrului 1, epruveta este comprimata . Forta se transmite prin masa 3, si de aici la fel ca înainte.
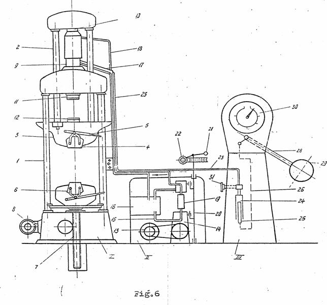
2. Masina universala de 30 tone , cu actionare hidraulica
Masina universala de 30 tone , cu actionare hidraulica este compusa din :

a) Masina de încercat propriu-zisa cu dispozitivul de fixare a epruvetelor ( I ),este format din : cadrul fix 1,prins cu batiul masinii si cadrul mobil 2, , care are la partea inferioara masa 3, pentru încercarea la încovoiere si fala inferioara 4,ce poate fi actionata de mânerul 5,Fala inferioara 6, se ridica sau cobora înainte de fixarea epruvetei ,in functie de asezarea acesteia cu ajutorul surubului 6, actionat de electromagnetul 8 forta se aplica asupra epruvetei , care pentru întindere se prinde intre falcile 4 si 6, introducând cilindrul 9 uleiul cu ajutorul unei pompe : uleiul apasa asupra pistonului 10 care prin cadrul 2 supune epruveta la întindere. Pentru compresiune .epruveta se fixeaza intre falcile 11 si 12.
a) Pompa de ulei ( II )este formata din electromotorul 13care antreneaza pompa cu 12 pistonase 14, Aceasta se alimenteaza prin conducta 15, din rezervorul 16, si trimite prin conducta 17,uleiul in cilindru 9 al masinii de încercat . Uleiul care scapa pe inga pistonul 10 se întoarce in rezervorul 16, prin conducta 18. Dupa efectuarea unei încercari , uleiul este readus din cilindrul 9 in rezervorul de ulei 16, prin ventilul 19, Atât ventilul 19 cat si debitul pompei sunt comandate prin axul 20 , care poate fi rotit fie prin minerul 21 (grosier), fie prin melcul 22 (reglaj fin).
c) Mecanismul de masurat al sarcinii ( III ) este actionat hidraulic, prin conducta 23 , ce pune in legatura cilindrul 9 cu cilindrul fix 24, in care se misca pistonul mobil 25.Pistonul mobil actioneaza prin sistemul de bare 26, pârghia 28, având la capat greutatea 29. In functie de deplasarea pârghiei se citeste pe cadranul 30
.forta cea actioneaza asupra epruvetei. Prin schimbarea greutatii 29,se pot realiza trei scari diferite, cea ce permite marime preciziei citirea pentru sarcini mici . Cele trei scari sunt:
Greutatea A corespunde scarii 0-5000Kg
Greutatile A+B corespund sacrii 0-15000Kg
Greutatile A+B+C corespund scarii 0-30000Kg
Dispozitivul 31 este un amortizor.
Functionarea. Se introduce epruveta de încercat la întindere în falca superioara 4 si se strânge prin apasarea mânerului 5. Se deplaseaza apoi falca inferioara 6 cu ajutorul electromotorului 8,pâna ce, între cele doua falci, este o distanta corespunzatoare lungimii epruvetei; apoi se prinde epruveta si în falca inferioara. Daca exista vreo indicatie asupra marimii sarcinii de rupere, se aseaza greutati pe pârghia 28,astfel ca precizia citirii sa fie cât mai buna. Se porneste apoi electromotorul 13 si se regleaza vi5teza de deplasare a falcii superioare,respectiv se regleaza debitul pompei, prin rotirea mânerelor 21 si 22. Dupa ruperea epruvetei, uleiul care a intrat în cilindrul 9 este readus în rezervorul 16, actionându-se ventilul 19 cu mânerul 21.
3) Dispozitive de masurare a deformatiilor
Pentru
masurarea deformatiilor epruvetei, se utilizeaza un dispozitiv,
reprezentat schematic în figura 7. Pe epruveta E se prinde dispozitivul, care
are ghearele de prindere 1 si 2 o deschidere
o,egala cu lungimea între repere. Când epruveta este supusa
la întindere ea se deformeaza, deci ghearele 1 si 2 se
îndeparteaza. Deformatia se poate citi pe un vernier gradat cu
precizie de
mm. Acest dispozitiv masoara numai deformatii
relativ mari, ce se produc dupa aparitia curgerii. Pentru
deformatiile mici, din zona de proportionalitate,se folosesc
tensometre. Distanta între repere se potriveste înainte de începerea
lucrarii, cu ajutorul unei epruvete calibrate sau al unei rigle gradate.
III. MATERIALE UTILIZATE sI FORMELE EPRUVETELOR
Încercarea se executa pe epruvete de otel.
Epruvetele întrebuintate la încercarile de tractiune sunt standardizate dupa STAS 200-52 si ele pot avea sectiunea circulara, patrata sau dreptunghiulara (în acest din urma caz se recomanda ca raportul între laturile dreptunghiului sa nu depaseasca valoarea4).
În laturile 8 si 9 sunt desenele epruvetelor standardizate. Înainte de începerea lucrarii, se fac pe epruveta doua semne, A si B, pe care le numim repere.
Toate dimensiunile indicate în figurile de mai sus sunt date în tabela 1. aceste dimensiuni reprezinta:
o - lungimea initiala a epruvetei între repere;
c - lungimea calibrata a epruvetei;
t - lungimea totala a epruvetei;
do - diametrul initial al epruvetei de sectiune circulara pe lungimea calibrata;
o - sectiunea initiala a epruvetei, pe
lungimea calibrata;
r - raza de racordare la capul epruvetei;
ao si bo - laturile sectiunii dreptunghiulare la epruveta plata, pe lungimea calibrata.
|
Forma epruvetei |
Lungimea de incercare calibrata |
Lungimea initiala intre repere |
Diametrul x) |
Sectiunea initiala |
Simbolul pentru lungimea specifica la rupere |
||
|
|
Lunga |
|
|
|
|
|
|
|
Scurta |
5 |
|
|||||
|
|
Lunga |
|
10 |
La alegere |
|
||
|
Scurta |
5 |
|
|||||
|
|
|||||||
|
x) ceea a sectiunii dreptunghiulare ,patrate etc.. |
|||||||
Dimensiunile capetelor epruvetei nu se precizeaza, ele urmând a corespunde dispozitivului de fixare în masina de încercat, astfel ca aceasta fixare sa se faca în bune conditii. Prelucrarea epruvetelor se face, prin aschiere fina, ca sa se evite orice modificare structurala a materialului.
În cazul barelor rotunde, laminate, conform STAS 500-49,pâna la diametrul de 25 mm,ele se pot încerca în stare bruta, fara a confectiona epruvete strunjite.
IV MODUL DE LUCRU
3) Dupa terminarea lucrarii
a) Se citeste pe ecranul manometrului forta maxima atinsa la încercarea ,
corespunzatoare punctului R.
b) Se scoate epruveta din falcile masinii, se aseaza pe masa, cap la cap, cele doua
bucati si se masoara lungimea intre repere
(
).Cu ajutorul acesteia , se
calculeaza
lungimea specifica la rupere (
).
c) Pentru calculul gâtuirii, este necesara masurarea sectiunii de rupere a pasei.
La epruvetele de sectiune circulara se masoara diametrul minim dupa rupere , luând media aritmetica a doua diametre perpendiculare. ( fig.10) :
![]()
Iar sectiunea de rupere este :

Fig. 10 fig. 11
La epruvetele cu sectiune patrata sau dreptunghiulara , ale caror sectiunii de rupere nu au muchiile drepte ,suprafata sectiunii de se va calcula prin înmultirea dimensiunilor minime a si b (fig. 11)

V REZULTATELE LUCRARII
Caracteristicile mecanice ale materialului încercat se determina pentru fiecare epruveta întocmind tabela 2,dupa modelul urmator :
Pentru calculul se vor utiliza formulele (1) si (9)
|
Epruveta nr. |
Diametrul sau dimensiunile sectiunii initiale, mm |
Sectiunea initiala |
Lungimea initiala intre repere |
Functia limita de curgere |
Forta de rupere |
Limita de curgere |
Rezistenta de rupere |
Lungimea la rupere intre repere |
Lungimea specifica la rupere |
Diametrul sau dimensiunile sectiunii de rupere ,mm |
Suprafata specifica la rupere |
Gâtuirea la rupere |
|
|
|
|
|
|
|
|
|
|
|
|
|
|
|
|
|
|
|
|
|
|
|
|
|
|
|
|
2) Trasarea curbei caracteristice
Pentru una din epruvete , se va trasa prin puncte curba caracteristica. Pentru aceasta,dupa cum sa aratase aplica asupra epruvetei diferite sarcini si se masoara deformatiile corespunzatoare.
Pentru obtinerea punctelor , se procedeaza astfel :cunoscând forta P aplicata,se calculeaza efortul unitar corespunzator , cu formula :

Apoi cunoscând lungimea variabila l intre repere se calculeaza lungimea specifica

Aceste rezultate se trec in tabela 3
Nr.citirii
Forta de
întindere
P
Kg
Efortul
unitar
![]()
Kg/![]()
Lungimea intre repere
l
mm
Lungimea specifica
2![]()
|
|
|
|
|
|
OBSERVATII,CONCLUZII
Studentul va trage concluzii asupra felului cum s-a produs ruperea,asupra mersului lucrarii, asupra curbei caracteristice,a ordinului de marime a erorilor,a posibilitatilor de eliminare a lor etc.
|