INSTALAŢII ELECTRICE
Definitii. Clasificari
Instalatia electrica defineste un ansamblu de echipamente electrice interconectate într-un spatiu dat, formând un singur tot si având un scop functional bine determinat.
n diversitatea cazurilor concrete, care pot fi luate în considerare, comun este faptul ca orice instalatie electrica presupune o serie de echipamente electrice, precum si interconexiunile dintre acestea, realizate prin diferite tipuri de conducte electrice.
Prin echipament electric se întelege, în general, orice dispozitiv întrebuintat pentru producerea, transformarea, distributia, transportul sau utilizarea energiei electrice. Aceasta ultima destinatie, reprezentând scopul final al întregului proces de producere, transport si distributie, defineste o categorie distincta de echipamente, denumite receptoare. Receptoarele electrice sunt dispozitive care transforma energia electrica în alta forma de energie utila.
Receptoarele electrice se împart în:
- receptoare de iluminat, cuprinzând corpurile de iluminat prevazute cu surse electrice de lumina;
- receptoare de forta, care pot fi electromecanice (motoare electrice, electromagneti, electroventile), electrotermice (cuptoare electrice, agregate de sudura) sau electrochimice (bai de electroliza).
Tipul receptoarelor electrice are o influenta majora asupra alcatuirii întregii instalatii din care acestea fac parte, determinând atât tipul si caracteristicile restului echipamentelor si conductele electrice, cât si tehnologia de executie.
n majoritatea cazurilor, receptoarele electrice nu sunt elemente izolate, ele fiind grupate pe utilaje cu destinatii tehnologice bine determinate. Ansamblul utilajelor si receptoarelor izolate care necesita alimentare cu energie electrica si concura la realizarea procesului de productie dintr-o hala sau întreprindere, face parte din echipamentul tehnologic al acestora.
Când se fac referiri la anumite instalatii concrete, prin echipamentul electric al acestora se întelege totalitatea masinilor, aparatelor, dispozitivelor si receptoarelor electrice atasate instalatiei respective (sau utilajului respectiv). n aceasta acceptiune, esential este faptul ca suma de aparate, masini sau alte dispozitive care intra în compunerea echipamentului, reprezinta un tot unitar, cu o functionalitate bine determinata.
n practica, notiunile de instalatie si echipament sunt strâns corelate. Astfel, un dispozitiv considerat ca echipament al unei instalatii, poate avea el însusi o instalatie electrica proprie si un echipament destul de complex si divers.
Instalatiile electrice se clasifica dupa diferite criterii, ca: rolul functional, pozitia în raport cu procesul energetic, locul de amplasare, nivelul tensiunii, frecventa si modul de protectie.
a. Dupa rolul functional, instalatiile electrice pot fi:
- de producere a energiei electrice, aferente diferitelor tipuri de centrale electrice sau unor grupuri electrogene;
- de transport a energiei electrice, incluzând linii electrice (racord, distribuitor, coloana si circuit);
- de distributie a energiei electrice - statii electrice, posturi de transformare si tablouri de distributie;
- de utilizare a energiei electrice, care la rândul lor se diferentiaza în raport cu tipul receptoarelor, în instalatii de forta si instalatii de iluminat;
- auxiliare, din care fac parte instalatiile cu functie de mentinere a calitatii energiei electrice (reducerea efectului deformant, compensarea regimului dezechilibrat, reglajul tensiunii), de asigurare a unei distributii economice a acesteia (compensarea puterii reactive), pentru protectia personalului împotriva electrocutarilor (legarea la pamânt, legarea la nul etc.), pentru protectia cladirilor si a bunurilor (instalatiile de paratrasnet, de avertizare de incendiu), precum si instalatiile de telecomunicatii.
b. Dupa pozitia ocupata în raport cu procesul energetic la care concura se deosebesc:
- instalatii de curenti tari, care cuprind elementele primare implicate în procesul de producere, transport, distributie si utilizare a energiei electrice;
- instalatii de curenti slabi, care desi nu sunt înseriate în circuitul fluxului energetic principal, concura la realizarea în conditii corespunzatoare a proceselor energetice. Din aceasta categorie fac parte instalatiile de automatizare, masura si control (AMC), de avertizare de incendii, de telecomunicatii etc.
n mod asemanator, instalatiile complexe se compun din circuite primare sau de forta si circuite secundare sau de comanda, cele doua parti diferentiindu-se functional ca si instalatiile de curenti tari, respectiv slabi.
c n raport cu locul de amplasare, se deosebesc urmatoarele categorii de instalatii:
- pe utilaj, un caz deosebit reprezentându-l amplasarea pe vehicule;
- în interiorul cladirilor, în diferite categorii de încaperi;
- în exterior, în diferite conditii de mediu.
d. Dupa nivelul tensiunii, instalatiile se clasifica în:
- instalatii de joasa tensiune (JT), a caror tensiune de lucru este sub 1 kV;
- instalatii de medie tensiune (MT), cu tensiuni de lucru în intervalul 1...20 kV;
- instalatii de înalta tensiune (IT), cu tensiuni de lucru între 35...110 kV;
- instalatii de foarte înalta tensiune, functionând la tensiuni mai mari sau egale cu 220 kV.
n practica, domeniile de valori corespunzatoare acestor divizari difera, în raport cu apartenenta instalatiei la o categorie functionala sau alta. Referindu-se la nivelul tensiunii, normativele în vigoare diferentiaza instalatiile în instalatii sub 1000 V (joasa tensiune) si peste 1000 V (înalta tensiune).
e. Dupa frecventa tensiunii, se deosebesc instalatii:
- de curent continuu;
- de curent alternativ. La rândul lor, acestea pot fi, în raport cu valoarea frecventei: de frecventa joasa (0,1...50 Hz), industriala (50 Hz), medie (100...10000 Hz), sau de înalta frecventa (peste 10000 Hz).
f. Din punct de vedere al modului de protectie, instalatiile pot fi:
- de tip deschis, fata de care persoanele sunt protejate numai împotriva atingerilor accidentale a partilor aflate sub tensiune;
- de tip închis,
la care elementele componente sunt protejate contra atingerilor,
patrunderii corpurilor straine peste
- de tip capsulat, la care elementele componente sunt protejate contra atingerilor, patrunderii corpurilor straine de orice dimensiuni, a stropilor de apa din toate directiile si contra deteriorarilor mecanice.
Compunerea instalatiilor electrice la consumatori
Consumatorul de energie electrica este alcatuit din totalitatea receptoarelor dintr-un anumit spatiu sau dintr-o întreprindere. Având în vedere corelatiile de natura tehnologica dintre diversele laturi ale procesului de productie, la care concura si instalatiile electrice, se poate afirma ca receptoarele electrice, care în ansamblu formeaza consumatorul, sunt legate printr-un scop functional.
Instalatiile electrice la consumator se compun din:
- retele electrice si puncte de alimentare (distributie);
- echipamente de conectare, protectie, AMC etc., adica restul echipamentelor electrice, în afara de receptoare.
Schema de distributie generalizata pentru instalatiile electrice la consumator este prezentata în figura 3.

Fig. 3. Compunerea instalatiilor electrice la consumator: SSE - statia sistemului energetic;
ST(SD) - statia de transformare (distributie); PT - post de transformare; TG - tablou general de distributie;
TD - tablou de distributie; TU - tablou de forta utilaj; mi - receptor înalta tensiune; mj - receptor joasa tensiune ;1 - racord înalta tensiune; 2 - distribuitor; 3 - coloana; 4 - circuit utilaj; 5 - circuit receptor.
Producerea energiei electrice reprezinta procesul de transformare a diferitelor forme de energie primara în energie electrica, în cadrul unor instalatii specializate de complexitate mare, denumite centrale electrice. Evolutia consumului de energie electrica a facut ca acestea sa fie tot mai mari, puterile lor instalate fiind limitate de restrictii tehnologice, economice, de mediu sau de securitate.
Cel mai raspândit procedeu de producere a energiei electrice necesita o sursa de caldura care sa asigure încalzirea apei în scopul obtinerii de vapori sub presiune. Acesti vapori, destinzându-se într-o turbina, antreneaza generatorul (de curent alternativ), care produce energie electrica. Dupa ce au efectuat lucrul mecanic necesar, vaporii sunt condensati cu ajutorul unei surse de frig, care este, în general, o sursa de apa rece (apa curgatoare, mare), în care se construiesc circuite de racire. În figura 4 este reprezentat ciclul de producere clasic a energiei electrice.
Fig.4 Ciclul de producere al energiei clasice
În cazul în care caldura rezultata la condensarea vaporilor, este recuperata si utilizata pentru încalzire, apare notiunea de cogenerare.
Sursa de caldura, este în mod clasic, rezultatul arderii combustibililor fosili (petrol, gaz, carbune), sau rezultatul fisiunii nucleare, în reactoare proiectate sa controleze amploarea acestei reactii.
În cazul unor surse regenerabile de energie, nu este necesara sursa de caldura pentru producerea energiei electrice. Este cazul energiei eoliene, hidraulice si solare fotovoltaice.
În cazul energiilor eoliana si hidraulica, turbina ce antreneaza generatorul electric, este antrenata la rândul ei de presiunea vântului sau a apei. Convertoarele statice de putere sunt în general utilizate pentru a asigura optimizarea conversiei energetice.
În figura 5 este reprezentata aceasta modalitate de conversie energetica
Fig.5. Modalitatea eoliana sau hidraulica de producere a energiei electrice
Presiunea vântului este rezultatul energiei sale cinetice. Presiunea apei este rezultatul energiei sale potentiale si cinetice.
În cazul generarii solare fotovoltaice, energia electrica este produsa direct, prin intermediul celulelor semiconductoare de siliciu, pe baza energiei continute de radiatia solara.
În figura 6 este reprezentata aceasta modalitate de conversie energetica:

Fig.6. Modalitatea solar fotovoltaic de producere a energiei electrice
Energia electrica se produce, practic în exclusivitate, în centrale electrice, care reprezinta un complex de instalatii care transforma o forma primara de energie în energie electrica.
Energiile primare se clasifica dupa cum urmeaza:
- existente direct în natura: apa, vânt, caldura (energia solara);
- legate chimic: carbune, lemn, turba, titei, gaze naturale, gaze de furnal, gaze de cocsificare;
- legate în atomi.
Schematic, procesul de transformare a energiei primare în energie electrica are loc ca în figura 7. Producerea energiei electrice prin transformarea directa a energiei primare (generatoare MHD generatoare termoionice, celule solare), nu se aplica pe scara larga în centralele electrice, fiind înca în faza de cercetare, prototipuri, experimentari.
Fig. 7 Procesul de producere a energiei electrice
In functie de sursa de energie primara, principalele tipuri de centrale electrice sunt: centralele termoelectrice, centralele hidroelectrice si centralele cu energie nucleara.
Centrale termoelectrice
In prezent, cea mai mare parte a energiei electrice produse în lume se obtine în centrale termoelectrice.
- centrale electrice de termoficare, cu producere combinata de energie electrica si termica.
Dupa tipul motorului termic, centralele termoelectrice sunt cu turbine cu abur, cu turbine cu gaz sau cu motoare cu ardere interna.
Pentru ca fluidul apa-abur, care lucreaza în circuit închis, sa produca lucru mecanic, este necesar ca, conform celui de-al doilea principiu al termodinamicii, el sa evolueze între doua surse cu temperaturi diferite: una calda (T1) si una rece (T 2).
In cazul centralelor termoelectrice sursa calda se gaseste în cazan, din care fluidul de lucru iese sub forma de abur supraîncalzit si la presiune ridicata, iar sursa rece în condensator, unde aburul destins în turbina este racit si se transforma în apa distilata.
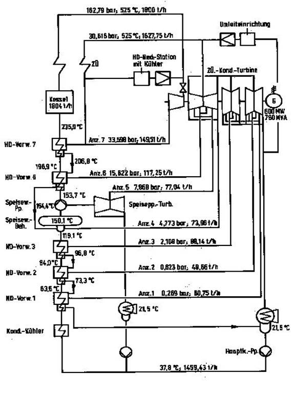
Schema de principiu a functionarii centralei termoelectrice cu condensatie este reprezentata în figura 9. Principalele circuite: ale unei centrale termoelectrice sunt:
-circuitul abur-apa: apa de alimentare se pompeaza, prin pompa de alimentare si preîncalzitorul de apa, în cazan, unde se supraîncalzeste prin caldura degajata de arderea combustibilului. Transmiterea caldurii se face prin suprafetele de încalzire, constând din tevi ale cazanului. Aburul care iese din cazan, la presiune mare si temperatura înalta, se destinde în turbina. Energia cinetica a aburului, rezultata în urma variatiei de volum, actioneaza asupra paletelor rotorului turbinei, punându-l în miscare de rotatie si transformându-se astfel în lucru mecanic. Dupa iesirea din turbina, aburul se condenseaza în condensator. Condensatul care rezulta este trimis înapoi în cazan, cu ajutorul pompelor de condens si de alimentare. Circuitul abur-apa este circuitul de baza al unei centrale termoelectrice cu turbine cu abur, el hotarând tipul si randamentul acestor centrale;
Fig.9 Diagrama apa-abur

Fig.10 Schema tehnologica a unei CTE reale
- circuitul apei de
racire poate fi deschis, închis sau mixt, dupa felul
si debitul disponibil al sursei de apa pentru racire. în cazul
unui circuit deschis, apa de racire se ia dintr-un râu, lac sau din mare
si se trece prin condensator unde absoarbe caldura eliberata
prin condensarea aburului destins în turbina. Apa de racire încalzita
se evacueaza înapoi în sursa, unde prin suprafata libera a
cursului de apa cedeaza mediului înconjurator cea mai mare parte din
caldura absorbita. Necesarul de apa de racire la o
termocentrala cu abur fiind foarte mare (0,2 ...0,4 m
/kWh), când nu se dispune de apa de racire
suficienta se adopta sistem ul de racire în circuit închis sau
mixt. La racirea în circuit închis, apa încalzita în condensator
si pusa în circulatie de catre pompele de circulatie, se
raceste în turnuri de racire;
- circuitul aer-gaze: aerul, luat din atmosfera pentru ardere, preia produsele de ardere gazificate. Gazele de ardere strabat apoi suprafetele de încalzire ale cazanului si sunt refulate în atmosfera;
- circuitul combustibil-cenusa: combustibilul se gazifica prin arderea sa în focarul cazanului, luând oxigenul din aer; energia chimica continuta în combustibil este transmisa gazului sub forma de caldura. În acelasi timp, corpurile incombustibile ramân sub forma de cenusa si zgura (in functie de natura combustibilului, ele pot reprezenta 1% dar pot ajunge si la 40 -50%);
- circuitul electric consta din înfasurarile generatoarelor racordate la bornele generatoarelor si schemele electrice de conexiuni ale centralei si ale serviciilor interne. Tensiunea la borne a generatoarelor este de 6 sau 10 kV. Serviciile interne necesita 7 -10% din puterea instalata, mari consumatori interni fiind pompele de alimentare.
Toate procesele de transformare care au loc în circuitele unei centrale electrice sunt însotite de pierderi. în figura 11 sunt prezentate simplificat, sub forma diagramei Sankey, procesele si etapele de transformare ale energiei intr-o centrala termoelectrica cu turbine cu abur.
Pentru cazul ideal al ciclului Carnot, randamentul termic maxim este:
![]()
unde: T 1 este temperatura sursei calde; T2 - temperatura sursei reci.
Valorile des întâlnite la centralele termoelectrice (T1=545°C=818 K; T2=15°C=288 K) definesc un randament termic ideal de 64,79%, dar în realitate randamentul este mai mic (30-40%) datorita pierderilor (fig. 11). Îmbunatatirea randamentului termic prin cresterea lui T 1 este limitata tehnologic de materialul turbinei (maximum 650°C=923 K), iar prin scaderea lui T 2 este practic nerealizabila, racirea apei sub temperatura mediului ambiant nefiind posibila.
Fig. 11 Diagrama Sankey - Randamentul si pierderile într-o centrala
O crestere a randamentului se poate obtine prin:
- preîncalzirea apei de alimentare, folosind caldura latenta de condensare a aburului care a lucrat partial în turbina si care este preluat de la 3-5 prize intermediare ale turbinei. În functie de presiunea apei de alimentare, preîncalzitoarele sunt de joasa presiune, situate înaintea pompei de alimentare (3 -5 trepte la centrale moderne) si de înalta presiune, situate dupa pompa de alimentare (1-3 trepte);
- supraîncalzirea intermediara a aburului în 1 -2 trepte. Pentru aceasta, dupa o prima destindere în corpul de înalta presiune al turbinei, aburul este readus în cazan si supraîncalzit din nou în supraîncalzitorul intermediar. Dupa aceea aburul trece în corpul de medie presiune a turbinei, iar apoi strabate în dublu flux corpurile de joasa presiune.
Cele mai importante centrale termoelectrice ale sistemului electroenergetic sunt: CTE Rovinari (1800 MW cu grupuri de 200 si 315 MW), CTE Craiova - Isalnita (1080 MW cu grupuri de 100 si 315 MW), CTE Deva-Mintia (800 MW cu grupuri de 200 MW), CTE Ludus (800 MW cu agregate de 100 si 200 MW).
O alta metoda de ameliorare a randamentului se poate considera si producerea combinata de energie electrica si termica. Acest lucru se realizeaza în centralele electrice de termoficare, care furnizeaza, în afara energiei electrice, energie termica (sub forma de abur sau apa calda) consumatorilor industrial sau urbani.
Consumatorii de caldura se împart în doua categorii dupa niveluI de temperatura pe care îl cer agentului termic si care corespunde deci presiunii prizei:
-
consumatori de caldura provenita din abur de joasa presiune
(0,7 -2)10
N/m2, cum
sunt consumatorii care folosesc termoficarea pentru încalzirea
urbana;
Livrarea caldurii la consumator se poate face cu ajutorul turbinelor cu contrapresiune (fig. 12.a) sau al turbinelor cu condensatie si prize reglabile de abur (fig. 12.b).
La centralele de termoficare cu turbine cu contrapresiune exista o stricta dependenta intre energia electrica livrata si debitul de abur furnizat. Din acest motiv aceste centrale implica functionarea interconectata cu sistem ul energetic. O independenta limitata intre energia electrica si debitul de caldura se poate obtine prin intercalarea unui acumulator de caldura intre iesirea din turbina si consumator, în cazul când consumatorul de caldura are nevoie de doua presiuni de abur, diferite intre ele, aceasta se poate obtine prin fo1osirea a doua turbine de contrapresiune distincte sau printr-un singur grup de contrapresiune si priza reglabila.
Functionarea centralelor de termoficare cu turbine cu condensatie si prize reglabile în sistemul energetic este independenta de cererea de abur a consumatorului, dar randamentul intern al turbinelor este mai coborât.
Daca
consumatorii industriali fo1osesc în principal abur, agentul termic pentru
termoficarea urbana poate fi aburul, apa calda (temperatura de ducere
maximum
Centrale hidroelectrice
Centralele hidroelectrice fo1osesc ca sursa primara energia hidraulica, potentiala si cinetica a caderilor de apa naturale sau artificiale, pentru producerea de energie electrica. Curentul de apa actioneaza o turbina hidraulica care, la rândul ei, antreneaza generatorul electric.
Puterea hidraulica Ph dezvo1tata de debitul de apa Q care curge intre doua puncte situate intre ele la o diferenta de nivel (o cadere) H este:
Ph = g Q H,
unde: Q : este debitul de apa prin turbina, kg/s; H - diferenta de nivel intre amonte si aval, m; g - acceleratia gravitationala, m/s2.
Unde: h este randamentul turbinei hidraulice, având valoarea cuprinsa intre 85 si 92%. Considerând randamentul generatorului intre 95 si 97,5% rezulta pentru o centrala hidroelectrica un randament global de peste 80 %.
Din analiza relatiei (2) rezulta ca pentru a produce aceeasi putere sunt necesare fie un debit mare si o cadere mica, fie o cadere mare si un debit mic. Din acest punct de vedere, schemele de amenajare a centralelor hidroelectrice se clasifica in:
-CHE fara acumulare, pe firul apei;
-CHE cu acumulare, instalate în derivatie cu cursul natural al apei.
-CHE fara acumulare (pe firul apei) sunt amplasate chiar în albia râului, în imediata apropiere a barajului. Au urmatoarele caracteristici:
- se construiesc pe cursuri de apa cu debite mari (amenajari fluviale);
- înaltimea de cadere a apei este data exclusiv de ridicarea de nivel realizata prin baraj, Variantele posibilitatilor de dispunere a centralelor hidroelectrice (fig. 13) sunt: în corpul barajului (centrala baraj), la piciorul barajului, la una din extremitatile barajului sau divizata în doua, jumatate la fiecare capat.
a. b.


c. d.
Fig. 13. Posibilitati de dispunere a CHE;
a. în baraj; b. în aval; c. în subteran; d. solutie combinata
Un exemplu, de acest gen, o constituie CHE Portile de Fier I construita în colaborare cu Iugoslavia, fiecare tara având o putere instalata de 6 x 178 MW = 1068 MW.
La centralele hidroelectrice cu acumulare (derivatie) apele râului sunt deviate pe un traseu care are o panta mai mica decât panta naturala a râului iar înaltimea totala a amenajarii este suma dintre înaltimea barajului si câstigul de înaltime obtinut pe traseul amenajat, prin:
- ridicarea nivelului amonte (fig. 13.b) prin baraj. Caderea totala se compune din diferenta de nivel Hmax la care se adauga ridicarea nivelului de apa prin baraj Hb;
- coborârea nivelului aval (fig. 13 c) prin amplasarea centralei subteran. Apa este readusa la suprafata printr-un tunel de fuga cu panta redusa.
-
combinarea celor doua solutii (fig. 13.d.) prin construirea unei
aductiuni si a unui castel de echilibru din care apa trece prin conducta
fortata catre sala masinilor subterana. O asemenea
schema mixta se întâlneste
Amenajarile hidroenergetice pot fi realizate:
- De-a lungul unui râu, când aductiunile se pot realiza de-a lungul vaii, sub forma unui
canal deschis sau a unei conducte de coasta care urmareste o
curba de nivel, sau în linie dreapta cu ajutorul unui tunel care
traverseaza relieful. Aceasta solutie s-a aplicat
- Prin trecerea apei dintr-un râu intr-un altul, apartinând aceluiasi bazin hidrografic. Solutia se aplica atunci când doua râuri confluente curg paralel. la mica apropiere iar intre vai exista o diferenta de nivel. Apa, al carui nivel a fost ridicat prin barare pe râul A, traverseaza printr-un tunel culmea despartitoare a vailor ajungând în castelul de echilibru plasat pe versantul vaii B si coboara printr-o conducta fortata sau printr-un put frotat în sala turbinelor amplasata în constructie supraterana sau subterana. O astfel de solutie s-a utilizat la amenajarea Lotrului (P=500 MW, H =809 m).
- Amenajari complexe cu
mai multe captari, care utilizeaza
afluenti ai râului principal de pe traseul aductiunii si debite
din alte bazine. Solutia s-a utilizat la amenajarea bazinului Lotru,
amenajare care aduna în lacul de acumulare Vidra de pe Lotru prin trei
colectoare cu o lungime totala de
- Amenajarea integrala a unui curs de apa prin cascade de hidrocentrale. Aceste cascade pot trimite apa direct dintr-o centrala în alta sau pot avea mici locuri intermediare care sa permita o independenta limitata a functionarii lor. Astfel de amenajare s-a realizat pe valea Bistritei, unde s-au construit 12 CHE cu o putere totala de 244 MW.
Instalatiile hidrotehnice ale unei centrale hidroelectrice sunt formate din: baraj, priza de apa, aductiune si cladirea centralei.
Barajele sunt foarte diferite ca mod de executie în functie de înaltime (baraje de mica si de mare înaltime), de realizare, de natura terenului de fundare si de conditiile tehnice si economice. Barajele se executa mai ales din beton sau din beton armat. Ele sunt prevazute cu zone de deversare, vane de evacuare a apelor, deschideri de fund pentru spalarea aluviunilor, jgheaburi pentru trecerea pestilor, iar în cazul râurilor navigabile, cu ecluze.
Priza de apa serveste pentru trecerea apei din lac sau din râu în elementul, de aductiune si asigura retinerea corpurilor plutitoare si a aluviunilor.
Aductiunea apei cuprinde trei elemente distincte: canalul de aductiune (deschis sau tunel), castelul de echilibru sau camera de apa si conducta fortata.
Castelul de echilibru este un organ de distribuire a apei si de amortizare a oscilatiilor hidraulice (lovitura de berbec) provocate de închiderea sau deschiderea vanelor de la sfârsitul conductei fortate.
Conductele fortate leaga castelul de echilibru cu turbinele. sunt construite foarte solid pentru a rezista socurilor hidraulice si sunt prevazute, la capatul dinspre castelul de echilibru, cu vane speciale cu închidere rapida.
Cladirea centralei adaposteste turbinele si generatoarele.
Turbinele folosite în centralele hidroelectrice sunt sau cu actiune (tip Pelton) sau cu reactiune (Francis si elicoidale - Kaplan).
Dupa modul de actionare si caderea de apa , turbinele se pot alege astfel:
Kaplan pentru caderi
axiale folosite între 5-
Francis pentru
actionari radiale folosite între 35-
Pelton pentru caderi
tangentiale folosite între 350-
a.
b.

c.
Fig. 14. Turbine hidraulice
a. Kaplan, b. Francis, c. Pelton
Alegerea tipului de turbina se face în functie de înaltimea de cadere si de puterea necesara. Astfel în cazul caderilor mari si debitelor reduse se folosesc turbinele cu actiune Pelton, cu ax vertical sau orizontal si cu unul sau mai multe injectoare. La debite si caderi medii se utilizeaza turbinele Francis, cu ax vertical si paletele statorului reglabile. În cazul debitelor mari si caderilor de apa mici se recomanda folosirea turbinelor Kaplan cu paletele statorului si rotorului reglabile.
Turbinele hidraulice functionând în domeniul turatiilor scazute (72-150 rot/min) sau mijlocii (250 -750 rot/min), antreneaza generatoare cu mai multe perechi de poli, de constructie cu poli aparenti, racite cu aer.
Centralele hidroelectrice lucreaza de regula în paralel cu centralele termoelectrice realizându-se astfel o folosire rationala a combustibilului, echipamentelor si energiei resurselor hidraulice.
Aceste amenajari au capatat o mai mare raspândire, in special, dupa aparitia centralelor nuclearo-electrice, a caror functionare este putin elastica si care produc energie electrica, cu atât mai ieftina cu cat durata de utilizare a puterii instalate este mai mare.
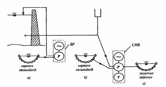
Amenajarile cu acumulare prin pompare trebuie sa dispuna de doua rezervoare intre care trebuie sa existe o diferenta de nivel, preferabil cat mai mare, pentru a reduce volumul de apa necesar a fi acumulat. Caderea, in cele mai multe cazuri, este realizata de catre o aductiune (fig.15).
AHEAP sunt in general cuplate cu o amenajare hidroelectrica clasica, care constituie si amenajarea principala.
Se întâlnesc urmatoarele cazuri de realizare a pompajului:
a) Pomparea apei din captari secundare, din apropierea lacului de acumulare, situate la o cota inferioara nivelului apei din lacul de acumulare. Apa acestor captari este introdusa in lacul de acumulare prin conducte sau galerii proprii, de grupuri de pompare amplasate intr-o statie de pompare separata de cladirea centralei hidroelectrice;
b) Pomparea apei din captari secundare situate in apropierea centralei hidroelectrice. Apa se introduce in lac prin aductiunea principala a amenajarii, grupul de pompare fiind amplasat, in cladirea centralei hidroelectrice;
c) Apa este pompata dintr-un rezervor inferior, sau din râul situat in aval de centrala, grupul de pompare fiind de asemenea amplasat in cladirea centralei hidroelectrice.
Amenajarile hidroelectrice cu acumulare prin pompare se pot clasifica pe baza urmatoarelor criterii:

Fig. 15. Schema principiala a unei amenajari cu acumulare prin pompare
1) Modul de folosire a volumului de apa pompat:
-AHEAP in circuit deschis, la care volumul de apa pompat din captarile secundare din apropierea lacului de acumulare este turbinat o singura data;
-AHEAP in circuit închis care recircula acelasi volum de apa. O asemenea amenajare primeste din exterior numai o cantitate limitata de apa, necesara pentru acoperirea pierderilor prin neetanseitatii si evaporare;
2) Durata ciclului de pompare - turbinare:
-AHEAP cu ciclu zilnic, la care pomparea se face în orele de sarcina minima iar turbinarea în orele de vârf din fiecare zi;
-AHEAP cu ciclu saptamânal la care pomparea se face si în orele de sarcina scazuta din zilele de repaus, pe lânga pomparea din orele de sarcina minima din fiecare zi;
-AHEAP cu ciclu sezonier. Pomparea are loc in perioada de debite mari a anului, când exista un disponibil de energie electrica produsa de amenajarile hidroelectrice pe firul apei. Volumele de apa acumulate astfel sunt turbinate, in special, iarna.
3) Tipul de grupuri utilizat:
-AHEAP cu grupuri independente de turbinare si pompare. Pompa este antrenata de un motor electric, iar generatorul de o turbina hidraulica;
-AHEAP cu grupuri alcatuite din trei masini montate pe acelasi ax: turbina, pompa si masina electrica care poate functiona în regim de generator, motor sau compensator sincron;
-AHEAP cu grupuri binare. Ambele masini atât cea electrica cat si cea hidraulica sunt reversibile. La masina hidraulica trecerea de la regimul de turbina la cel de pompa se realizeaza prin modificarea unghiului pale lor statorului si rotorului.
Realizarea unei amenajari hidroelectrice cu acumulare prin pompare se justifica, din punct de vedere economic, numai daca cheltuielile anuale totale, ocazionate de realizarea si functionarea ei, sunt mai mici decât diferenta dintre pretul energiei electrice produse si livrate sistemului
Centrale nuclearo-electrice
Centralele nucleare-electrice (CNE) folosesc ca sursa primara de energie, energia degajata sub forma de caldura în reactiile de fisiune nucleara care au loc în reactoare nucleare. Fenomenul de fisiune nucleara este produs de actiunea neutronilor asupra nucleelor unor izotopi ai elementelor grele. Izotopii fisionabili sunt U235, U233 si PU239 dintre care U235 se gaseste în stare naturala iar U233 si PU239 se produc în reactor din materialele fertile: toriu (Th232) si respectiv izotopul de uraniu U238.

Fig. 16. Fisiunea nucleara în reactor
In reactoare se folosesc, drept combustibil nuclear, urmatoarele materiale: uraniul natural (contine 0,71% U235 si în rest U238) si uraniul îmbogatit (contine 1,5-4 % U235), care sunt introduse sub forma usor elemente de combustibil sau ansambluri de elemente de combustibil.
In functie de nivelul energiei neutronilor reactoarele se clasifica în reactoare termice, în care energia cinetica a neutronilor este coborâta de moderator la nivelul necesar pentru a avea sectiunea de absorbtie maxima a materialului fisionabil, si reactoare rapide, care lucreaza fara moderator, cu energia neutronilor la nivelul de producere.
a
b.
Fig. 17 CNE - a. schema bloc; b. schema reala
In functie de organizarea zonei active se folosesc, aproape în exclusivitate, reactoare eterogene la care combustibilul nu se amesteca cu moderatorul si agentul de racire.
Un reactor nuclear consta, în general, din urmatoarele elemente: barele de combustibil nuclear; moderatorul, cu rolul de a reduce viteza.
În fig. 17 este prezentat reactorul. Ciocnirea unui neutron lent cu un atom de U235, duce la fisiunea nucleului. Rezulta neutroni eliberarea de neutroni rapizi care sunt încetiniti prin moderator si astfel la rândul lor devin lenti si reactia continua în lant. Pentru mentinerea reactiei este necesar ca la trecerea prin moderator neutronii sa fie frânati la o anumita viteza. Daca toti electronii liberi ar fi folositi la o noua fisiune atunci reactia în lant ar creste necontrolabil. Acest fenomen este controlat prin bare de control din Cd, Carbid de Bor introduse între tevile cu combustibil care absorb o parte sau pe toti neutronii liberi.
Ca moderator se folosesc grafitul, apa (H2O) sau apa grea (D2O); reflectorul, format din aceleasi substante ca si moderatorul, are rolul de a micsora pierderile de neutroni în mediul înconjurator; barele de control cu ajutorul carora se realizeaza reglarea reactiei în lant. Sunt confectionate din materiale cu o mare putere de absorbtie a neutronilor (cadmiu sau bor); canalele de racire sunt parcurse de agentul de racire care evacueaza caldura rezultata din reactiile nucleare din reactor.
Ca agent de racire pot fi folosite gaze (aer, bioxid de carbon, heliu, azot), lichide (apa, apa grea) sau metale topite (sodiu, amestec de sodiu si potasiu, plumb, bismut) care trebuie sa aiba si proprietati de bun agent termic; învelisul pentru protectia biologica împotriva radiatiilor care acopera întregul reactor si poate fi construit din beton, fonta sau apa obisnuita.
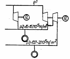
Schemele termice ale centralelor nuclear-electrice pot fi:
- scheme directe, cu un singur circuit, în care fluidul de racire constituie fluidul de lucru în ciclul termic;
- scheme indirecte, cu doua sau trei circuite, în care caldura agentului de racire se transmite prin schimbatoare de caldura de suprafata unui fluid intermediar sau fluidului de lucru. în figura 9 se prezinta schema termica a unei centrale nuclear electrice cu doua circuite.
Energia
termica degajata în reactorul nuclear în urma reactiei în
lant încalzeste apa care circula în conturul primar
(reactor-schimbator de caldura), pâna la temperatura de
255-
N/m2. Pentru
ca apa din conturul primar sa nu fiarba, circulatia apei are loc
la o presiune de peste 10
N/m2. în acest
contur apa devine radioactiva, ceea ce impune masuri pentru a asigura
protectia personalului. în acest scop utilajele din acest contur sunt
dispuse în încaperi subterane prevazute cu învelis pentru
protectia biologica. Fluidul din conturul secundar nu devine
radioactiv.
Începând cu conturul secundar, procesul de producere a energiei electrice este similar celui din centralele termoelectrice.
Costul energiei electrice obtinute de la centralele cu energie nucleara este înca destul de ridicat datorita investitiilor mari.
În anul 1990, 18 % din energia electrica produsa în România era obtinuta în centrale nuclear-electrice.
|