Identificarea traductoarelor termice
Ue=St(θ-θa) 15
si care reprezinta caracteristica statica a termocuplului.
θa -
-temperatura punctului de sudura
St -sensibilitatea termocuplului
Traductoarele termoelectrice se utilizeaza pentru masurarea
|
Termocuplul |
Simbol |
Polaritate |
Limita de utilizare |
Umax |
||
|
Minima |
Maxima |
|||||
|
Continuu |
Intermitent |
|||||
|
Fe-constantan |
J |
Fe+;con- |
|
|
|
|
|
Cu-constantan |
T |
Cu+;con- |
|
|
|
|
|
Cromel-constantan |
E |
Cromel+ Const_ |
|
|
|
|
|
Cromel(NiCr)-alumel(Ni ) |
K |
Cromel+ Alumel- |
|
|
|
|
|
PtRh(10%)-Pt |
S |
PtRh+;Pt- |
|
|
|
|
|
PtRh(13%)-Pt |
R |
PtRh+;Pt- |
|
|
|
|
Termocuplurile pentru temperaturi foarte mari se construiesc pe baza de wolfam, rhodiu si platina. Traductoarele termoelectrice se caracterizeaza prin robustete, timp de raspuns de ordinal secundelor, precizia fiind limitata la valoarea 1-3 %.
Traductoarele termorezistive (termorezistente
si termistoare) -rezistoare din materiale conductoare (metale) sau
semiconductoare care prezinta un coeficient mare si stabil de variatie a
rezistivitatii cu temperatura. Marimea fizica de intrare pentru un traductor
termorezistiv e temperatura care produce variatia rezistentei traductorului
prin intermediul modificarii rezistivitatii. Rezistenta
Pentru traductoare termorezistive se utilizeaza: platina, cuprul si nichelul. Termorezistentele depind de temperatura dupa o lege care se exprima cu o buna aproximatie: R=R0(1+αθ+βθ2). Ro -rezistentatraductorului la 0 OC.
|
Material |
Gama de temp. |
α[1/oC] |
β[1/oC] |
|
Platina |
|
|
|
|
Nichel |
|
|
|
|
Cupru |
|
|
|
Termorezistemta cu platina - cea mai precisa si are cea mai liniara caracteristica, ea realizandu-se cu o R de 100 kΩ la 0oC. Nichel - cea mai rara pentru ca are caracteristica cea mai neliniara. Termorezistenta de Cu se face cu 10,25, 100Ω la 0oC. Traductoarele termorezistive sunt realizate sub forma de fir sau pelicula dispusa pe un suport .
Nu sunt recomandate in regim de masurare dinamic. Pentru cele realizate din materiale semiconductoare (termistoare)
R=Roe(b/T-bo/To)
Ro -rezistenta termistoruluila temperatura absoluta To; b -
-la
termistoare -neliniaritati pronuntate,
i=ioek(θ-θa)
i- curentul invers prin jonctiune la θ; io curentul invers prin jonct. la θa ;
k - ct. de material.
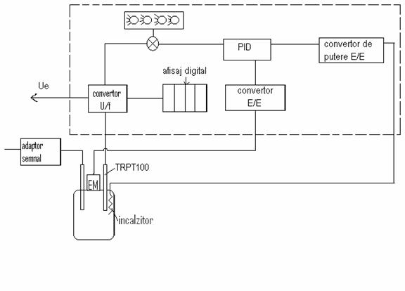
Ansamblul de lucru:
- Regulator de temperature digital RPID1772
- termostat;
- adaptor de masura;
- sistem de inregistrare.
Schema de montaj:

Ta =19,8
Δy=15,2/23 = 0,66 oC/cm =
ΔU5,2*3=15,6 mV
A(19,8 oC , -3,6 mV);
B(35 oC , 15,6 mV);
mAB =(35-19,8)/(15,6+3,6)=15,2/19,2=0,791
y-yo =m(x-xo)
y=-3,6+0,791 *x-0,791*19,8
y=0,791*x-19,26
U=St(θ-θa)
Y=0,791(x-24,35)
St=0,791
|