Instructiuni de instalare si utilizare
|
|

Amplasarea acestor boilere trebuie facuta intr-o camera protejata la
inghet.
Boilerele cu strat emailat in vid este indicat pentru apa potabila normala. La instalatiile de amestec separarea electrica se face conform regulilor tehnice. Toate racordurile care nu sunt necesare trebuie blocate in mod corespunzator.
Observati reglarile la nivel local si normele conforme. Pe conducta de alimentare cu apa rece se amplaseaza dispozitivele de siguranta conform prescriptiilor locale. Facilitatile de siguranta ale elementului verificat sunt cumva evidente din schema ilustrata a instalarii livrarii apei reci in concordanta cu reglarile locale.
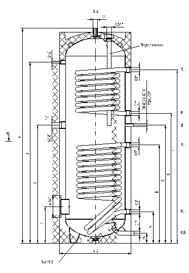
Supapa de
siguranta trebuie sa aiba un diametru de
racord de DN 15
(boilere pana la 200 litri), respectiv de DN 20 (boilere peste 200 litri). De
notat ca insemnul trebuie sa fie atasat cu urmatorul tabel la supapa de
siguranta sau la linia de suflat a extremitatii: "In timpul incalzirii
puteti lasa linia de suflat a extremitatii deschisa! Nu inchideti "!
Nu depasiti presiunea de lucru de 10 bari, inscrisa pe placuta de tip.
La instalarea conectarii se ofera un dispozitiv de golire in alimentarea cu apa rece.
|
Tip |
Dimensiunea in mm |
|||||||||||||||
|
|
H |
Ø D |
A |
B |
C |
E |
F |
G |
I |
J |
K |
L |
M |
N |
Anod |
Dimensiune Inclinata mm |
|
300 ERMR |
|
|
|
|
|
|
|
|
|
|
|
|
|
|
ø33 x 700 |
|
|
400 ERMR |
|
|
|
|
|
|
|
|
|
|
|
|
|
|
ø33 x 750 |
|
|
500 ERMR |
|
|
|
|
|
|
|
|
|
|
|
|
|
|
ø33 x 850 |
|
Vezi pe spate schema de conectare hidraulica
Instructiuni de instalare si operare Conectare conforma cu DIN 1988)
|
|
Inainte de a pune in operare, va rugam sa verificati daca livrarea apei reci este deschisa si rezervorul de apa fierbinte este umplut cu apa.
Rezervorul de apa fierbinte
fara cerinte de mentenanta particulare; oricum este recomandat sa verifice centrala o data la doi ani. Curatarea poate fi efectuata in conectarea cu lucrul mentionat in itemul 3.
Supapa de siguranta
Ar trebui controlat regulat conform cu DIN 4753. Verificata purja in functiune 1 - 2 pe luna. O mentenanta anuala de instalatorul dvs. este recomandata. In timpul incalzirii rezervorul de apa fierbinte trebuie sa iasa din linia de suflat a extremitatii din conditii de siguranta a apei, din acest motiv linia de suflat a extremitatii trebuie sa ramana intotdeauna deschisa. Deci, pe traseul catre supapa de siguranta nu trebuie sa existe elemente de inchidere sau de izolare.
Bara de anod de magneziu
Serviciul clienti va verifica si inlocui daca este necesar dupa 2 ani de exploatare, iar apoi se va verifica periodic la termen dorite. Verificarea si eventual schimbarea acestuia se executa de catre un specialist.
Anodul extern de curent
are practic o durata de viata nelimitata. Functionarea anodului trebuie supravegheata in mod regulat prin intermediul lampii de control. Lumina verde arata ca centrala este in parametri. Daca apare lumina rosie inseamna ca a intervenit o avarie fiunctionala care poate fi inlaturata de serviciul clienti. Acest lucru este necesar pentru o functie perfecta pentru care containerul treuie sa fie umplut complet cu apa.
Electric avand incalzirea in uz
veti efectua decalcinarea in fiecare an (sau in scurte intervale) depinde de duritatea apei si de timpul de operare. Cu aceasta ocazie se controleaza starea functionala a limitatorului de temperatura de siguranta, a termostatului si a rezistentei de incalzire. Daca controller-ul temperaturii de siguranta (temperatura de siguranta si control e depasita) nu functioneaza, rugam chemati seriviciul clienti.
A lasa pentru greseli de imprimare si schimbari tehnice.
Id.Nr. 230554-2
|