|
CORINA GEALAN |
|
CORINA GEALAN |
INSTALATII SOLARE |
|||||||||||||||||||||||||||||||||||||||||||||||||
|
MANUAL DE MONTAJ ECHIPAMENTE PENTRU INSTALATII SOLARE Cuvant Inainte Stimate partener al firmei CORINA GEALAN, Prin prezentarea manualului de montaj, dorim sa va punem la dispozitie un indrumar pentru activitatea dvs. viitoare in domeniul instalatiilor solare. Am ales formatul unei carti de buzunar astfel incat dvs. sa-l aveti permanent la indemana. Speram ca acest manual sa va ajute in rezolvarea problemelor diverse ce pot aparea pe santier. Situatia pe santier se prezinta adesea altfel decat cea planificata, iar montatorul trebuie sa caute posibilitati noi de solutionare. Manualul contine instructiuni de montaj ale producatorilor de colectoare solare precum si date obtinute in urma experientei noastre de montatori de-a lungul a 2 ani de activitate in domeniu. O instalatie solara va da rezultatele asteptate numai daca a fost montata corect. Orientarea spre sud a acoperisului si o inclinatie de cca 450 vor conduce la obtinerea unui randament maxim al instalatiei. Daca dupa parcurgerea acestui manual vor rezulta intrebari fara raspuns in paginile sale, va stam cu placere la dispozitie in cadrul unei discutii directe. A dumneavoastra CORINA GEALAN |
|
GENERALITATI 1.1. DATE TEHNICE 1.1.1. DATE TEHNICE COLECTOARE SOLARE TIP TUBURI MAZDON
|
||||||||||||||||||||||||||||||||||||||||||||||||||
|
|
|
|
||||||||||||||||||||||||||||||||||||||||||||||||||
|
CORINA GEALAN |
INSTALATII SOLARE |
|
CORINA GEALAN |
INSTALATII SOLARE |
||||||||||||||||||||||||||||||||||||||||||||||||
|
|
DATE TEHNICE |
PANOU HELIOSTAR |
|||||||||||||||||||||||||||||||||||||||||||||||||
|
Suprafata colectorului |
2,03 15215n1323p m2 |
|||||||||||||||||||||||||||||||||||||||||||||||||||
|
Suprafata de absorbtie |
1,76 m2 |
|||||||||||||||||||||||||||||||||||||||||||||||||||
|
Dimensiunile de montaj |
1040 x 2040 mm |
|||||||||||||||||||||||||||||||||||||||||||||||||||
|
Masa |
43 15215n1323p kg |
|||||||||||||||||||||||||||||||||||||||||||||||||||
|
Volumul de lichid circulat prin colector |
1,1 + 0,4 =1,5 litri |
|||||||||||||||||||||||||||||||||||||||||||||||||||
|
Debit max. Circulat prin panou |
100 l/ora/panou |
|||||||||||||||||||||||||||||||||||||||||||||||||||
|
Absorbanta solara |
minim 0,94 |
|||||||||||||||||||||||||||||||||||||||||||||||||||
|
Emisivitatea termica |
maxim 0,16 |
|||||||||||||||||||||||||||||||||||||||||||||||||||
|
Randamentul optic |
|
|||||||||||||||||||||||||||||||||||||||||||||||||||
|
Temperatura de functionare |
peste 100 oC |
|||||||||||||||||||||||||||||||||||||||||||||||||||
|
Presiunea maxima de functionare |
6 bar |
|||||||||||||||||||||||||||||||||||||||||||||||||||
|
Temperatura maxima a colectorului |
219 oC |
|||||||||||||||||||||||||||||||||||||||||||||||||||
|
Puterea/colector |
1,5 kW |
|||||||||||||||||||||||||||||||||||||||||||||||||||
|
Densitatea de flux termic |
1000 W/m2 |
|||||||||||||||||||||||||||||||||||||||||||||||||||
|
Randament |
|
|||||||||||||||||||||||||||||||||||||||||||||||||||
-3 15215n1323p -
CORINA GEALAN
INSTALATII SOLARE
CORINA GEALAN
INSTALATII SOLARE
DIMENSIONAREA INSTALATIEI SOLARE
Cunoasterea necesarului zilnic de apa calda este o conditie importanta pentru dimensionarea rezervorului de apa calda si respectiv a campului de colectori.
Se va face diferentierea intre:
* Incalzirea apei menajere;
* Incalzirea apei menajere si aport la incalzirea casei;
* Incalzirea apei din piscina.
Se va acorda atentie la adaosurile la suprafata de colector in cazul devierilor de la conditiile ideale, in cazul umbririlor determinate de diverse obiecte precum si din cauza necesarului ridicat de apa menajera!
1.2.1. INCALZIREA APEI MENAJERE:
* Calcularea necesarului de apa calda:
O persoana are nevoie de aproximativ 70 litri / zi.
* Stabilirea marimii (capacitatii) rezervorului:
Volumul rezervorului trebuie sa corespunda unui consum
zilnic de apa calda de 1,1 - 1,2 ori mai mare decat este
necesar (factor de risc).
* Stabilirea dimensiunii campului colector (inclinatia
colectorului: 45 grade; orientare: sud):
|
Nr. persoane |
Capacitate Boiler |
Nr. Tuburi MAZDON |
Nr. Panouri HELIOSTAR |
|
2 - 3 15215n1323p |
3 15215n1323p 00 |
|
|
|
3 15215n1323p - 4 |
3 15215n1323p 00 |
3 15215n1323p 0 |
3 15215n1323p |
|
|
|
|
|
|
|
|
50 (20 + 3 15215n1323p 0) |
|
1.2.2. APORT LA INCALZIREA IN PARDOSEALA
Aportul instalatiei solare la incalzirea casei depinde in mare masura de izolatia casei, tipul de Incalzire, profitul pasiv de energie solara etc.
Simplificat, se poate spune ca la o suprafata locuibila de incalzit de 180 m2, se poate utiliza cu un rezervor bivalent de 500 l si 60 de tuburi , sau 6 panouri.
Pentru o suprafata locuibila de 3 15215n1323p 50 m2, pentru aport la incalzire se utilizeaza un rezervor bivalent de 750 l cu 80 de tuburi, sau 8 panouri.
1.2.3 15215n1323p . INCALZIREA APEI DIN PISCINA
Suprafata de absorbtie a colectorului se obtine multiplicand suprafata piscinei cu factorul m = 0,3 15215n1323p 0 - 0,45. Factorul "m" variaza in functie de tipul piscinei: interioara sau exterioara si de acoperirea / neacoperirea ei cu folie protectoare.
Se recomanda utilizarea urmatoarelor valori pentru"m":
|
TIP PISCINA |
FACTOR "m", PENTRU COLECTOR TIP |
||
|
MAZDON |
HELIOSTAR |
||
|
EXTERIOARA |
NEACOPERITA CU FOLIE |
0.3 15215n1323p 5 |
|
|
ACOPERITA CU FOLIE |
|
0.3 15215n1323p |
|
|
INTERIOARA |
NEACOPERITA CU FOLIE |
|
|
|
ACOPERITA CU FOLIE |
0.3 15215n1323p 5 |
|
|
Exemplu de calcul:
Piscina exterioara, neoperita cu folie, cu suprafata de 3 15215n1323p 0 m2.
a) Tuburi MAZDON
3 15215n1323p 0 m2 * 0.3 15215n1323p 5 = 10.5 m2 suprafata de absorbtie totala a
b) Panouri HELIOSTAR
3 15215n1323p 0 m2 * 0.4 = 12 m2 suprafata de absorbtie totala a
Atentie! Niciodata nu se monteaza instalatia solara numai pentru incalzirea piscinei in aer liber. Prin golirea bazinului in anotimpul rece, instalatia solara ramane neutilizata. Se recomanda instalarea unui al doilea consumator solar, de exemplu un boiler univalent sau bivalent.
CORINA GEALAN
TUBURI MAZDON
CORINA GEALAN
TUBURI MAZDON
2. INSTRUCTIUNI PRIVIND MONTAJUL COLECTOARELOR SOLARE
2.1. INSTRUCTIUNI PRIVIND MONTAJUL COLECTOARELOR
SOLARE TIP TUBURI MAZDON
2.1.1. SCULE NECESARE LA MONTAJ
scara reglabila (minim 4 m);
prelungitor cablu electric (minim 3 15215n1323p 0 m; 2,5 mm);
franghie (minim 40 m; sarcina minima 150 kg) ;
masina de gaurit cu percutie ;
set chei fixe (6 - 3 15215n1323p 2 mm);
set chei cricket (4 - 24 mm) ;
set chei imbus (2 - 12 mm) ;
set surubelnite
flex cu disc de taiere pentru metal ;
chei reglabile (max. 1 ¼'') ;
patent izolat ;
cleste taiat cablu electric ;
cutter ;
dispozitiv taiat tevi Cu ;
trusa spirale pentru metal si beton ;
lampa sudogaz ;
cleste 1 ½'' ;
trusa carota ;
ruleta ;
boloboc ;
boloboc unghiular ;
pompa umplere manuala.
ECHIPAMENTELE INSTALATIEI SOLARE :
colector MAZDON 20, MAZDON 3 15215n1323p 0 :
suporti montare pe acoperis inclinat,
ventil aerisire,
teaca senzor,
doua teuri pentru racord tur - retur,
cleme superioare si inferioare pentru fixarea tuburilor,
suruburi+piulite+saibe+cleme pentru fixarea colectorului pe suport,
pasta termoconductoare
suporti pentru inclinare ;
tuburi Mazdon (1 cutie=10 tuburi)
pompa V0 :
pompa Grundfos UPS 25/60,
automatizare SMT 100,
trei senzori,
doua racorduri flexibile inox,
vas expansiune 18 litri cu suport,
debitmetru,
supapa siguranta 5 bar,
manometru,
robinet incarcare,
racord flexibil
boiler :
termometru,
ornamente,
flanse,
picioare boiler
camasa boiler
2.1.3 15215n1323p MATERIALE DE MONTAJ
teava Cu tip Yorkshire (18x1 mm, 22x1 mm, 28x1 mm);
izolatie de vata minerala 3 15215n1323p 0 mm grosime, cu folie de
banda autoadeziva de aluminiu ;
fitinguri Cu, alama ;
bride metalice cu surub ;
supapa siguranta 6 bar ;
supapa sens ;
canepa, teflon ;
pasta verde ;
aliaj+pasta lipire ;
bureti abrazivi pentru curatat cupru ;
vas de expansiune pentru boiler ;
dezaeratoare.
SCHEME DE MONTAJ
Instalatie solara pentru obtinere apa calda menajera -
Instalatie solara pentru obtinere apa calda menajera si aport la incalzire - fig. 2.1.3 15215n1323p .
Instalatie solara pentru obtinere apa calda menajera si incalzire apa din piscina - fig. 2.1.4
CORINA GEALAN
TUBURI MAZDON
CORINA GEALAN
TUBURI MAZDON

Fig. 2.1.1.
![]()
Fig. 2.1.2.

Fig. 2.1.3 15215n1323p .
![]()
Fig. 2.1.4.
CORINA GEALAN
TUBURI MAZDON
CORINA GEALAN
TUBURI MAZDON
2.1.5. ORDINEA OPERATIILOR DE MONTAJ
2.1.5.1. AMPLASAREA BOILERULUI PE POZITIE SI
Amplasarea boilerului se recomanda a se face in camera tehnica, in apropierea centralei termice.
Pasii ce trebuiesc urmati in vederea echiparii boilerului sunt :
montarea picioarelor boilerului ;
imbracarea boilerului cu husa speciala cu care acesta este livrat ;
aplicarea ornamentelor si fixarea termometrului ;
pe turul si returul ambelor serpentine (pe alimentarea cu apa rece, cat si pe iesirea de ACM) se vor prevedea robineti cu holender ;
pe alimentarea cu AR se vor monta urmatoarele elemente de siguranta, de la sursa spre boiler: supapa de sens, vas de expansiune, robinet de golire (intre vasul de expansiune si boiler nu se admit elemente de inchidere sau izolare) ;
dimensionarea vasului de expansiune al boilerului
boiler 3 15215n1323p 00 l - vas expansiune 18 l
boiler 400 l - vas expansiune 24 l
boiler 500 l - vas expansiune 40 l
la iesirea de ACM boilerul va fi prevazut cu o supapa de siguranta de 6 bar ;
![]()
Fig. 2.1.5.
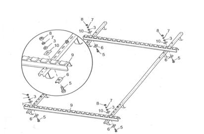
2.1.5.2. MONTAREA SUPORTILOR PE ACOPERIS
Se va lua in calcul, la alegerea locului de amplasare a suportilor, traseul ulterior al tevilor de Cu, respectiv locul de strapungere a acoperisului.
Se va acorda o atentie deosebita recomandarilor privind protectia muncii pentru lucrari pe acoperisuri.
La lucrari pe acoperis se vor folosi centura de siguranta sau schele pentru protectia persoanelor.
Pentru o buna functionare, colectorul MAZDON va avea un unghi de inclinare de cca. 3 15215n1323p 50 - 500.
![]()
Fig. 2.1.6.
![]()
Fig. 2.1.7.
CORINA GEALAN
TUBURI MAZDON
CORINA GEALAN
TUBURI MAZDON
![]()
Fig. 2.1.8.
![]()
Fig. 2.1.9.

Fig. 2.1.10.
Fig. 2.1.11.
-13 15215n1323p -
CORINA GEALAN
TUBURI MAZDON
CORINA GEALAN
TUBURI MAZDON
2.1.5.3 15215n1323p . MONTAREA CUTIEI COLECTOARE
Cutia colectoare (11) se prinde in clemele sinelor laterale(4) si se fixeaza cu clema plata (10).
Asigurati-va ca ambele sine portante (9) si cutia colectoare (11) sunt fixate corect una fata de cealalta, apoi strangeti toate imbinarile.
![]()
Fig. 2.1.12.

Fig. 2.1.13 15215n1323p .
DIMENSIONAREA SI POZAREA TEVILOR DE
Pentru un traseu de teava cu lungimea totala (tur - retur) de 3 15215n1323p 0 - 50 m, se recomanda, in functie de numarul de tuburi ale colectorului, urmatoarele diametre de teava:
- pentru 20 - 40 tuburi, teava cupru 18x1 mm
- pentru 50 - 60 tuburi, teava cupru 22x1 mm
- pentru 70 - 150 tuburi, teava cupru 28x1 mm
- pentru 160 - 250 tuburi, teava cupru 3 15215n1323p 5x1 mm
Colectoarele pe baza de tuburi cu vid sunt inseriate cu ajutorul unui sistem de piese "teu" (Fig. 2.1.13 15215n1323p ).
Racordarea la turul si returul instalatiei se face cu tuburi flexibile. Legarea la tuburile fexibile se face cu piesa "T".
Se va urmari ca traseul de tevi dintre boiler si colector sa fie cat mai scurt si cu cat mai putine schimbari de directie. Se va evita pe cat posibil montajul tevilor in exteriorul casei (pentru diminuarea pierderilor de caldura).
Tevile vor fi consolidate prin intermediul unor bride metalice cu surub si diblu. Acestea vor fi amplasate la distanta de max. 1,5 m una de alta.
Imbinarea tevilor se va face prin sudura cu aliaj de sudura.
Pentru realizarea unei astfel de imbinari vor fi urmariti urmatorii pasi :
curatarea cu ajutorul buretilor abrazivi pentru cupru a ambelor piese ce trebuiesc sudate ;
aplicarea pastei de lipit uniform pe suprafata ce a fost curatata ;
dupa imbinare, suprafata de lipit va fi incalzita cu ajutorul unei lampi de sudura, pana la atingerea temperaturii de topire a aliajului de sudura ;
aplicarea aliajului de sudura se va face pe toata circumferinta imbinarii;
nu se vor misca elementele sudate pana ce acestea nu s-au racit;
imbinarile vor fi curatate cu o laveta umeda;
se va verifica daca sudura prezinta porozitati.
Atentie! In cazul in care se vor constata prezenta porozitatilora, se va relua procesul de sudura.
In zonele in care se pot forma perne de aer vor fi prevazute aerisitoare automate.
Atentie! Cablul senzorului de la colector va fi pozat pe langa conductele izolate de cupru, evitandu-se contactul direct cu acestea.
CORINA GEALAN
TUBURI MAZDON
CORINA GEALAN
TUBURI MAZDON
2.1.5.5. MONTAREA POMPEI SI A VASULUI DE EXPANSIUNE
pompa se va monta pe returul instalatiei de incalzire solara
pompa si vasul de expansiune se vor monta conform instructiunilor de montaj din cutia pompei. (Fig. 2.1.14.)
dimensionarea vasului de expansiune se face in conformitate cu tabelul de mai jos. Pentru dimensionarea unor sisteme mai mari se va consulta furnizorul de materiale.
|
Numar de tuburi |
Volumul vasului de expansiune |
|
20 tuburi - 50 tuburi |
18 litri |
|
60 tuburi - 90 tuburi |
24 litri |
|
100 tuburi |
40 litri |
2.1.5.6. MONTAREA AUTOMATIZARII (CABLAJUL ELECTRIC)
se va urmarii schema de montaj a automatizarii din cartea
se va lega obligatoriu la impamantare
functionarea completa a instalatiei se asigura numai cand sunt racordati toti sensorii si toate aparatele (ex. : pompa, vana, etc)
2.1.5.7. INCARCAREA INSTALATIEI
Determinanta pentru stabilirea presiunii de lucru a instalatiei este precizarea ca la cota colectoarelor se dispune de o presiune de 1.5 bar in starea de functionare la rece a instalatiei. In mod corespunzator trebuie avuta in vedere cota statica atunci cand se regleaza presiunea de lucru a instalatiei
Incarcarea instalatiei se face cu ajutorul unei pompe manuale de umplere pana la obtinerea unei presiuni in sistem de :
p=1.5 + 0.1 x Hinst (Hinst = diferenta de nivel boiler - colector).
Ventilele de aerisire trebuie sa fie deschise.
Se va umple boilerul.
Conform datelor tehnice, volumul estimativ de lichid al instalatiei, pe componente este :
CAPACITATE
BOILER, litri
POZITIE SERPENTINA
VOLUM LICHID IN SERPENTINA, litri
3 15215n1323p 00
SUS
JOS
SUS
JOS
SUS
JOS
- 1 m teava Cu Ø 18 x 1 - 0.20 litri
- 1 m teava Cu Ø 22 x 1 - 0.3 15215n1323p 2 litri
- 1 m teava Cu Ø 28 x 1 - 0.53 15215n1323p litri
- 1 m teava Cu Ø 3 15215n1323p 5 x 1 - 0.85 litri
Atentie! Umplerea instalatiei cu agent termic se face dupa incarcarea boilerul cu apa de la retea.
Umplerea cu lichid a instalatiei in conditii de inghet este interzisa.
Instalatia nu se umple cand soarele este puternic. Este recomandat ca umplerea cu lichid termic sa se efectueze in lunile cu radiatie solara mai putin intensa (perioada recomandata: 15 noiembrie - 15 martie).
Nu se permite completarea cu apa sau alti agenti termici, pentru ca astfel se pierd caracteristicile necesare si protectia anticoroziva. Tocmai din aceasta cauza nu se face completare cu apa!
2.1.5.8. IZOLAREA TEVILOR DE CUPRU
Izolarea tevilor se va face numai dupa verificarea etanseitatii sistemului.
Tevile se izoleaza cu cochilii din vata minerala cu banda de aluminiu.
Se vor izola cu banda adeziva din aluminiu tuburile flexibile de la iesirea din cutia colectoare.
NU se folosesc izolatii din burete sau din alte materiale.
CORINA GEALAN
TUBURI MAZDON
CORINA GEALAN
TUBURI MAZDON
2.1.5.9. MONTAREA TUBURILOR MAZDON
La montajul tuburilor cu vid trebuie sa functioneze pompa circuitului solar.
Atentie !
Purtati la montajul tuburilor vidate in mod obligatoriu manusi si ochelari de protectie pentru a evita raniri la eventuale accidente.
A nu se exercita presiune mecanica pe corpurile din sticla !
La condensatorul tuburilor vidate este atinsa repede temperatura de repaos de 13 15215n1323p 00C la raze solare slabe.
Pentru evitarea arsurilor se va face montarea tubulaturii cu circuitul umplut si pompa in functiune, iar condensatorul nu va fi atins.
![]()
CORINA GEALAN
TUBURI MAZDON
CORINA GEALAN
TUBURI MAZDON

Fig. 2.1.16
* Scoaterea capacului colectorului
Desurubati suruburile din tabla colectorului.
Rabatati capacul spre inainte si extrageti-l. Indepartati buretii din colector.
* Introducerea pastei termoconductoare
Ungeti (incarcati) curbura profilului conductei colectoare cu pasta termoconductoare.
* Montarea tuburilor
Trageti saiba de cauciuc pe gatul tubului flexibil al condensatorului. Asezati tuburile vidate unul cate unul pe scaunul de cauciuc inferior si impingeti-le din partea de jos in colector. Pozitionati condensatorul in curbura profilului prevazuta in conducta colectorului (scaunul condensatorului). Garnitura din cauciuc de pe gatul racordului flexibil al condensatorului trebuie sa stea pe carcasa netensionata.
* Verificarea contactului condensator-conducta
Se va verifica contactul bun intre suprafata condensatorului si cea a conductei colectoare.
Sa fiti atenti, de exemplu, sa nu fie prinse marginile peretilor izolatori (buretele) si ca suprafetele sa fie curate.
* Pozitionarea tuburilor
Pozitionati tuburile vidate prin rotire stanga-dreapta astfel incat partea intunecata a placii absorbante sa stea in sus si paralel cu planul colectorului.
* Fixarea tuburilor
Ancorati tuburile cu clemele-semiluna pe sina portanta. Clemele-semiluna de jos, cat si cele de sus trebuie sa cuprinda tuburile si sa fie ancorate in crenelurile sinei portante.
* Asigurarea clemei condensatorului
Abia acum se va strange clema condensatorului cu ajutorul clestelui tip papagal. Acum tubul vidat este asigurat contra rotirii.
Sa nu incercati sa miscati tuburile atat timp cat sunt ancorate !
|
CORINA GEALAN |
TUBURI MAZDON |
|
CORINA GEALAN |
INSTALATII SOLARE |
|
2.1.5.10. REGLAJUL DEBITULUI Reglajul se face in stare de functionare a instalatiei dupa ce aceasta a fost umpluta si aerisita si pompa de recirculare a fost pornita. Prestabilirea debitului volumic se face actionand asupra comutatorului cu 3 15215n1323p pozitii al pompei (treptel I - III). Debitmetrul amplasat sub pompa se regleaza pentru un debit volumic de 0,1 - 0,15 l / min pentru fiecare tub (se considera ca pentru 1 m2 - 10 tuburi este optim un debit volumic de 1,3 15215n1323p l / min). Ex.: Daca debitul ales este de 0,1 l/min/tub, atunci Debitul pentru fiecare ramura in serie va fi: 90 tuburi x 0,1 l/min/tub = 9 l/min Debitul sistemului de 180 tuburi va fi de: 180 tuburi x 0,1 l/min/tub = 18 l/min
2.1.6. VERIFICAREA FINALA A INSTALATIEI nivelul vidului in panou (citit pe manometrul adaptorului de vid) : 0,9 mbar; presiunea agentului termic din instalatie (citita la manometrul amplasat langa carcasa pompei) : min 3 15215n1323p bar; debitul (citit pe debitmetrul amplasat sub pompa) va fi cel indicat la pct. 2.1.5.10 ; nu sunt admise oscilatii ale niveluli debitului; automatizarea va indica parametrii setati si cei variabili. |
|
CUPRINS |
||
|
-23 15215n1323p - |
|
|
||
|