UNIVERSITATEA DIN PITESTI
FACULTATEA DE MECANICA SI TEHNOLOGIE
SPECIALIZARE : INGINERIE ECONOMICA INDUSTRIALA
TEMA DE CASA
LA
DISPOZITIVE TEHNOLOGICE
Îndrumator, Student,
Iordache Daniela Monica Savulet Doriana
Anul III
CUPRINS:
A. Stabilirea datelor necesare proiectarii dispozitivului
A.1. Proprietatile mecanice ale materialului piesei de prelucrat
A.2. Stadiul de prelucrare a piesei pana la operatia pentru care se proiecteaza dispozitivul
B. Stabilirea sistemului bazelor de orientare a piesei de prelucrat in dispozitiv
B.1. Schita operatiei
B.2. Stabilirea cotelor de realizat pe piesa la prelucrare si a sistemului bazelor de cotare
B.3. Stabilirea sistemului bazelor de orientare a piesei la prelucrare si a elementelor de orientare
B.4. Calculul erorilor maxime admise la orientare
B.5. Erorile de orientare a semifabricatului in dispozitiv
B.6. Alegerea variantei optime de orientare
C. Stabilirea fixarii semifabricatului in dispozitiv
D. Varianta optima de orientare si fixare
Plansa 1.............................11
Bibliografie..........................12
Obiectivul lucrarii
Lucrarea urmareste stabilirea variantei optime de orientare si fixare a pieselor în vederea proiectarii unui dispozitiv de fabricare, plecând de la desenul de executie al piesei.
Stabilirea variantei optime de orientare si fixare a pieselor în dispozitive de fabricare se face dupa o anumita succesiune, prezentata în continuare:
A. Stabilirea datelor necesare proiectarii dispozitivului
A.1 Proprietatile mecanice ale materialului piesei de prelucrat;
A.2 Stadiul de prelucrare a piesei pâna la operatia pentru care se proiecteaza dispozitivul;
A.3 Elementele operatiei pentru care se proiecteaza dispozitivul;
A.4 Forma si dimensiunile elemntelor de legatura ale masinii-unelte cu dispozitivul;
B. Stabilirea sistemului bazelor de orientare a piesei de prelucrat în dispozitiv
B.1 Schita operatiei;
B.2 Stabilirea cotelor de realizat pe piesa la prelucrare si a sistemului bazelor de cotare;
B.3 Stabilirea sistemului bazelor de orientare a piesei la prelucrare si a elementelor de orientare;
B.4 Calculul erorilor maxime admise la orientare;
B.5 Calculul erorilor de orientare a piesei la prelucrare;
B.6 Alegerea variantei optime de orientare;
C. Stabilirea fixarii piesei;
D. Varianta optima de orientare si fixare.
A. Stabilirea datelor necesare proiectarii dispozitivului
A.1 Proprietatiile mecanice ale materialului piesei de prelucrat
Proprietatile mecanice ale materialului sunt necesare pentru calculul regimului de aschiere si pentru calculul componentelor fortei de aschiere.
Materialul piesei este OLC45 si are urmatoarele caracateristici mecanice:
|
Marca otelului |
Diametrul probei de tratament |
Felul tratamentuli termic |
Limita de curgere |
Rezistenta la rupere |
Alungirea la rupere |
Gatuirea la rupere | |
|
OLC 45 |
|
N |
|
Min 610 |
|
| |
|
OLC 45 X |
|
CR |
|
|
|
| |
|
OLC 45 XS |
| ||||||
|
|
|
A.2 Stadiul de prelucrare a piesei pâna la operatia pentru care se proiecteaza dispozitivul
Piesa finala se obtine prin prelucrari în mai multe operatii. Pentru operatia la care se prelucreaza dispozitivul piesa este într-un anumit stadiu de prelucrare.
Piesa corespunzatoare operatiei de gaurire Φ6,6 mm se obtine prin adaugarea pe desenul piesei finale a adaosurilor neîndepartate pâna la aceasta operatie (figura anexa 2).
A.3 Elementele operatiei pentru care se proiecteaza dispozitivul
Elementele operatiei care trebuiesc cunoscute pentru proiectarea dispozitivului sunt: fazele operatiei, masina-unealta, sculele utilizate, regimul de aschiere, fortele de aschiere.
Fazele operatiei sunt:
Gaurirea la Φ6, 6 mm.
Operatia se realizeaza într-o singura faza.
Masina-unealta
Prelucrarea se realizeaza pe o masina de gaurit cu masa de pozitionare si cap revolver GPR 45 NC cu urmatoarele caracteristici:
- diametrul maxim de gaurit .........45 mm(in otel cu σr=50-60 daN\mm2 );
-cursa verticala a papusii......................500 mm ;
-cursa longitudinala a sanie.....................420 mm;
-cursa transversala a mesei.........710 mm;
-suprafata utila a mesei...........500x800;
-numarul locasurilor de scule în capul revolver....6;
-numarul treptelor de turatii............12;
-domeniul de turatii 40; 56; 80; 112; 160; 224; 315; 450; 630; 900; 1250; 1800
-gama de avansuri.....0.07..1.6 , mm/rot( variabile continuu);
-puterea motorului principal..............4kW.
Scula utilizata
Pentru prelucrarea ceruta se poate utiliza un burghiu Φ6,6 cu coada conica STAS 575:1993; Φ6,6 cu lungimea partii activa l= 63mm, lungimea totala L=144mm, realizat din otel rapid Rp3. [ tabel 3.18].
Parametrii geometrici principali ai partii aschietoare a burghiului elicoidal sunt: unghiul la vârf 2χ=120 ; unghiul de asezare α=14◦; unghiul de degajare γ=30◦. Durabilitatea recomandata T=20mm. [ tabel ]
Regimul de aschiere pentru fiecare faza a operatiei se alege din
Adâncimea de aschiere la gaurire:
Avansul de aschiere:
s= Ks ∙ Cs ∙ D0,6 [ mm/ rot] ,
In care: KS- coeficient de corectie ;
s = 1 ∙ 0,047 ∙ 6,60.6 = 0,15 mm/ rot
Din gama de avansuri a masinii de gaurit GPR 25 se alege avansul:
s= 0,15 mm/rot.
Viteza de aschiere se determina cu ajutorul relatiei:

Se calculeaza turatia sculei:

Din gama de turatii a masinii-unelte se adopta turatia n= 1250 rot/min si se calculeaza viteza reala.
Forta axiala, momentul si puterea de aschiere
Relatii de calcul si valoriile corespunzatoare sunt:
● pentru forta axiala:
Fax= CF∙ DXF∙ sYF∙ KF
in care: Fax= 74 ∙6,61. 0,13. 1,14 =147,55 [daN]
● pentru momentul de aschiere la gaurire :
Mas=CM∙ DXM ∙ SYM∙ KM [daN /mm]
în care:
Mas= 29,6 ∙ 6,61,9 ∙ 0.150,80 ∙ 1,14= 266,8106 [daN/mm]
● pentru puterea necesara gauririi:
PME - puterea motorului electric de antrenare a M.U
Este îndeplinita conditia, deoarece PME = 4 KW; atunci avem:
0,428 KW < 4 KW
A.4 Forma si dimensiunile elementelor de legatura ale masinii-unelte cu dispozitivul
B. Stabilirea sistemului bazelor de orientare a piesei în dispozitiv
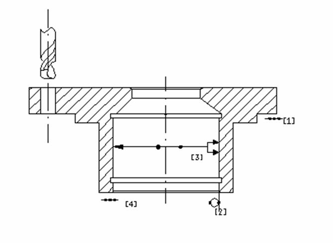
B.1 Schita operatiei se obtine plecând de la desenul de executie având în vedere anumite aspecte
- pozitia piesei pe masina-unealta la prelucrare;
-pozitia muncitorului fata de masina-unealta in situatia în care acesta opereaza cu dispozitivul.
Având în vedere ca burghiul la masina de gaurit lucreaza pe verticala, ca piesa se leaga de masa masinii si ca muncitorul în timpul lucrului sta în fata masinii de gaurit, piesa se vede din pozitia în care muncitorul lucreaza asa cum este reprezentata în anexa 3.
B.2 Stabilirea cotelor de realizat pe piesa la prelucrare si a sistemului bazelor de cotare.
Pentru a stabili varianta optima de orientare trebuie sa se stabileasca cotele care determina pozitia suprafetei de prelucrat pe piesa si deci bazele de cotare corespunzatoare, precum si precizia care se cere acestor cote. Pentru a stabili mai usor aceste cote si bazele de cotare corespunzatoare se urmaresc în primul rând cotele care pleaca de la suprafata de prelucrat si au capatul opus pe o alta suprafata. Analizând desenul piesei rezulta ca alezajul ocupa o pozitie particulara pe piesa, care nu impune trecerea pe desen, este o abatere de la concentricitate si abaterea de la perpendicularitate . Mai avem o toleranta de pozitie si anume toleranta la simetrie.
Aceste doua cote de realizat determina complet pozitia suprafetei de prelucrat pe piesa.
In afara cotelor nominale care determina pozitia suprafetei de prelucrat pe piesa trebuie sa se stabileasca si abaterile impuse acestor cote pentru a sti ce precizii trebuie sa realizeze la prelucrare.
Abaterile pentru cotele de precizie mai ridicata sunt trecute pe desenul de executie si se extrag din acest desen. Pentru cotele libere ( netolerate pe desenul piesei ) abaterile se stabilesc dupa STAS 2300-88 ( SR EN 22768-1:1995 ).
Cotele care determina pozitia alezajului de prelucrat ( 6,6 ), bazele corespunzatoare, suprafetele care le determina si abaterile maxime admise la cotele respective sunt trecute în tabel.
|
Cote care determina pozitia alezajului pe piesa (cotele care trebuie realizate la prelucrare) |
Cotele trecute pe desen sau rezulta prin pozitia particulara a piesei |
Bazele de cotare |
Suprafetele care le determina |
Abaterile maxime admise la cote |
Abaterile sunt trecute pe desen sau sunt alese conform STAS |
|
|
Rezulta prin pozitia particulara a piesei |
Axa suprafeTei cilindrice interioare P |
Suprafata cilindrica interioara P |
|
STAS |
|
|
Rezulta prin pozitia particulara a piesei |
Axa suprafetei cilindrice interioare P |
Suprafata cilindrica interioara P |
|
STAS |
B.3 Stabilirea sistemului bazelor de orientare a piesei la prelucrare si a elementelor de orientare

În sistemul bazelor de orientare se determina la prelucrare pozitia suprafetei de prelucrat . Acest sistem se materializeaza prin elemente de orientare care vin în contact cu suprafetele de orienatre ale semifabricatului .
Daca pentru o operatie data sistemul bazelor de cotare este unic , sistemul bazelor de orientare poate fi ales în mai multe variante , prin aceea ca bazele de orientare pot sau nu sa coincida cu cele de cotare sau ca o baza de orientare poate fi materializata cu diverse elemente de orientare .
Pentru opertia de gaurire (fig 2), alegând bazele de orientare identice cu cele de cotare si utilizand elemente de orientare diferite , rezulta 2 variante de orientare :I([1] ,[2]), II([1],[3]) . Ordinea de utilizare a bazelor a fost stabilita având în vedere dimensiunile bazelor si precizia acestora.
Daca alegem baza de orientare diferita de baza de cotare dispozitivul se simplifica avem varianta III[4] ;[2] si varianta IV [4]; [3]
Elementele de orientare sunt trecute in tabelul 1 pe schita operatiei.
Variantele de orientare sunt:
Varianta I: [1], [2]
Varianta II: [1], [3]
Varianta III: [4], [2]
Varianta IV: [4], [3]
Tabelul 1
|
Bazele de orientare |
Elementele de orientare utilizate |
Simbolul elementului de orientare |
|
Suprafata cilindrica exterioara P |
Dorn autocentrant scurt |
|
|
Suprafata frontala B |
Reazem pentru suprafete plane |
|
|
Suprafata cilindrica exterioara P |
Bolt scurt |
|
|
Suprafata frontala C |
Reazem pentru suprafete plane |
|
B.4. Calculul erorilor maxime admise la orientare:
Eroarea maxima admisa:
- toleranta piesei la cota de realizat la
prelucrare, în mm
- toleranta la cota functionala
a dispozitivului, corespunzatoare cotei d a piesei, în mm
- precizia medie economica la cota d [2,
tab. 2.11]
mm
Tolerantele la cotele functionale ale dispozitivelor folosite la prelucrarea pe masini-unelte se stabilesc procentual din tolerantele care trebuiesc realizate la cotele corespunzatoare ale pieselor, folosind relatia :
mm
![]()
mm
Precizia medie economica pentru diverse procedee se alege din tabelul .
Erorile maxime admise la cote sunt trecute în tabelul 3 , corespunzator tolerantelor economice de prelucrare si a celor la cote functionale.
Tabelul 3
|
|
Toleranta piesei, |
Toleranta dispozitivului, |
Precizia medie economica, ω[mm] |
Eroarea maxima admisa, |
|
|
|
|
|
|
|
|
|
|
|
|
B.5. Erorile de orientare a semifabricatului in dispozitiv
Erorile de orientare care apar la cotele de realizat pe piesa la prelucrare sunt
provocate de necoincidenta bazelor de orienatre cu cele de cotare sau/ si de jocurile pe care le are semifabricatul pe unele elemnte de reazem.
Erorile pentru varianta I ([1], [2]):
În varianta I de orientare se utilizeaza reazemul pentru suprafata plana [1] si boltul cilindric [2].
(┴) = 0 pentru ca BO=BC si j=0;
Semifabricatul se introduce pe bolt cu joc:
j
j = Dmax p - dmin b
db= Dmin p[g7]=![]()
As= -0.009 ; Ai =-0.034
j=47.007 - 46.966= 0.041 mm
Erorile pentru varianta II ([1], [3]):
In varianta II de orientare se utilizeaza reazemul pentru suprafata plana [1] si dornul autocentrant [3]
ε(○) = 0 BO=BCsi j=0
Erorile pentru varianta III ([4], [2]):
In varianta III de orientare se utilizeaza reazemul pentru suprafata
plana [4] si botul cilindric[2]
≠ 0 = T(II)= 0.2 BO ≠BC j=0
○) = j BO=BC si j≠0
j = Dmax p - dmin b
db= Dmin p[g7]=
As= -0.009 ; Ai =-0.034
j=47.007 - 46.966= 0.041 mm
Erorile pentru varianta IV :[4],[3]:
In varianta IV de orientare se utilizeaza reazem pentru suprafata plana [4] si dornul autocentrant [3]
≠ 0= T(II)= 0.2 mm BO ≠ BC j=0
j=0
Pentru a analiza erorile de orientare si erorile maxime admise se realizeaza tabelul 4.
Tabelul 4
|
Varianta de orientare |
Erori de orientare la cotele de realizat |
Erori admisibile la cotele de realizat |
DA/NU |
||||
|
|
|
|
|
|
|
||
|
I |
|
|
|
|
|
|
DA |
|
II |
|
|
DA |
||||
|
III |
|
|
DA |
||||
|
IV |
|
|
DA |
||||
B.6. Alegerea variantei optime de orientare
Cel mai simplu dispozitiv rezulta folosind boltul cilindric [2] si reazemul pentru suprafata plana [1] . Astfel varianta optima de orientare este varianta I.
C.Stabilirea fixarii semifabricatului în dispozitiv
C1: Calculul marimii fortei de fixare :
Marimea fortei d efixare a semifabricatului in dispozitiv se calculeaza în ipoteza ca semifabricatul este simplu rezemat pe elementele de orientare ale dispozitivului . în acest caz forta de fixare rezulta din conditia de pastrare a echilibrului semifabricatului pe reazeme , considerand ca atat fortele de fixare cat si fortele care actioneaza asupra acestuia sunt niste vectori .
Fortele de fixare se stabilesc si se calculeaza pentru varianta optima de orienatre .
Calculul marimii fortei de fixare:
![]()
![]()
D. Varianta optima de orientare si fixare
Bibliografie
Vlase A. s.a. - Tehnologii de prelucrare pe masini de frezat, 1993
Tache V. s.a. - Indrumar de proiectare a dispozitivelor, 1980
|