Masini pentru zdrobire si desciorchinare
2.1 Generalitati
In scopul eliberarii mustului din boabele de struguri pentru separarea deseminte, pielita si componentele solide ale pulpei, este necesara spargerea pielitei si destramarea miezuluibobului. Aceasta operatie ce poarta numele de zdrobire,trebuie sa satisfaca anumite conditii de care depinde calitatea mustului obtinut.Operatia tehnologica initiala din cadrul prelucrarii primare a strugurilor este zdrobirea bobitelor si separarea ciorchinilor (desciorchinarea).
Zdrobirea consta in distrugerea integritatii boabelor in vederea eliberarii sucului pe care il contin, fara a faramita pielitele, semintele si ciorchinii. in urma acestei operatii microflora existenta pe struguri este dispersata in intreaga masa de mustuiala. Daca strugurii nu sunt zdrobiti, sucul nu se poate transforma in vin, deoarece levurile, prezente in principal pe suprafata boabelor, nu-si pot exercita actiunea lor asupra sucului inchis in boabe.
Actiunea produsa in timpul zdrobirii favorizeaza inmultirea levurilor care, la randul lor, determina o fermentatie rapida si usoara a mustului.
Dupa zdrobire, materialul recoltat poate fi usor vehiculat prin pompare, sulfitat omogen, iar maceratia bostinei pentru vinurile rosii si aromate are loc in conditii optime, deoarece suprafata dintre faza lichida si solida este mult marita. Cand insa prelucrarea strugurilor pentru producerea acestor vinuri de maceratie incepe cu desciorchinarea, zdrobirea nu mai este o operatie obligatorie, deoarece integritatea boabelor este suficient de distrusa cu ocazia desciorchinarii.
In diferite procedee de vinificatie, ca de exemplu in tehnologia producerii vinurilor rosii, prin maceratie carbonica nu se efectueaza separarea mustului ci a vinului brut. La obtinerea vinurilor care constituie materie prima pentru procesul de sampanizare, nu se efectuaza operatia de zdrobire. in asemenea situatii, zdrobirea boabelor se efectueaza in timp, datorita procesului de maceratie, sau direct prin presare, ca in tehnologia vinurilor spumante.
Desciorchinarea strugurilor, numita si dezbrobonire, consta in separarea boabelor de ciorchine si eliberarea separata a sucului si boabelor pe de o part 848j94i e si a ciorchinelor si a resturilor vegetale pe de alta parte.
Particularitatile executarii acestei operatii depind de numerosi factori, dintre care un rol principal il are tipul de vin care se urmareste a se obtine.
Pentru vinurile albe, desciorchinarea s-a dovedit mai putin necesara, intrucat influenta pe care o exercita prezenta ciorchinelui asupra calitatii vinului este neinsemnata. Aunci cand recolta este nedesciorchinata, scurgerea mustului si presarea bostinei se face cu mai multa usurinta, deoarece mustuiala are un grad de elasticitate mai ridicat, iar ciorchinii joaca rolul unor cai de drenaj. Mustul obtinut are mai putina burba si un gust mai bun decat cel rezultat dintr-o mustuiala desciorchinata.
Desciorchinarea devine obligatorie atunci cand produsul zdrobit stagneaza pe parcursul fluxului tehnologic un timp oarecare in stadiul de mustuiala, sau cand in schema tehnologica este prevazuta si operatia de macerare in vederea ridicarii continutului vinului in extract. In astfel de situatii se impune desciorchinarea, deoarece ciorchinii din mustuiala influenteaza negativ calitatea viitorului vin. Desciorchinarea este recomandata si atunci cand ciorchinii nu sunt lignificati, deoarece prezenta lor in mustuiala face sa creasca continutul mustului in compusi fenolici, in special in acei oxidabili precum si in unele saruri de calciu, potasiu etc.
Pentru vinurile rosii si aromate, desciorchinarea este o operatie tehnologica indispensabila.in acest caz vinurile se imbunatatesc din punct de vedere calitativ, au un grad alcoolic mai ridicat cu circa 0,5 %vol, sunt mai intens colorate, ceva mai acide, se limpezesc usor si nu sunt lipsite de o anumita suplete si finete.
Macerarea - fermentarea mustului fara desciorchinare determina obtinerea de vinuri cu gust intens de ciorchine, bogate in substante astringente si cu o duritate pronuntata atunci cand sunt tinere.
Prezenta ciorchinelui in mustuiala contribuie intr-o anumita masura si la poluarea vinului cu diferite pesticide retinute in asperitatile acestuia cu ocazia tratamentelor de combatere a bolilor si daunatorilor vitei de vie.
Pentru evitarea oxidarii materialului zdrobit, ce provoaca adesea cassarea oxidazica a vinului, zdrobirea trebuie executata cit mai rapid posibil, astfel incit contactul mustuielii cu aerul sa fie de cit mai scurta durata.
In scopul eliberarii unei cantitati cit mai mari de must care sa poata fi separat de restul mustuielii prin scurgerea libera, boabele de strugure trebuie sparte in totalitate. Aceasta spargere trebuie realizata astfel incit semintele si ciorchinii sa nu sufere vatamari care sa provoace marirea procentului de burba din must si imbogatirea exagerata a acestuia in substante tanante, ambele fenomene ducind la deprecierea calitatii produsului finit.
De asemenea, pentru evitarea imbogatirii mustului in fier, fenomen ce poate produce casarea ferica a vinului, se impune ca organele ce produc zdrobirea, precum cit si suprafetele in contact cu strugurii si mustuiala sa fie confectionate din materiale inoxidabile, sau protejate impotriva actiunii corozive a acizilor din must.O alta operatie, ce urmeaza zdrobirii este desciorchinarea, sau dezbrobonirea. Aceasta operatie consta in separarea ciorchinilor din masa de mustuiala zdrobita, in scopul evitarii influentei negative a acestora asupra calitatii mustului.
Prezenta ciorchinilor in masa de mustuiala atrage dupa sine urmatoarele neajunsuri se introduce in prese, ne justificat, un volum mai mare de material, micsorindu-se astfel productivitatea acestora ; o cantitate insemnata de substante straine folosite pentru tratarea vitei mai aderente la ciorchini decit la boabele de strugure sint introduse in must ; la prepararea vinurilor rosii unde mustul fermenteaza impreuna cu bostina, are loc absorbtia unei cantitati de alcool in masa spongioasa a ciorchinilor ; vinificatia cu ciorchinii produce adesea vinuri astringente si cu un gust ierbos.
similare celor impuse operatiei de zdrobire.
Astfel, procesul trebuie sa decurga cit mai rapid posibil in scopul limitarii duratei de aerisire a mustuielii. Dupa desciorchinare, in masa de mustuiala sa nu mai ramina fragmente de ciorchini si nici boabe sau must in ciorchinii evacuati. Pentru limitarea imbogatirii mustului in substante tanante desciorchinarea trebuie sa se efectueze fara fragmentarea sau vatamarea ciorchinilor, iar pentru limitarea imbogatirii in fier se cere ca organele active ale utilajelor care realizeaza desciorchinarea sa fie confectionate din materiale inoxidabile.
In concluzie desciorchinarea, ca operatie tehnologica, este utila pentru producerea vinurilor aromate si a celor rosii superioare, facultativa pentru vinurile rosii de consum curent si obligatorie arunci cand strugurii, prin natura soiului din care provin, dau vinuri aspre, astringente, precum si in cazul unui cules timpuriu cand ciorchinii sunt mai ierbacei. Desciorchinarea, partiala sau totala, trebuie sa se aplice in functie de conditiile concrete in care se prezinta produsul recoltat, cu luarea in considerare a tipului de vin urmarit pentru a se obtine.
2.2. Cerinte tehnice si tehnologice ale masinilor zdrobitoare desciorchinatoare. Clasificare
Masinile zdrobitoare - desciorchinatoare moderne pot fi clasificate in doua tipuri de baza: zdrobitoare cu valturi si centrifugale cu soc. Se intalnesc, de asemenea, combinatii dintre aceste tipuri.
In functie de destinatia tehnologica si de modul in care sunt cuplate, in linia tehnologica, cu alte masini, zdrobitoarele - desciorchinatoare pot fi clasificate in :
-zdrobitoare simple, care realizeaza numai zdrobirea strugurilor
-zdrobitoare: zdrobitor - cantar, zdrobitor - elevator, zdrobitor -scurgator;
-desciorchinatoare: zdrobitor - desciorchinator, zdrobitor -desciorchinator - pompa, zdrobitor - desciorchinator - elevator;
desciorchinator
- zdrobitor (care se deosebesc in functie de ordinea operatiilor de
zdrobire -
desciorchinare).
Cerintele tehnice de baza, impuse masinilo zdrobitoare deseiorchinatoare, sunt urmatoarele :
-piesele care se afla in contact cu produsul trebuie sa fie fabricate
din
otel inoxidabil sau din alte materiale
corespunzatoare din punct de vedere
igienico - sanitar;
-piesele fabricate din otel
inoxidabil trebuie sa fie tratate termic in
scopul ridicarii stabilitatii, rezistentei la
coroziune;
- suprafata valturilor, a
zdrobitoarelor - desciorchinatoare trebuie sa fie
acoperita cu cauciuc in conformitate cu
standardele in vigoare;
-zdroditoarele - desciorchinatoare cu valturi trebuie sa fie unite cu un
dispozitiv, care permite reglarea jocului
intre valturi, de 3-5 mm;
-bataia radiala a lantului nu trebuie sa depaseasca 0,005 din diametrul valtului;
-ovalitatea cilindrului perforat al zdrobitorului - desciorchinator nu
trebuie sa depaseasca 2,0 mm;
-sistemul de ungere a zdrobitoarelor trebuie sa evite posibilitatea
patrunderii materialelor de ungere pe produs
sau in produs si pe suprafata
pieselor care se afla in contact cu produsul;
-zdrobitoarele - desciorchinatoare trebuie sa fie echipate cu un dispozitiv special de protectie contra supraincarcarii;
-zdrobitoarele - desciorchinatoare cu valturi trebuie sa fie echipate, de asemenea, cu dispozitive care permit antrenarea bostinei atat cu antrenarea cat si cu inlaturarea ciorchinilor;
-pompa pentru pomparea bostinei poate fi inclusa in componenta constructiei agregatului sau poate fi considerata masina de sine statatoare cu mecanism de actionare independent;
-nivelul zgomotului nu trebuie sa depaseasca 75 dB Ia distanta de 1 m.
2.3. Constructia si functionarea zdrobitoarelor desciorchinatoare
Organele de lucru, de care depinde eficienta activitatii zdrobitorului -desciorchinator, sunt valturile si desciorchinatorul. Dar, problemele legate de caracteristicile mecanice si energetice ale zdrobitoarelor cu valturi nu sunt suficient studiate, de aici rezultand marea diversitate a tipurilor si a formelor geometrice ale valturilor, utilizate in vinificatie.
Forma geometrica si starea suprafetelor de lucru ale valturilor influenteaza procesul de maruntire a strugurilor, calitatea mustului obtinut, productivitatea zdrobitorului si consumul specific de energie. Strierea suprafetei de lucru a valturilor zdrobitoare (fara a tine cont de proprietatile structural mecanice ale boabelor) a fost introdusa in vinificatie din industria moraritului.
Valturile canelate (striate) care lucreaza in perechi atat in industria moraritului cat si in industria de vinificatie au viteze de rotatie diferite. in majoritatea zdrobitoarelor de struguri, raportul vitezelor axiale ale valturilor dupa unele surse bibliografice este 4:3, iar dupa altele 1:2.
Realizarea pe suprafata valturilor a canelurilor si viteza de rotatie diferita imbunatatesc conditiile de prindere si antrenare a produsului si asigura o distrugere mai buna a pielitei bobitelor, ceea ce usureaza iesirea mustului.
Viteza de deplasare a particulelor de produs in zona de distrugere nu este egala cu viteza axiala a valturilor.
Deplasarea strugurelui cu o oarecare viteza in raport cu valturile duce la distrugerea pielitelor de pe suprafata bobitelor si a ciorchinilor. Prin urmare, diferenta vitezei periferice a valturilor zdrobitoare, dorita intr-un sir de ramuri ale industriei, in vinificatie, mai ales la prepararea vinurilor albe, este nedorita.
In ultimul tip se observa tendinta tot mai mare de trecere de la valturi cilindrice cu caneluri la cele profilate (fig.2.1).

Fig.2.1. Tipuri de valturi: a - cilindrice; b,c,d, - profilate (patru si opt caneluri).
Geometria si conditiile cinematice ale actiunii valturilor profilate contribuie la o aplicare rationala a fortelor exterioare asupra strugurilor prelucrati. La distrugerea lor intre varfurile si adanciturile valturilor, strugurii . capata viteze considerabil mai mici si sunt supusi strivirii mai slabe.
Procesul de zdrobire se apropie mult de varianta optima cand faramitarea strugurelui este rezultatul apropierii suprafetelor paralele, fara ca acestea sa aiba o miscare relativa una fata de alta. Majoritatea firmelor straine fabrica valturile profilate cu 4, 6, 8 palete. in literatura de specialitate sunt prezentate anumite recomandari pentru alegerea formelor optime si a metodelor de calcul. Referitor la cele prezentate anterior, este importanta constatarea lui G. Troost ca intre valturile cu 4 palete ciorchinii se indoaie intr-o mai mica masura decat intre valturile cu 6 si 8 palete.
Unele firme straine utilizeaza in acest scop esente de lemn tare. Firma franceza ' Guy et Mital - Marmonier' fabrica valturile din silumin, in ultimul timp pentru protectia anticorosiva a valturilor este folosit cauciucul alimentar datorita avantajelor pe care le prezinta: elasticitate inalta, stabilitate la actiunile factorilor fizici si chimici si pretul relativ scazut. Firme renumite din strainatate, specializate in producerea utilajului pentru vinificatie, folosesc valturi cauciucate sau chiar valturi din cauciuc.
La toate zdrobitoarele este prevazut un mecanism care permite reglarea jocului intre valturi, iar pentru evitarea avariilor este prevazut un dispozitiv de blocare, sub forma unui cuplaj cu frictiune sau cu came, care intrerupe lantul cinematic al mecanismului de actionare a valturilor.
Cel de-al doilea organ de lucru principal al zdrobitorului este desciorchinatorul care, la utilajele moderne, este reprezentat de un cilindru orizontal perforat, pe axa caruia, in interiorul sau, este montat un rotor cu palete. Avantajele acestui organ de lucru sunt: eficienta tehnologica mare, simplitatea constructiva, fiabilitate.
constructiva de a permite, pentru separarea ciorchinilor, folosirea unor viteze relativ reduse, ceea ce imbunatateste calitatea mustului.
La studierea solutiilor constructive ale desciorchinatoarelor se poate constata o mare varietate a parametrilor lor constructivi si cinematici.
Referitor la problema prezentata, V.D.Emeleanov face urmatoarele precizari: numarul paletelor pe o spira a rotorului de-a lungul unui pas, in eventualitatea aranjarii paletelor pe o suprafata elicoidala simpla (cu un singur inceput), este de 8, 12, 16 sau 20; distanta intre palete in acest caz variaza in intervalul 25-31 mm, iar pasul spirei este cuprins intre 200 si 570 mm. Trebuie facuta insa precizarea ca din punct de vedere tehnologic este rational de utilizat doua intrari ale paletelor.
Turatia rotorului variaza intr-un interval destul de larg (120 - 200 rot/min), iar in unele cazuri atinge si valori mai mari.
Constructia desciorchinatorului este o problema de mare importanta careia trebuie sa i se acorde o atentie deosebita. in acest sens. un loc important il ocupa constructia cilindrului in care, dupa posibilitati, este realizata distrugerea mecanica a ciorchinilor, asigurandu-se o antrenare mai intensa a lor si deci o imbunatatire a calitatii procesului.
2.3.1 Zdrobitorul manual de mica productivitate (fig. 2.2) este de tip cu vauri cilindrice, cu canei uri elicoidale, fiind folosit in unitati cu productii mici de struguri
|
|
Fig.2.2 Zdrobitorul manual de mica productivitate tip 7 Noiembrie - Craiova
Se compune dintr-un buncar de alimentare 1 axul agitator 2 cele doua valturi de zdrobire, un angrenaj de roti dintate cilindrice 3 volanta de actionare manuala 4 si cadrul de lemn. Buncarul 1 confectionat din lemn de brad serveste la alimentarea zdrobitorului cu struguri; axul 2, pe care sint montate o serie de degete agitatoare serveste la antrenarea strugurilor spre valturile de zdrobire ; valturile, confectionate din fonta, realizeaza zdrobirea boabelor ; volanta 4 serveste la actionarea manuala a zdrobitorului ; cadrul executat din lemn de fag foloseste ca suport al intregii constructii. Organele active ale zdrobitorului sint acoperite cu un lac de protectie impotriva actiunii corozive a acizilor de must. Utilajul este prevazut cu un dispozitiv ce permite reglarea distantei dintre valturi. Volanta pentru actionarea manuala poate fi inlocuita cu o saiba de curea ce permite antrenarea zdrobitorului de la un motor electric sau un motor termic.
Caracteristici tehnice principale sint urmatoarele :
-Lungimea, in mm
-Latimea, in mm. 800
-inaltimea, in mm
-Productivitatea, in kg/h
-Diametrul valturilor, in mm
Greutatea, in kg.. 70 2.3.2Zdrobitorul cu valturi de tip de mare productivitate Colin
Acest zdrobitor (fig. 2.3) este de tip cu patru valturi cilindrice cu caneluri drepte. Se compune din buncarul de alimentare1.
cadrul 2 valturile de zdrobire mecanismul de actionare si motorul electric 5.
Buncarul de alimentare, montat deasupra valturilor de zdrobire, este construit din tabla de otel si profile cornier sudate. Peretele opus partii din care se face alimentarea zdrobitorului este mai ridicat, pentru a evita caderea strugurilor in afara. Pentru inlaturarea contactului strugurilor cu fierul, in interior buncarul este acoperit cu un strat de vopsea rezistenta la actiunea acizilor din must.
Cadrul, executat din profile U si cornier serveste ca suport al intregii constructii. Cu ajutorul a patru suruburi de fundatie cadrul este fixat de planseul constructiei.
Valturile de zdrobire, imbracate in exterior cu o camasuiala din otel inoxidabil, constituie organele active ale masinii. Cele doua valturi extreme sint montate pe bucse excentrice de fonta care, prin rotirea lor, permit reglarea distantei dintre ele si valturile fixe.

Mecanismul de actionare se compune dintr-o transmisie cu curele trapezoidale si roti cilindrice precum si un
dispozitiv de antrenare cu con de frictiune.
Fig.2.3 Zdrobitorul cu valturi tip Colin
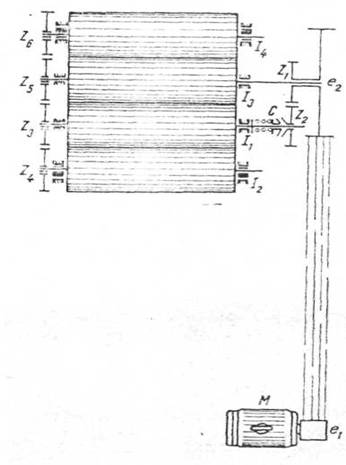
In figura 2.4 este prezentat schematic sistemul de actionare al zdrobitorului.
Cuplul motor generat de catre electromotorul M este transmis rotii libere de curea e2 prin intermediul rotii de curea e1 si a trei curele trapezoidale. De aici cuplul este transmis prin roata cilindrica dintata z1 solidara cu butucul rotii de curea e2 si libera pe axul I3 rotii dintate cilindrice Z3 libera pe axul I1. Prin intermediul dispozitivului de antrenare cu con de frictiune cuplul esre transmis axului I1 care, prin roata dintata Z3 si rotile Z4, Z5, Z6 , transmite mai departe axelor I2 I3 I4 in cazul cind cuplul rezistent depaseste o anumita valoare (situatia patrunderii unui corp tare intre valturi), conul de frictiune patineaza in locasul sau, intrerupand astfel transmiterea miscarii.
Motorul electric de antrenare este de tipul asincron trifazat, cu rotor in scurt circuit, cu pornire directa, protejat impotriva stropilor de apa.
Modul de lucru al acestui tip de zdrobitor reiese din insasi descrierea sa.

Fig 2.4 Schema sistemului de actionare a zdrobitorului de tip Colin
Caracteristicile tehnice principale sint urmatoarele :
-Productivitatea, in kg. h
-Diametrul valturilor, in mm
-Lungimea valturilor, in mm Turatia valturilor, in rot/min,
- Puterea motorului de antrenare, in kW............
Analiza indicilor de lucru obtinuti cu acest tip de zdrobitor a permis reprezentarea grafica a variatiei acestor indici in functie de reglajul distantei dintre axele valturilor de zdrobire.
Din punct de vedere al indicilor de productivitate si consum rezulta ca :
productivitatea zdrobitorului w creste o data cu marire distantei dintre valturile de zdrobire, ajungand pina la 64 000kg h, pentru reglajul maxim al deschiderii valturilor ;
-puterea necesara antrenarii zdrobitorului in sarcina P1,atinge valoarea minima in cazul reglajului mediu al distanteidintre valturi (154,6 mm) ;
-puterea necesara antrenarii zdrobitorului in gol Po, scadeo data cu marirea deschiderii valturilor ;
-consumul specific de energie W minim este realizat incazul reglajului corespunzator distantei dintre axele valturilor,de cca. 155 mm.
In ceea ce priveste calitatea lucrarii executate de zdrobitor se pot trage urmatoarele concluzii :
-gradul de zdrobire al boabelor Zb scade o data cu marirea distantei dintre valturi; :
-gradul de vatamare al ciorchinilor Zc creste pe masurace distanta dintre valturi se micsoreaza ;
-legat de gradul de vatamare al ciorchinilor, indicele depermanganat indicator al continutului in substante tanice creste o data cu micsorarea deschiderii dintre valturi
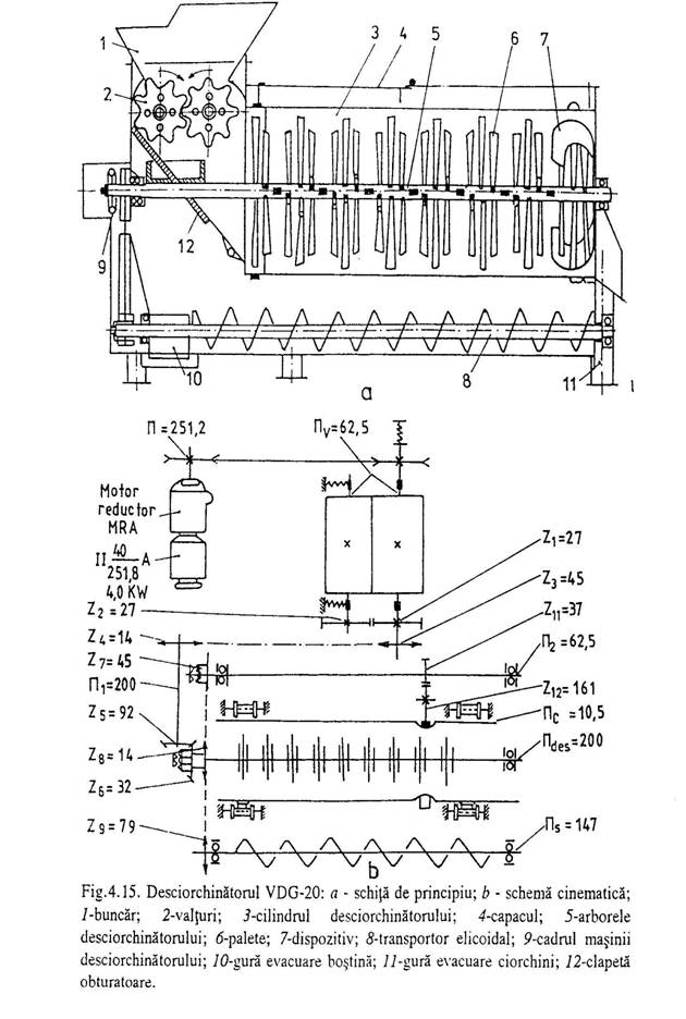
2.3.3Desciorchinatorul de tip VDG-20
In fig.2.5,a este prezentata schita de principiu a desciorchinatorului tip VDG-20, si schema cinematica a acestei masini in fig.2.5 b. Schema principiala a zdrobitorului-desciorchinator cu valturi ramane neschimbata aproape pentru toate variantele de masini din aceasta grupa.
Principiul de functionare al desciorchinatorului tip VDG-20 este urmatorul: recolta este descarcata in buncarul de alimentare de unde trece printre valturile 2 si se zdrobeste. Trecand printre valturi, toata masa de struguri se indreapta spre desciorchinator, bostina este supusa loviturilor paletelor in urma carora bobitele se desprind de ciorchine. Bobitele trec prin orificiile cilindrului perforat ajungand in recipientul de bostina, iar ciorchinele deplasandu-se sub actiunea paletelor se indreapta spre iesire. In partea inferioara a recipientului pentru bostina se afla snecul care transporta bostina la pompa.
Utilajul poate lucra si ca zdrobitor, fara a inlatura ciorchinele si ca zdrobitor desciorchinator Pentru aceasta exista clapeta obturatoare care, ocupand o pozitie sau alta, conduce strugurii zdrobiti catre desciorchinator sau catre recipient.

Fig.2.5. Desciorchinatorul VDG-20:
a - schita de principiu; b - schema cinematica; 1-buncar; 2-valturi; 3-cilindrul desciorchinatorului; 4-capacul; 5-arborele desciorchinatorului; 6-palete; 7-dispozitiv; 8-transportor elicoidal; 9-cadrul masinii desciorchinatorului; 10-gura evacuare bostina; 11-gura evacuare ciorchini; 12-clapeta obturatoare
2.3.4.Masina pentru prelucrarea strugirilorcu productivitate de 20t/h tipVPPV-20
Utilajul (fig.2.6.) este alcatuit din buncarul de receptie 1 pe rundul caruia sunt instalate doua transportoare 2 cu placi, care se misca unul in intampinarea altuia. Fiecare transportor este executat sub forma de banda infinita care este infasurata pe rotile dintate 6,7,8,. Placile aluneca liber de-a lungul ghidajelor 10 . Placile suprapuse una peste alta prezinta varfuri si goluri realizate astfel incat varful de la placa superioara sa corespunda cu golul de la placa inferioara.
Tabelul 2.1. Caracteristici tehnice ale zdrobitoarelor-desciorchinatoarelor cu valturi
|
Tipul VDG-10 VDG-20 VDG-30/50 VDV-20 Productivitatea, t/h 10 20 30-50 20 Valturile: Numarul 2 2 2 2 Turatia rot/min 62.5 62.5 65-70 65 Diametrul mm 317 317 317 317 Turatia arborelui Descirchinatorului 185 200 145 ,160 ,175 - Puterea mecanica de Actionare kW 3 4 3 2.2 Dimensiuni de gabarit 2244*1277* 2840*1270* 3000*1500* 1190*875* L*b*h *1800 *1995 *1980 *850 Masa kg 863 1425 1700 450 |
Sub transportoare este instalat desciorchinatoruli 3 sub care se afla sita de scurgere 4. Bostina, trecand prin sita de scurgere, ajunge in scurgatorul 9, unde sucul o transporta spre prese. Transportoarele si desciorchinatoarele snecului sunt actionate de la motorul electric prin transmisie cu curea.
Principiul de functionare al masinii tip VPPV-20 consta in urmatoarele: masa de struguri ajunge in buncar, care are in partea inferioara doua transportoare cu placi inclinate. Riflurile de pe placile transportoare apuca strugurii si-i indreapta spre orificiul conic care se ingusteaza si unde are loc zdrobirea de mai multe ori a strugurilor si apoi prin sita de scurgere ajung in scurgatorul cu snec. Mustul ravac din scurgator este strans in rezervorul pentru must, iar bostina este trimisa la presare.

Fig. 2.6.Schema masinii tip VPPV-20
1-buncarul de receptie; 2-transportoare cu placi; 3-desciorchinator; 4-sita de scurgere; 5-snec; 6-7-8-roti dintate; 9-scurgator cu snec; 10-ghidaje.
Pentru stabilirea relatiilor de calcul necesare determinarii dimensiunilor de baza ale dispozitivului de inchidere au fost efectuate cercetari experimentale pe instalatia de model geometric asemanatoare scurgatorului de tip VSSS-20/30M.
Cercetarile au fost efectuate cu struguri de soiul Riesling si Acateleii, care sunt prevazute de normative pentru determinarea parametrilor tehnico-tehnologici ai scurgatoarelor.
Au fost realizate incercari comparative ale buncarului de receptie cu zdrobitoare dupa metoda clasica /Jdanovici G.A. 1967/. Productivitatea liniei experimentale a fost 50 t/h. Pentru comparatie a fost folosit buncarul de receptie cu snecul dozator si zdrobitoare de tip VD-30 din linia de prelucrare a strugurilor cu productivitatea de 30 t/h.
Rezultatul cercetarilor a stabilit ca, in cazul folosirii echipamentului de incercare, continutul in must al substantelor absolut uscate se micsora cu 0,2%, continutul ramasitelor ciorchinilor cu 1,7%, substante fenolice cu 77.5 mg/dm5, fier cu 6,0 mg/dm3 in comparatie cu varianta controlata. Ceilalti indici ai calitatii zdrobirii strugurilor au fost aceiasi.
Datele obtinute demonstreaza ca mustul obtinut pe modelul de incercare
are o calitate superioara fata de cel controlat si productivitatea este mai mare
Constructia unui zdrobitor cu valturi profilate si cu role este urmatoarea (fig.2.7) pe fundul buncarului de receptie 1 sunt instalate dispozitive de zdrobire. Intre acestea, fixata pe peretii buncarului, este instalata placa de separare 2.

I Fig.2.7.Schema tehnologica a masinii
1-buncarul de receptie; 2-placa de separare; 3-valturi; 4-role; .5,6-axele de rotire: 7,8-degajarile valturilor; 9-urechile barelor de montare a rolelor.
Dispozitivele de zdrobire constau din doua valturi cuplate 3 cu varfuri si degajari cu acelasi profil. Pe varfurile fiecarui valt sunt montate rolele 4 care au posibilitatea de a se roti. Axele acestor role sunt paralele cu axele 6 de rotire a valturilor. Rolele sunt fixate in degajarile 7 ale valturilor. Axele rolelor sunt fixate in urechile barelor de montare fixate pe partile frontale ale valturiior, iar suprafetele rolelor si ale valturilor sunt cauciucate.
Principiul de functionare al utilajului este urmatorul: strugurii se toarna in buncarul de receptie. Peretii inclinati ai buncarului si placa de separare a fluxului 2, datorita masei proprii a strugurilor, ii dirijeaza spre dispozitivul de zdrobire. Ca urmare a rotirii valturilor 3 in sensuri opuse, strugurii sunt atrasi in spatiul dintre rolele 4 si degajarile 8. Rotindu-se in jurul axei sale in degajare, rola se rostogoleste pe masa de struguri si compenseaza complet diferenta vitezelor de rotatie ale suprafetelor tangentiale ale valturilor si exclude miscarea si frecarea strugurilor.
2.3.5.Masina tip zdrobitor desciorchinator cu dispozitivde prelevare a mustului

|
|
Fig. 2.8.Schema tehnologica a masinii tip zdrobitor desciorchinator cu dispozitiv de prelevare a mustului
1-buncar; 2-valturile; 3-obrurator; 4-palete; 5-cilindru perforat; 6-arborele desciorchinatorului; 7-jgheab pentru evacuare; 8-snec; 9, 10-ciur; 11-snec.
Strugurii din buncarul 1 cad pe valturile 2, de unde prin obturatorul 3 ajung pe arborele 6 al desciorchinatorului cu paletele 4, ciorchinele evacuandu-se prin jgheabul 7, iar bobitele zdrobite prin perforatiile cilindrului 5 ajungand la snecul 8..
Aceasta masina se deosebeste de celelalte utilaje, de acelasi tip, prin faptul ca pentru evacuarea bostinei se utilizeaza doua snecuri 8 si Ultimul este montat sub un unghi de 45°. Sub ambele snecuri sunt instalate doua ciururi prin care la miscarea bostinei se elimina mustul.
Avantajele acestei masini constau in: posibilitatea obtinerii unui must de diferite fractii; incetinirea procesului de oxidare a bostinei (datorita micsorarii timpului ei de prelucrare), micsorarea suprafetei necesare productiei (prin scoaterea din linie a scurgatorului) si in universalitatea utilizarii (datorita obturatorului 3 pot fi prelucrati struguri cu separarea si fara separarea ciorchinilor).
La fabricile de vin si de sucuri, pentru maruntirea fructelor si bobitelor sunt folosite zdrobitoare de fruncte si legume tip CDP-4 sau masina de taiat radacinoase tip CPI-4. Exista intreprinderi unde fructele cu samburi se prelucreaza in vederea obtinerii sucului pe liniile de prelucrare a strugurilor, in care, pentru maruntirea fructelor se folosesc masini de tip centrifuge. Utilizarea masinilor de maruntire prezentate nu permite obtinerea unei bostine destul de omogene din punct de vedere al compozitiei si cu proprietati extractive destul de bune. in bostina este continuta o cantitate anumita de particule destul de mici (pana la 1 mm), ca urmare a acestui fapt la presare si scurgere sucul se imbogateste cu particule in suspensie. In afara de aceasta, valorile inalte ale vitezelor liniare ale organelor de lucru accelereaza oxidarea bostinei si sucului. La ICSIA din Crimeea (filiala din Simferopol), au fost realizate zdrobitoare cu valturi tip- VDV-5 pentru maruntirea fructelor, inainte de a extrage din ele sucul prin scurgator si presa.
Zdrobirea se realizeaza prin doua valturi antrenate prin transmisie dintata sincrona si montate in buncarul de incarcare. Valtul conducator este antrenat in miscare de rotatie de motorul electric prin cuplajul de siguranta si reductorul cu melc. Toate piesele si subansamblurile care se afla in contact cu materia prima si cu bostina sunt executate din materiale speciale.
Variatia jocului dintre valturi permite evitarea zdrobirii semintelor, incercari experimentale pe zdrobitoare tip VDV-5 au fost efectuate la fabricarea de vin din Simferopol si la fabricarea de vinuri din fructe din Minsk. Au fost obtinute urmatoarerele productivitati tehnice: 5-7; 5-6; 3,2-3,5 si 5,8-6 t/h, pentru diferite tipuri de vinuri.
Consumul specific de energie electrica a fost 0,25-0,5 kW h/t. Au fost realizate valturi cu aripioare cu profil variat, dintre care, cele cu profil triunghiular sunt cel mai des utilizate.
In urma experientelor efectuate, s-a constat ca sucul de visine obtinut
la presa de struguri tip VPND-10 contine
15-17% suspensie, atunci cand s-a
realizat prin zdrobire. .
Dupa schimbarea acestui zdrobitor cu cel de tip VDV-5, continutul suspensiilor in suc s-a micsorat pana la 7-8,5%. Zdrobitorul tip TDG-20 separa pana la 90% din codite si 1-20% din samburi, ceea ce inrautateste considerabil conditiile de separare a primei fractii de suc de celelalte fractii. Umiditatea tescovinei la utilizarea zdrobitorului tip VDV-5 s-a micsorat cu 3%.
In urma rezultatelor incercarilor experimentale au fost recomandate, pentru fabricare, zdrobitoarele de tip VDV-5.
2.3.6.Zdrobitorul turbina "Paul"
2.9 este unul din tipurile cele mai reprezentative din aceasta categorie. Se compune din : cadru l carcasa 2, axul cu palete 3, axul de antrenare grupul conic 5, jgheabul intermediar 6 si jgheabul de evacuare 7. Antrenarea zdrobitorului este realizata de un motor electric, sau termic, independent, prin intermediul unei curele late si a rotii de curea 8.
Paletele montate pe axul 3, constituie organele active ale zdrobitorului. Prin rotirea axului cu palete la o turatie de 600 700 rot/min, strugurii introdusi prin partea superioara a carcasei 2 sint centrifugati de prima paleta spre peretii acestei carcase si zdrobiti. Mustuiala rezultata se scurge prin jgheabul intermediar spre paleta a doua care realizeaza cea de a doua centrifugare. Materialul zdrobit este evacuat prin jgheabul 7.
Productivitatea acestui utilaj atinge
valoarea de 20 000 kg struguri
. Datorita aerisirii puternice a mustuielii
creata de turatiamare a paletelor turbinei,
zdrobitorul turbina este din ce in cemai rar folosit.
|
|
Fig.2.9. Schema zdrobitorului turbina "Paul"
2.3.7.Zdrobitoare - desciorchinatoare centrifuge cu socuri
Particularitatea specifica a principiului de functionare a zdrobitoarelor desciorchinatoare centrifuge cu socuri este realizarea simultana a operatiilor de zdrobire si desciorchinare efectuate de catre rotorul masinii. Aceste masini sunt caracterizate de o turatie mare a rotorului (pana la 450-500 rot/min).
In functie de pozitia organelor de executie, zdrobitoarele-desciorchinatoare centrifuge cu socuri se subimpart in utilaje verticale si orizontale.
In cazul celor orizontale, in bostina ramane o cantitate oarecare de boabe nezdrobite si, prin urmare, este necesara introducerea unui dispozitiv suplimentar de zdrobire.
Din punct de vedere tehnologic, existenta vitezelor mari ale organului de executie in zdrobitoarele centrifuge cu socuri se reflecta negativ asupra calitatii mustului, in comparatie cu zdrobitoarele cu valturi.
In fig2.10. sunt prezentate schemele principiale ale zdrobitoarelor-desciorchinatoare centrifuge cu socuri. Principalul organ de lucru al masinii este rotorul, care este reprezentat de un arbore vertical 1 (in cazul al doilea-arbore tubular) cu bratele 2. La extremitatea de jos a arborelui este instalat un suport in cruce 7. Fiecare pereche de brate este fixata pe arbore sub un unghi de 90° fata de cea vecina. Pe suportul 7 sunt instalate paletele verticale 3, care sunt incovoiate pe spirala in spatiul inelar dintre doi cilindri. Cilindrul exterior 6 este perforat si comunica cu recipientul pentru bostina al masinii. Arborele cu brate se afla in cilindrii 4 si 5 care, la randul lor, se afla in interiorul cilindrului 6.
Suprafata laterala interioara a cilindrului mic 5, in primul caz, este ondulata, pentru marirea rezistentei la lovirea strugurilor de peretii cilindrului. La varianta b, 8 reprezinta un arbore vertical pentru paletele inclinate. Paletele elicoidale sunt destinate separarii cat mai exacte a resturilor de coaja a bobitelor, separarii bobitelor de ciorchinii patrunsi in spatiul inelar dintre cilindri, precum si transportului ciorchinilor catre orificiul de evacuare si inlaturarea lor din zdrobitor.
Schema prezentata (varianta a) corespunde zdrobitoarelor tip TDG-20, TDG-30 din R.Moldova si sistemului BLACHERE (Franta, Algeria).
Firma 'Blachere' produce, de asemenea, zdrobitoare in patru variante ale caror caracteristici tehnice sunt prezentate in tabelul 2.2.
Tabelul.2.2. Caracteristicile tehnice ale zdrobitoarelor produse de firma Blachere'
|
Productivitatea, t/h 8 18 30 Turatia rotorului, rot/min 550 450 450 Puterea electromotorului, kW 4.416 5,888 7,36 Dimensiunile de gabarit, mm Lungimea 1600 1800 2100 Latimea 1000 1100 1200 Inaltimea 1600 1700 1800 Masa , kg 400 600 700 |

Fig.2.10. Schema tehnologica a zdrobitorului-desciorchinator centrifug cu socuri
a- cu arbore comun, cu brate si palete; b- cu arbori de actionare, separati; 1,8-arbori: 2-brate; 3-palete elicoidale; 4-cilindri interiori netezi; 5-cilindru interior ondulat; 6-cilindru exterior perforat; 7-suport in cruce.
Firma 'Garolla' (Italia) produce zdrobitoare cu productivitatea de 30 si 40 t/h(stationare) si de 10 t/h (mobile). Asemenea tipuri de zdrobitoare sunt produse si de firma 'Gianazza' (Italia).
Analizandu-se procesul de lucrul al acestor masini, s-a stabilit ca, dupa lovirea cu bratul, strugurele primeste o viteza considerabila si poate sa iasa din camera de zdrobire, trecand pe langa celelalte brate. Practic, in camera de zdrobire se efectueaza nu mai mult de 1-2 lovituri ale bratelor pe fiecare strugure.
Zdrobitoarele-desciorchinatoare cu brate, cu dispunerea verticala a organelor de lucru, prezinta o eficienta tehnologica scazuta. Un rol important in distrugerea bobitelor si in desciorchinare il are procesul de transport al strugurilor cu ajutorul paletelor elicoidale catre orificiul de iesire pentru ciorchini, proces care este insotit de o frecare intensa a strugurilor pe suprafata cilindrului perforat.
Sunt posibile mai multe metode de inlaturare partiala a
acestor neajunsuri. Astfel, in Italia, Franta precum
si in alte tari sunt patentate utilajele tip
zdrobitor-desciorchinator verticale cu asa-numita alimentare cu struguri
'de jos', dintre asemenea constructii deosebindu-se zdrobitoarele
'Blachere' fara brate. Pentru
zdrobitoarele-desciorchinatoare cu alimentare 'de jos' nu este necesara instalarea receptorului de bostina.
O metoda de marire a gradului de uniformitate al zdrobirii strugurilor este folosirea mecanismelor de actionare separata a arborelui cu brate de cel cupalete elicoidale.
Un asemenea tip de utilaj este cel reprezentat in ftg.2.10.b care este realizat dintr-un corp cilindric, pe a carui parte dorsala este instalata fereastra pentru evacuarea ciorchinilor.
Concentric corpului este asezat un cilindru interior 4deasupra caruia este instalat buncarul de alimentare. in interiorul corpului, concentric cu acesta, se afla si cilindrul perforat 6. Pe axa corpului cilindric vertical este instalat arborele S, care in partea de jos, cu ajutorul unui suport de tip cruce orizontal 7, are fixate paletele elicoidale 3. Pe arborele tubular 1sunt instalate bratele 2
Strugurii se rastoarna in buncarul zdrobitorului, de unde trec in cilindrul mic unde, cu ajutorul bratelor care se rotesc, se realizeaza zdrobirea strugurilor si desciorchinarea. in partea inferioara a corpului, strugurii sunt aruncati datorita fortei centrifuge pe paletele elicoidale. Bobitele zdrobite cad prin gaurile cilindrului perforat si sunt evacuate prin fereastra speciala.
Tabelul2.3. Caracteristici tehnice ale zdrobitoarelor-desciorchinatoare centrifuge cu socuri
|
Tipul TDG-20 TDG-30 TDG-30A TDG-50 Productivitatea, l/h 20 30 30 50 Turatia arborelui cu brate, 275; 350: 250;300; 125;175; 75; 110; rot/min 425;500 350;400 225:275 150;180 Turatia paletelor elicoidale, 275;300; 250;300; 400 300 rot/min 425:500 350:400 Puterea mecanica de actionare, 7.5 10 10 13 kW Dimensiuni de gabarit, mm Lungimea 1890 1960 1960 2190 Latimea 1300 1966 1800 3120 Inaltimea 1000 1800 2100 3200 Masa 600 1080 1080 3480 |
Urmatoarea schema functionala sta la baza constructiilor utilajelor TDG-20, TDG-30A si TDG-50 care au productivitatea de 20, 30 si respectiv 50t/h. in fig.2.11. este prezentata schema tehnologica a zdrobitorului TDG-50.
Fig. 2.11.Zdrobitorul -
desciorchinator centrifug cu socuri de tip T.D.G.- 50
1-corpul cilindric; 2-cilindrul interior; 3-buncarul de alimentare; 4-cilindrul perforat exterior: 5-arborele pentru desciorchinator; <6-suport in cruce: 7-paleteIe elicoidale; 8-arbore pentru actionarea zdrobitorului; 9-brate orizontale (ale zdrobitorul
2.3.8. Zdrobitor - scurgator
Zdrobitoarele scurgatoare au fost construite din necesitatea simplificarii prelucrarii strugurilor, prin realizarea scurgerii mustului liber, concomitent cu zdrobirea strugurilor.
Este format dintr-un zdrobitor cu valturi canelate 2 (fig.2.12.) turnate din arama, avand la partea inferioara un transportor de mustuiala cu melc 3, cu ajutorul caruia se realizeaza scurgerea mustului liber.

Turatia melcului este 24 rot/min iar distanta dintre
valturi 2,25-9,75 mm.
Fig.2.12.Zdrobitor scurgator
1-palnie de alimentare, 2valturi canelate, 3-melc transportor, 4-racord evacuare must, 5-palnie evacuare mustuiala scursa, 6-cilindru perforat
Mustuiala zdrobita de cele doua valturi ale zdrobitorului cade intr-un jgheab de tabla perforat montat la partea inferioara a carcasei. in acest jgheab este montat un melc transportor inclinat la 20-25°, care vehiculeaza mustuiala de-a lungul sau si a unui cilindru perforat montat in prelungirea jgheabului de mustuiala. Mustul liber se scurge prin orificiile jgheabului si cilindrului perforat, iar mustuiala scursa este eliminata prin gura de evacuare 5. Mustul scurs se colecteaza intr-un bazin plasat sub jgheabul perforat, de unde prin racordul 4 se scurge spre cisternele de colectare ale cramei.
Din cauza lipsei desciorchinarii si a comprimarii mustuielii in dispozitivul de scurgere, mustul obtinut cu acest utilaj este foarte bogat in substante tanante. Totodata, prin frecarea mustuielii de peretii cilindrului perforat, are loc o maruntire a componentelor solide, care duce la marirea procentului de burba din must.
Folosirea
zdrobitoarelor-scurgatoare de acest tip nu este recomandabila decat in situatia in care strugurii care trebuie
prelucrati sunt de calitate inferioara, astfel
incat o prelucrare complexa nu ar fi rentabila.![]()
Caracteristici tehnice: capacitatea de prelucrare: 5-6 t/h; puterea electromotorului 2,8 kW; capacitatea cosului de alimentare 80 1; turatia valturilor 120 rot/min; turatia melcului 24 rot/min; distanta dintre valturi 2,25-9,75 mm.
La reglarea distantei dintre valturi, se tine seama de: diametrul boabelor, starea recoltei de struguri, forma suprafetei valturilor.
Intretinerea consta in spalarea zilnica cu jet de apa, dupa incetarea activitatii. Se spala palnia de alimentare, valturile zdrobitoare, gura de evacuare, partile interioare, dupa scoaterea capacelor laterale si demontarea sitei de fund din dreptul capacelor.
Revizia masinii se face o data pe an, la sfarsitul sezonului, si consta in demontarea masinii, curatirea organelor de lucru si verificarea lor.
2.3.9.Zdrobitoare desciorchinatoare cu pompa
Zdrobitoarele desciorchinatoare cu pompa. Destinate zdrobirii, desciorchinarii si pomparii mustuielii spre scurgatoare sau spre bazinele de fermentare, zdrobitoarele desciorchinatoare cu pompa, sint folosite in aproape toate marile complexe vinicole din tara noastra.
Complexitatea lor, calitatea superioara a lucrarii efectuate, spatiul restrins pe care il ocupa si simplitatea reglarii lor, fac ca aceste utilaje sa poata fi folosite atit in liniile de vinificatie destinate vinurilor curente cit si in cele pentru vinuri de marca.
noastre, sint zdrobitorul desciorchinator cu pompa "Independenta' Sibiu si cel "Tehnofrig' Cluj.
Datorita productivitatii sale reduse si indicilor calitativi de lucru inferiori celor obtinuti cu agregatul de mare capacitate "Tehnofrig', cel dintai este folosit numai in liniile de vinificatie de capacitate mica destinate prepararii vinurilor curente.
n marile complexe vinicole, atit la prepararea vinurilor curente cit si a vinurilor superioare este folosit zdrobitorul desciorchinator cu pompa "Tehnofrig',
2.3.9.1.Zdrobitorul desciorchinator cu pompa "Independenta' prezentat in figura 2.13 este compus din urmatoarele ansamble principale

Zdrobitorul 1, desciorchinatorul 2, pompa de mustuiala 3, si sistemul de actionare 4.
Zdrobitorul, de tipul cu valturi canelate, se compune la rindul sau dintr-un buncar de alimentare 5, cadrul metalic al zdrobitorului si doua valturi cu caneluri drepte.
Desciorchinatorul, de tipul centrifugal, se compune din cadrul 7, carcasa cilindrica cilindrul perforat axul cu palete si jgheabul de evacuare a ciorchinilor 11.
Pompa de mustuiala, este de tipul cu piston si serveste la transportul mustuielii din bazinul de colectare 12 spre scurgatoare, sau spre cisternele de fermentare.
Sistemul de actionare, compus dintr-un motor electric si o transmisie cu curele si roti dintate 14 serveste la antrenarea diferitelor organe in miscare.
Caracteristicile tehnice principale ale acestui agregat sunt urmatoarele :
Lungimea, in mm
Latimea, in mm
inaltimea, in mm
Greutatea, in kg
Productivitatea, in kg/h
Diametrul pistonului pompei, in mm...........
Cursa pistonului, in mm
Turatia axului de antrenare a pompei, in rot/min...
Puterea motorului electric, in kW.............
Turatia motorului electric, in rot/min .
Calitatea lucrului efectuat cu acest agregat lasa de dorit aceasta clin cauza cresterii exagerate a continutului in fier si tanin din must. Cresterea continutului de fier se datoreaza executarii din materialele oxidabile a unor organe ale masinii ce vin in contact cu mustul, iar imbogatirea in tanin rezulta din procentul mare de vatamari provocate de organele active ale agregatului asupra ciorchinilor si semintelor.

Fig 2.13. Zdrobitorul desciorchinator cu pompa "Independenta"
Zdrobitorul desciorchinator cu pompa ZDP Tehnofrig Cluj Folosit in marile complexe vinicole din tara noastra.' tindesa inlocuiasca zdrobitorul desciorchinator ,,Independenta' datorita indicilor sai calitativi de lucru si a celor de productivitate, superiori.
Acest agregat (fig 2.14) se compune clin : cadrul zdrobitorul 2, buncarul de alimentare carcasa desciorchinatonilui capacul cilindrului separator 5, cilindrul separator axul desciorchinator 7, jgheabul de evacuare a ciorchinilor 8, clapeta de scoatere din fluxul tehnologic a desciorchinatorului 9, pompa de mustuiala 10, dispozitivul de siguranta al zdrobitorului 11, electromotorul
Cadrul, 'este o constructie metalica din profile U si cornier, sudate, pe care sint montate in Suruburi diferitele organe ale masinii. Acesta este fixat pe fundatie prin sase suruburi speciale

Fig.2.14. - Zdrobitorul desciorchinator cu pompa ZDP-Tehiiofrig-Cluj
Zdrobitorul (fig. 2.14.) de tipul cu cilindrii canelati este format dintr-un cadru metalic 1 pe care sint montate patru valturi canelate 2 antrenate de catre roata dintata libera 3 prin intermediul cuplajului de frictiune 4 axul 5 si rotile dintate 6 .Cele patru valturi sint imbracate in exterior cu o camasuiala de otel inoxidabil. Valturile extreme sint montate pe bucse excentrice de fonta, care permit, prin rotirea lor, reglarea distantei dintre ele si valturile fixe.
Pentru evitarea deteriorarii diferitelor organe ale. masinii in cazul intrarii unor corpuri tari intre valturi, zdrobitorul este prevazut cu un dispozitiv de siguranta cu con de frictiune
In functionarea normala, cuplul motor primit de roata de lant 1 montata pe butucul rotii dintate 2 ce se roteste liber pe axul se transmite axului 6 prin intermediul rotii dintate libere 4 si a conului de frictiune 5. Stringerea conului de frictiune 5 in locasul sau de pe roata dintata 4 se face cu ajutorul piulitelor 7 si a saibei elastice 8. In cazul cind cuplul rezistent depaseste o anumita valoare, conul de frictiune patineaza in locasul sau intrerupind astfel transmiterea miscarii la valturi.
Buncarul de alimentare, montat pe cadrul zdrobitorului, este construit din tabla de otel si profile cornier sudate. Pentru evitarea contactului strugurilor cu fierul, in interior, buncarul este acoperit cu un strat de vopsea rezistenta la actiunea acizilor din must. in partea opusa celei din care se face alimentarea cu struguri acesta este prevazut cu un perete mai inalt pentru evitarea caderii strugurilor in afara buncarului.
Carcasa desciorchinatorului, construita din tabla de otel inoxidabil, se compune din trei parti. Carcasa superioara prin care cad strugurii zdrobiti jgheabul cilindrului separator, de-a lungul caruia este montat cilindrul separator si carcasa inferioara in care se colecteaza mustuiala desciorchinata inainte de a fi preluata de catre pompa cu piston.
In interiorul carcasei superioare este montata o clapeta (plan inclinat) cu ajutorul careia se face dirijarea strugurilor zdrobiti, fie spre cilindrul separator, fie direct spre carcasa inferioara. Pe carcasa superioara este montat lagarul anterior al axului desciorchinator, un suport al lantului de antrenare si un intinzator de lant. in peretele lateral-stinga al carcasei superioare este practicata o gura de vizitare inchisa cu un capac prins in trei suruburi cu piulite fluture. Pe jgheabul cilindrului separator este montat suportul lagarului posterior al axului desciorchinator si jgheabul de evacuare a ciorchinilor. Carcasa inferioara este prevazuta de asemenea in partea laterala stinga cu o gaura de vizitare identica celei din carcasa superioara.
Capacul cilindrului separator, construit din tabla de otel inoxidabil, avind o forma semicilindrica, este montat, cu ajutorul unor cleme, deasupra jgheabului cilindrului separator. Pe corpul capacului sint montate, in exterior patru minere pentru manipulare.
Cilindrul separator este un tambur din tabla de otel inoxidabil, perforata, pe care este nituita la capatul anterior o coroana dintata de antrenare, iar la capatul posterior un inel de rulare. Pe corpul tamburului sint montati, in exterior, opt segmentl de spira, care transporta spre carcasa inferioara a desciorchinatorului boabele cazute in jgheabul cilindrului separator prin orificiile tamburului.
Axul desciorchinator, plasat in interiorul cilindrului separator, se compune dintr-un ax pe care sint montate, prin filetare si piulite de siguranta, o serie de palete dispuse in spirala. Atit axul cit si paletele sint confectionate din otel inoxidabil. Axul se sprijina pe doua lagare cu rulmenti, iar la capatul sau anterior sint montate, prin impanare, doua roti de lant.
Pompa de mustuiala este formata dintr-un batiu de fonta 1 pe care sunt montate in exterior ; axul intermediar 2 arborele cotit 3 corpul de alimentare 4 capacele de vizitare 5 si corpul de evacuare 6. Pe corpul de evacuare sint fixate capacele de vizitare 7 si recipientul tampon 8 in interiorul batiului este montata camasa cilindrului, executata din bronz, de-a lungul careia culiseaza pistonul pompei, confectionat din silumin. Acest piston este format din trei corpuri (corpul, camasa si fusta pistonului) asamblate intre ele cu ajutorul unor prezoane cu piulite intre cele trei corpuri sint montati trei segmenti de piele si unul din bronz, care asigura etansarea camerei de compresie. Pe corpul pistonului este fixat boltul, pe care este montat capul mic al bielei.
La partea inferioara a bazinului, tot in interior, de-o partesi de alta a camerei de compresie, se afla doua supape, de tip ecluza, una de admisie si una de refulare. Actionarea acestorsupape este realizata de presiunea sau depresiunea creata de miscarea pistonului in cilindru, si de patru resorturi care tind sa le tina permanent inchise. .
In figura 2.15. este prezentata schema procesului tehnologic executat de catre agregatul zdrobitor-desciorchinator cu pompa.
Strugurii descarcati in buncarul 1 sunt antrenati, prin rotirea valturilor zdrobitorului intre acestea, si zdrobiti, dupa care cad pe peretele inclinat al clapetei 2. De aici strugurii aluneca spre cilindrul separator 3 de unde sint preluati de paletele axului separator 4 care ii antreneaza spre jgheabul de evacuare a ciorchinilor 8. Prin rotirea axului desciorchinator paletele 11 ale acestuia lovesc ciorchinii cu boabe, proiectandu-se spre peretii cilindrului separator si desprinzind boabele de pe ciorchini. Paletele axului desciorchinator, dispuse in spirala, antreneaza ciorchinii fara boabe, spre partea posterioara a cilindrului separator si ii evacueaza prin jgheabul 8. Pentru prelungirea sau scurtarea timpului cit ciorchinii sint supusi actiunii paletelor, acestea sint prevazute cu posibilitatea de reglare a orientarii lor prin rotirea in jurul axei proprii. Boabele desprinse de pe ciorchini cad, prin orificiile practicate in peretii cilindrului separator, in jgheabul acestuia, de unde prin rotirea cilindrului (in sens invers sensului de rotire al axului desciorchinator) sint impinse de catre segmentii elicoidali 10 spre carcasa inferioara a agregatului. Din carcasa inferioara, boabele zdrobite si mustul sint aspirate de catre pompa P si evacuate catre scurgator, prin gura de refulare 7. Pentru uniformizarea presiunii in conducta de refulare, pompa este prevazuta cu recipientul tampon 6 montat pe corpul de evacuare al acesteia, care creeaza o perna de aer ce se comprima la fiecare cursa activa a pistonului.
|
|
Fig.2.15. Schema procesului tehnologic al zdrobitorului drsciorchinator cu pompa
Analiza indicilor de lucru obtinuti cu acest tip de zdrobitor desciorchinator permite urmatoarele concluzii :
Productivitatea agregatului, limitata de
productivitatea zdrobitorului, variaza in limite
extrem de largi (19 000-31 000kg ha, in functie de
calitatea materialului). Pentru strugurii cuun grad de coacere foarte avansat (boabe stafidite si ciorchini
cu un pronuntat grad de lignificare), valoarea
acestui indice coboara catre limita
inferioara. La soiurile cu boaba mare(continut mare de
lichid), recoltate la un gradnormal de coacere (ciorchini friabili), valoarea indicelui tinde catre limita
superioara.
Consumul de energie necesara antrenarii agregatului variaza intre 2,5 si 6,5 kw, consumul mediu inregistrat pe o perioada mai lunga de timp avind valoarea de 4,5 kW.
Indicii calitativi de lucru ai agregatului, imbogatirea mustului in substante tanice si fier, sau vatamarea ciorchinilor sisemintelor se incadreaza in limitele valorice impuse de cerintele ecologice.
Procentul de must ramas in ciorchini dupa desciorchinare, must ce se pierde o data cu evacuarea ciorchinilor din crama, are valori destul de mari (cca. 10% din greutatea totala a ciorchinilor).
Se mentioneaza ca acest indice variaza in functie de procentul de boabe ramase nezdrobite dupa trecerea strugurilor prin zdrobitor, procent care la rindul sau depinde de calitatea materialului supus zdrobirii , la strugurii cu boabe mici si un grad de coacere avansat (stafiditi) procentul de boabe nezdrobite creste. Aceste boabe au o aderenta mai buna la ciorchini si se separa mult mai greu de acestia.
La prelucrarea unui astfel de material distanta dintre valturile zdrobitorului trebuie sa fie reglata la minim, iar unghiul de inclinare al paletelor axului desciorchinator sa fie de asemena reglat la minim, astfel ineit timpul de trecere al ciorchinilor prin cilindrul separator sa fie cit mai lung.
Zdrobitorul desciorchinator cu pompa si scurgator de ciorchini tip Coq
Prezinta unele noutati de ordin functional fata de agregatele cu aceleasi destinatii.
Acest agregat, (fig. 2.16.) se compune din zdrobitorul 1 desciorchinatorul 2 scurgatorul de ciorchini 3 si pompa de mustuiala 4 intreaga constructie este montata pe cadrul metalic 5. Zdrobitorul este de tipul cu doi cilindrii canelati. Avand muchiile canelurilor rotunjite. Constructia sa permite reglarea distantei dintre valturi, in functie de calitatea materialului supus zdrobirii. Organele active si piesele ce vin in contact cu mustul sint construite din otel inoxidabil.
Desciorchinatorul, de tipul centrifugal orizontal, se compune dintr-o carcasa metalica 6 in interiorul careia se rotesc, in sensuri contrarii, cilindrul separator 7 si axul cu palete 8. Pentru antrenarea ciorchinilor spre scurgatorul de ciorchini, paletele axului desciorchinator sunt dispuse in spirala. Transportul boabelor zdrobite care cad prin orificiile cilindrului separator, este realizat de catre melcul 9. Pentru cazul in care desciorchinarea nu este necesara, constructia este prevazuta cu o clapeta (plan inclinat) care permite dirijarea mustuielii direct spre pompa de mustuiala. Organele active ale desciorchinatorului sunt confectionate din otel inoxidabil
|
|
Fig2.16. Zdrobitorul
deseiorchinator cu pompa
si cu scurgator.
Scurgatorul de ciorchini, de tip centrifugal, montat in prelungirea desciorchinatorului, se compune dintr-un cilindru perforat 10 ce se roteste odata cu cilindrul separator al desciorchinatorului, bucsa cu palete 11 care imbraca partea posterioara a axului desciorchinator si care se roteste liber pe acest ax si conducta a de evacuare a ciorchinilor 12. Scurgatorul de ciorchini foloseste la scurgerea mustului ramas in ciorchini dupa desciorchinare si la evacuarea acestora din sala de prelucrare. Ambele operatii sint realizate de catre bucsa cu palete, prin centrifugare, turatia sa fiind mult mai mare ca cea a axului desciorchinator. Organele ce vin in contact cu mustul sint construite din material inoxidabil.
Pompa de mustuiala este de tipul cu piston, si serveste la transportul mustuielii la scurgatoare, sau la cisternele de fermentare.
Actionarea zdrobitorului, desciorchinatorului si pompei este realizata de catre un motor electric de 3,7 kW cu 920 rot'min.
Bucsa cu palete a scurgatorului de ciorchini este antrenata separat de catre un electromotor de 1,5 kW si 1440 rot/tmin.
Schema cinematica a agregatului este prezentata in figura 2.17. Cuplul motor, dezvoltat de catre electromotorul M1 se transmite axului valt 1 al zdrobitorului, prin rotile de curea Q si C2, si patru curele trapezoidale. De aici este distribuit axului-valt 2 prin rotile de lant a1 si a2 si axului intermediar 3, prin rotile de lant z1 si z2. Tot de la roata de lant z1 prin excentricul acesteia, se face antrenarea pistonului P al pompei de mustuiala. De la axul intermediar 3 cuplul este transmis axului deseiorchinator 4 prin grupul conic c1 si c2, si de la acesta, prin rotile de lant z4, z5 si z6 la axul 4 al melcului transportor de mustuiala si la axul intermediar 7. De la axul intermediar 7 miscarea este transmisa cilindrului separator prin roata dintata cilindrica a3 si coroana a4
Antrenarea bucsei cu palete 5 a scurgatorului de ciorchini este realizata de catre electromotorul M2 prin intermediul rotilor de curea C3 si C4 si a unei curele trapezoidale.
zdrobitorului deseiorchinator "Tehnofrig'. Ceea ce este diferit in modul de lucru al agregatului ,,Coq" este sistemul de transport al mustuielii desciorchinate spre pompa de mustuiala si cel de scurgere al ciorchinilor. Primul este realizat de melcul transportor plasat sub cilindrul separator al desciorchinatorului ; cel de al doilea se realizeaza de catre scurgatorul de ciorchini, care este montat in prelungirea desciorchinatorului.
orificiile practicate in cilindrul separator, in jgheabul melcului transportor unde sint preluate de catre acesta din urma si transportate spre bazinul de colectare al pompei de mustuiala.
Ciorchinii fara boabe, ramasi in cilindrul separator, sint antrenati de catre paletele axului deseiorchinator spre scurgatorul de ciorchini. in scurgator ciorchinii sint preluati de paletele.

Fig.2.17. - Schema cinematica zdrobitorului deseiorchinator cu pompa si cu scurgator de ciorchini, tip Coq
bucsei, care se roteste cu o turatie de 760 rot/min si apoi centrifugati spre peretii cilindrului perforat al scurgatorului. Orificiile practicate in acest cilindru permit trecerea mustului aderent la ciorchini, retinind in interiorul cilindrului ciorchinii scursi. Dispunerea in spirala a paletelor bucsei scurgatorului face ca ciorchinii ramasi sa fie impinsi spre conducta de evacuare a scurgatorului prin care sint proiectati, centrifugal, in afara salii de prelucrare.
Caracteristici tehnice principale sint urmatoarele :
Productivitatea in kg/h
Turatia axului cu palete al desciorchinatorului, in
rot/min
Turatia bucsei cu palete a scurgatorului, in rot/min.....
inaltimea de ridicare a ciorchinilor evacuati, in mm.....
Puterea motorului de antrenare a agregatului, in kW....
Turatia motorului de antrenare a agregatului, in rot/min....
Din punct de vedere al calitatii lucrului efectuat, acest tip de zdrobitor deseiorchinator prezinta avantajul unei zdrobiri mai complete a strugurilor (0,82% boabe nezdrobite, fata de 3% realizate cu agregatul Tehnofrig) fara vatamarea semintelor sau ciorchinilor. Acest avantaj este dat de folosirea unor valturi a caror caneluri au muchiile rotunjite. De asemenea, prin folosirea scurgatorului de ciorchini, se evita pierderile de must ramas in ciorchini dupa separarea acestora de restul mustuielii.
Ca dezavantaj se mentioneaza productivitatea sa relativ mica (13 000-17 000 kg/h) si aerisirea puternica a mustuielii provocata de scurgatorul de ciorchini, a carui bucse cu palete lucreaza ca rotorul unui ventilator ce aspira aerul prin gura de alimentare a zdrobitorului si il refuleaza prin conducta de evacuare a ciorchinilor.
Cel mai eficace sistem de recuperare a mustului din ciorchini, este folosirea unui scurgator independent, in care numai mustul recuperat sa fie supus actiunii curentului de aer creat de paletele axului scurgatorului.
|