Mecanismul motor - diagnosticare
3.3.1.1. Aspecte generale
Starea tehnica a mecanismului motor (compus din grupul piston-cilindru, biela, arbore motor si lagare) se poate inrautati ca urmare a modificarilor dimensionale a pieselor supuse uzurii sau deteriorarii prin efort mecanic, termic sau combinat.
Parametrii de stare care reflecta aceste modificari sunt gradul de etansare a cilindrului si camerei de ardere precum si marimile jocurilor functionale.
Parametrii de diagnosticare, pentru gradul de etansare sunt: presiunea de compresie, scaparile de aer, debitul sau presiunea gazelor scapate in carter, precum si consumul de ulei si structura acestuia. Parametrii de diagnosticare pentru jocurile functionale sunt chiar marimea jocurilor efective sau caracterul zgomotelor produse de motor in timpul functionarii.
in tabelul 3.3 sunt prezentate simptomele si cauzele unor posibile defectiuni intalnite mai frecvent la mecanismul motor.
Tabelul 3.3. Simptomele si cauzele unor defectiuni ale mecanismului motor
|
|
3.3.1.2. Diagnosticarea gradului de etansare a cilindrilor
Spatiul de lucru al cilindrilor si camera de ardere pot suferi de pierderea etanseitatii pe langa supape, pe la garnitura de chiulasa, printre piston si cilindru sau, foarte rar, pe langa bujie sau injector. Cand scaparile devin obiectionale, ele au ca efect reducerea puterii motorului, cresterea consumurilor de combustibil si de ulei, ingreunarea pornirii, batai in timpul functionarii motorului si fum excesiv la evacuare in cazul motorului cu aprindere prin comprimare. Aparitia unora din aceste simptome nu este concludenta in privinta pierderii starii de etansare, deoarece aceasta poate avea si alte cauze. Astfel, factorii enumerati nu pot fi acceptati ca parametri de diagnosticare deoarece ei nu sunt univoci iar gradul lor de informatrvrtate este scazut, tocmai datorita legaturilor lor complexe cu alti parametri de stare.
Masurarea presiunii de compresie este unul din cele mai raspandite procedee pentru diagnosticarea starii tehnice a motoarelor. Pentru masurarea acestui parametru de diagnosticare se folosesc compresometrele, constructia unuia dintre acestea fiind prezentata in fig. 3.18.
|
|
Aparatul se aplica in garnitura de etansare 2 in orificiul bujiei sau injectorului: fluidul comprimat de pistonul motorului deschide supapa de retinere 3 comprimand arcul 4 si patrunzand in cilindrul de masura 5, in care evolueaza pistonasul 6 incarcat de un arc 7.
corp 2. garnitura etansare 3. supapa retinere ; 4. arc supapa 5. cilindru de masura
6.piston 7. arc calibrat 8. tija pistonului 9.ac indicator ; 10. maner 11. diagrama
Fluidul comprimat impinge pistonasul comprimand arcul si, odata cu e 222c23c l, respinge tija 8 care roteste acul indicator 9; acesta este prevazut cu un varf care inscrie pe hartia 11 o urma a carei lungime este proportionala cu presiunea din camera de ardere la finele compresiei. Aparatul este prevazut cu un maner 10 in vederea manipularii.
Pentru efectuarea probelor, motorul trebuie sa fie adus la temperatura de regim si apoi i se scot toate bujiile sau injectoarele; la motoarele cu aprindere prin scanteie se deschide complet clapeta de acceleratie (si cea de aer, la motoarele cu carburator). Se aplica apoi compresometrul in orificiul bujiei sau injectorului unuia din cilindri si se antreneaza motorul cu ajutorul bateriei de acumulatoare la o turatie de 175-200 min-1, citindu-se presiunea masurata.
Precizia determinarii presiunii maxime de compresie pe aceasta cale este influentata de mai multi factori: turatie, temperatura motorului si inertia maselor mobile ale aparatului de masura.
Influenta turatiei se explica prin faptul ca scaparile de gaze prin neetanseitati in timpul comprimarii depind de durata procesului, care este invers proportionala cu turatia. in domeniul de turatie in care decurge exploatarea normala a vehiculului, efectul pierderilor de gaze devine neinsemnat la un motor cu o uzura neaccentuata. Cum insa pentru masurarea presiunii de compresie bateria masinii nu roteste arborele motor decat la cel mult 200 min , la acest regim presiunile masurate sunt puternic afectate de turatie. Turatia efectiva la care este antrenat arborele motor depinde de starea bateriei de acumulatoare, starea demarorului, a conductorilor electrici precum si de pierderile prin frecare in motor; toate acestea fac aproape imposibila realizarea unei turatii standard, identice deci pentru toate motoarele incercate, ireproductibila uneori chiar la mai multe incercari succesive ale aceluiasi motor (datorita descarcari bateriei de acumulatoare).
Erorile datorate abaterii turatiei de la valoarea recomandata pentru incercari pot fi partial corectate folosind graficul din figura 3.19.
|
|
Avand nivelul turatiei recomandat de uzina
constructoare si valoare|a
efectiva
care
s-a executat masurarea, rezultatele obtinute pot fi corectate procedand asa
dupa
cum se exemplifica in figura.
Temperatura motorului influenteaza valoarea indicatiilor compresometrului atat prin gradul de etansare conferit de vascozitatea uleiului (care se modifica cu temperatura), cat si prin turatia ce se realizeaza cand uleiul este mai mult sau mai putin vascos. in fig. 3.20 este prezentata influenta regimului termic al motorului asupra rezultatelor citite cu compresometrul. Se observa ca abaterile pot atinge valori de 2,5 -10 bar; in general, se obtin valori superioare cu 10-15% cand motorul este cald.
in sfarsit, pot aparea erori de citire datorate inertiei aparatului sau produse de spatiul interior al aparatului, care reduce valoarea presiunii totale (motor-aparat).
Datorita inertiei supapa de retinere a aparatului aceasta nu se inchide niciodata prompt cand se atinge presiunea de, comprimare maxima si tot din cauza aceasta bratul de inregistrare nu urmareste fidel variatia la presiune. Cum aceste efecte difera de la un aparat la altul, compararea rezultatelor obtinute cu doua, compresometre de constructii diferite sau pe doua motoare diferite este indoielnica. In afara, de aceasta, caracteristicile elastice ale arcurilor compresometrelor se pot modifica in timp, fapt care impune etalonarea lor periodica. Daca la toate acestea se adauga ca procedeul nu permite localizarea precisa a locului neetanseitatii, se va intelege de ce metoda descrisa nu este agreata atunci cand precizia determinarilor prezinta importanta deosebita.
Valorile efective determinate prin procedeul descris sunt comparate cu nivelurile limita minime pe care, de obicei, fabricantii le ofera impreuna cu abaterea limita a diferentei dintre presiunile maxime ale cilindrilor motorului Δp.
In tabelul 3.4 sunt inscrise valorile orientative ale presiunii de compresie nominala pc , valoarea limita a acestui parametru pcl , abaterea admisibila ale valorilor presiunii intre cilindrii motorului Δp si turatia nc la care se efectueaza masuratorile pentru unele motoare.
|
|
Daca pentru motorul testat nu se dipune de valorile nominale sau limita ale parametrilor de diagnosticare pc, pct sau Δp, aprecierea rezultatului incercarilor se poate face plecand de la calculul presiunii teoretice la finele comprimarii pct, tinand seama de fazele distributiei. Se stie ca, teoretic, presiunea la finele cursei de comprimare este:
unde PA este presiunea din cilindru la inceputul comprimarii, εe este raportul de comprimare efectiv, tinand seama de momentul inchiderii supapei de admisie iar γ este exponentul politropic al comprimarii. Raportul de comprimare efectiv se determina cu relatia
+cosα
fiind unghiul care precizeaza inchiderea supapei de admisie dupa punctul mort exterior, iar ε raportul de comprimare geometric al motorului.
Valoarea gasita astfel se considera valoare nominala iar cea limita se accepta ca fiind
pct
Pentru diferentele de presiune intre cilindri se va lua ca limita Δp = 1-2 bar pentru motoarele cu aprindere prin scanteie si 2-4 bar pentru cele cu aprindere prin comprimare, sau maximum 10% din valoarea maxima masurata, calculul facandu-se in acest ultim caz cu relatia:
pcmax- pcmin pcmax
Diagnosticarea dupa scaparile de aer se efectueaza prin producerea in cilindru fie a unei suprapresiuni, fie a unei depresiuni, intr-un moment al ciclului cand ambele supape sunt inchise. Gradul de etansare a cilindrului se apreciaza in functie de viteza de variatie a presiunii intr-un timp dat.
Un aparat construit pe principiul folosirii aerului comprimat este prezentat in figura 3.21. Pentru efectuarea diagnosticarii, ventilul 4 se inchide, ventilul 6 se deschide, racordul 5 se conecteaza la reteaua de aer comprimat (3-4 bar), iar sonda 1 se aplica in locul bujiei sau injectorului. Aerul trece prin conducta 7 si ventilul 6, ajunge la regulatorul de presiune 8 (care reduce presiunea pana la cea 1,6 bar), trece prin orificiul calibrat 11, supapa 3 si debuseaza in sonda 1.
|
|
Manometrul 13, la care aerul ajunge printr-o reductie 12, are scala gradata in 100 de diviziuni; cand sonda comunica liber cu atmosfera (deci cazul unui cilindru total neetans), acul manometrului indica 100, iar cand sonda este complet obturata, (situatie care ar corespunde unui cilindru perfect etans) acul se afla in dreptul gradatiei zero. in acest mod se verifica si corecta functionare a aparatului, aducerea la zero a acului facandu-se cu ajutorul butonului regulatorului 8.
Inainte de inceperea masuratorilor, se incalzeste motorul pana la atingerea temperaturii de regim, apoi se demonteaza bujia (injectorul) unui cilindru, caruia i se aduce pistonul in punctul mort interior la sfarsitul comprimarii. Se aplica sonda 1 in orificiul bujiei (injectorului).
Intr-un cilindru cu un grad de etansare oarecare, intre amontele si avalul orifi-ciului calibrat 11 se va crea o diferenta de presiune Δp, care reprezinta masura pierderilor volumice de aer din cilindru AV:
ΔV=αf√2Δ/ρ
unde: a - este coeficientul de debitai orificiului 11, f - sectiunea sa
masa specifica a aerului.
Asadar, daca se neglijeaza variatia masei specifice a aerului si a coeficientului de debit cu presiunea si viteza de curgere, atunci variatia de presiune indicata de manometru este proportionala cu patratul pierderilor de aer. Pentru a se evita erorile provenite din decalibrarea orificiului 11, este prevazut un ventil 10 care se manevreaza astfel ca, atunci cand sonda se introduce intr-un orificiu precis calibrat, manometrul sa indice o anumita pierdere de aer a carei valoare depinde de constructia aparatului (de exemplu, la aparatul NIIAT-K 69, valoarea de etalonare este 40%)
Cand aparatul indica pierderi importante de aer se impune localizarea lor. in acest scop, proba descrisa anterior se repeta, dar cu pistonul adus la inceputul comprimarii, adica imediat dupa inchiderea supapei de admisie. Daca cifra de pierderi obtinuta acum difera neesential de cea precedenta, inseamna ca scaparile se produc pe la garnitura de chiulasa sau supape. Aplicand pe portiunea de imbinare a chiu-lasei cu blocul motor o solutie de sapun cu apa, mentinerea cilindrului sub presiune va face ca in zona garniturii de chiulasa sa apara bule de aer, daca neetanseitatile se afla aici. in caz contrar, pierderile de aer se fac pe la supape.
De obicei, in trusa unor astfel de aparate se afla si un stetoscop care poate servi pentru localizarea zonelor neetanse. inchizand ventilul 6 si deschizandu-1 pe 4, aerul din retea va fi trimis direct in cilindrul motorului prin sonda 1. Locul scaparilor se face dupa zgomotul produs de scurgerea aerului prin neetanseitati. in cazul defectari grupului piston-cilindru, zgomotul specific curgerii aerului se aude la busonul de umplere cu ulei; daca supapele sunt defecte, zgomotul apare in galeria respectiva.
Fabricantii de motoare nu ofera, de obicei, date pentru valoarea diferentei de presiune citita pe manometrul 13, deoarece aceasta depinde, in primul rand, de particularitatile constructive ale aparatului de masura, asa incat, producatorul aparatelor de acest fel prezinta tabelar valorile limita ale parametrului de diagnosticare in functie de diametrul cilindrului precum si de tipul motorului (cu benzina sau diesel).
Diagnosticarea prin masurarea depresiunii din galeria de admisie este unul din cele mai simple procedee de stabilire a gradului de etansare a cilindrului. In acest scop, unele motoare sunt prevazute din fabricatie cu orificii in galeria de admisie, de obicei sub carburator, care in timpul exploatarii sunt obturate.
Depresiunea creata de pistoane in galeria de admisiune depinde de cantitatea de amestec aspirata in cilindri Ca, de turatia n, iar la motoarele cu aprindere prin scanteie de pozitia obturatorului (clapetei de acceleratie). Stiind ca:
Ca=CtηV [l/h],
unde V este coeficientul de umplere (a carui valoare scade cand apar neetanseitati), cantitatea teoretica de amestec aspirata intr-o ora este
Ct= Vh(Zn/i)60 [l/h],
Vh fiind cilindreea unitara, Z - numarul de cilindri, i = 1 pentru motoarele in doi timpi si i = 2 pentru cele in patru timpi; in conformitate cu legea lui Bernoulli:
![]()
unde: a - coeficientul de debit,
- sectiunea de curgere a fluidului spre motor (la motoarele cu aprindere prin scanteie - sectiunea difuzorului),
masa specifica a fluidului care curge spre motor.
Prin inlocuiri si transformari se obtine:
Δp= K(ηV2n2/α),
relatie in care K depinde de constructia motorului si are expresia
K= 1800ρ(ZVh/iFd)2.
Rezulta deci ca, pentru aceeasi pozitie a obturatorului si o turatie data, depresiunea din galeria de admisie depinde numai de gradul de etansare a cilindrilor, luat in considerare prin coeficientul de umplere.
Constructorii de motoare indica turatia nominala la care trebuie sa se efectueze incercarile, precum si valorile limita ale depresiunilor. in general, pentru motoare in patru timpi cu rapoarte de comprimare cuprinde intre 6,5 si 8, valorile limita ale depresiunii sunt cuprinse in plaja Δp = 470 -520 mmHg, iar pentru cele in doi timpi Δp = 190 -210 mmHg.

Pentru diagnosticare se pot utiliza aparate bazate pe masurarea debitului si nu a depresiunii, procedeu raspandit mai ales pentru verificarea motoarelor noi sau a celor reparate capital. Un astfel de dispozitiv contine o diafragma 2 (fig. 3.22) montata intr-o canalizatie 1 in care se mai afla si un micromanometru 5. O camera de linistire 3 cupleaza aparatul la galeria de admisiune a motorului printr-un racord 4. Scala micromanometrului este gradata direct in pierderi de aer procentuale.
Diagnosticarea prin masurarea presiunii sau debitului de gaze scapate in carter se bazeaza pe observatia ca la o uzura avansata a grupului piston-cilindru, cantitatea de gaze scapate din cilindri in carter creste de 5-7 ori. Avand valorile nominale (pentru un motor nou) ale presiunii din carter sau ale debitului de gaze scapate din cilindri, se poate aprecia gradul de uzura. Se socoteste ca daca presiunea in carter ajunge la 80-160 mmHg, motorul este uzat. Masurarea presiunii se face cu micro-manometre obisnuite, in timp ce la masurarea debitelor se folosesc debitmetre volumetrice sau cu diafragma.
Se remarca faptul ca metoda nu permite decat determinarea gradului de neetan-sare dintre piston si cilindru.
inainte de efectuarea probelor este necesar ca instalatia de ventilatie a carterului sa fie.suspendata, iar carterul ermetizat prin obturarea orificiilor de ventilatie si cel al jojei de ulei.
Rezultatele obtinute pe aceasta cale constituie o indicatie de medie a starii tuturor cilindrilor motorului. Pentru a preciza starea tehnica a fiecarui cilindru in parte, se masoara debitul de gaze evacuate din carter scotand din functie succesiv cate un cilindru. Rezultatele se scad din debitul total masurat mai inainte; daca la unul din cilindri diferenta de debit este mai mare de 23-30 1/min, inseamna ca aceasta sectiune a motorului are un grad de uzura inacceptabil, segmentii sunt rupti sau blocati ori cilindrul are camasa deformata sau gripata.
3.3.1.3. Diagnosticarea dupa consumul si analiza uleiului
Gradul de uzura a mecanismului motor poate fi determinat indirect folosind ca parametri de diagnosticare consumul de ulei si gradul de impurificare a lubrifiantului cu produsi de uzura.
Consumul de ulei raportat la un anumit interval de rulare poate da indicatii cu privire la starea grupului piston-cilindru, dar rezultatele pot include in ele si starea altor elemente cum sunt perechile ghid-supapa, garnitura de etansare a axului ruptor-distribuitorului, garnitura pompei de benzina sau garniturile de etansare ale arborelui cotit. La erori de apreciere mai pot contribui starea garniturii baii de ulei, a capacului de chiulasa sau cea a carterului distributiei. in acelasi timp, trebuie sa se tina seama ca acest parametru de diagnosticare este puternic influentat de regimul de exploatare a motorului.
Diagnosticarea dupa analiza uleiului se bazeaza pe observatia ca uzura organelor mecanismului motor asculta, in general, de legea lui Lorentz, in care se deosebesc trei perioade distincte in functionarea unui agregat: rodajul, in timpul caruia τr uzura este intensa (fig. 3.23); exploatarea normala care se intinde pe

intervalul τn τr cand uzura are un caracter stabil si evolueaza lent si o ultima perioada in care uzura capata valori foarte inalte si rapid crescatoare, procesul terminandu-se cu avaria ansamblului-daca nu se iau la timp masuri de reconditionare, prin determinarea operativa a momentului τn.
Cunoscand ca produsele uzurii se acumuleaza in masa uleiului in intervalul de schimbare a acestuia, se poate stabili caracterul legii de variatie concentratiei acestora, precum si valorile limita care caracterizeaza inceputul fazei de uzura fortata, deci depasirea jocurilor admise, adica momentul τn.
Pentru exactitatea determinarilor se impune ca uleiul sa nu contina din prelucrare elemente de aditivare care sa fie specifice produselor uzurii.
Prin stabilirea elementelor chimice care caracterizeaza o piesa supusa uzurii (de exemplu, siliciul pentru piston, nichelul pentru camasile de cilindru, cuprul pentru .bucsa din piciorul bielei, staniul pentru cuzineti etc.) si masurarea periodica a concentratiei acestora in masa uleiului, se poate stabili gradul de uzura al pieselor respective.
|
|
Asa cum se vede in figura 3.23, sfarsitul perioadei de
uzura normala este net
marcat de cresterea concentratiei produselor uzurii, in conformitate cu legea
lui
Lorentz, permitand determinarea operativa a trimiterii motorului in reparatia capitala, cu 6000-8000 de km inainte de producerea avariilor, asa dupa cum arata experienta.
Masurarea concentratiilor se poate face prin analiza chimica sau spectrala. Analizoarele chimice si mai ales spectrometrele sunt insa aparate scumpe si nu-si justifica costul decat prin utilizarea lor centralizata in autobaze mari sau in laboratoare care sa deserveasca mai multe intreprinderi de transport - fapt care explica restransa arie de aplicare a acestui procedeu de diagnosticare, desi sensibilitatea parametrului de diagnosticare respectiv este net superioara fata de alti parametri, asa cum releva graficul din figura 3.24.
3.3.1.4. Diagnosticarea dupa tensiunea bateriei de acumulatoare la pornire
|
|
Procedeul se sprijina pe observatia ca, in timpul pornirii motorului, tensiunea bateriei de acumulatoare scade proportional cu rezistenta opusa de deplasarea pistoanelor. Considerand ca frecarea este uniforma la toti cilindrii motorului, ceea ce poate duce la variatia tensiunii bateriei de acumulatoare atunci cand unul dintre pistoane efectueaza cursa de comprimare este numai rezistenja opusa de fluidul acumulat in cilindru (aer sau amestec de aer-benzina); aceasta rezistenfa este mai mare la cilindrii cu etanseitate mai buna si scade atunci cand se produc scapari de gaze in exterior. Asadar la antrenarea pistoanelor care evolueaza in cilindri etansi tensiunea bateriei va scadea mai mult si invers. In figura 3.25,a este prezentata variatia tensiunii bateriei de acumulatoare in timpul antrenarii arborelui cotit in cazul unui motor cu stare tehnica buna, iar in figura 3.25, b in cazul unuia cu grade diferite de pierdere a etanseitatii la cei sase cilindri. Identificand momentul efectuarii compresiei in cilindrul nr. 1 si cunoscand ordinea de functionare a motorului, se poate marca pe diagrama caderea de tensiune pentru toti ceilalti cilindri. Din figura se observa ca, in cazul exemplificat, cilindrii 2 si 6 au cele mai mari pierderi de etanseitate. Se apreciaza ca daca diferentele pierderilor de tensiune depasesc 15%, motorul trebuie controlat sau reparat. Metoda prezinta neajunsul ca valorile parametrului de diagnosticare sunt tributare starii bateriei de acumulatoare, precum si eventualei uzuri neuniforme a pieselor care formeaza sectiunile de lucru ale mecanismului motor.
3.3.1.5. Diagnosticarea dupa zgomot
Diagnosticarea mecanismului motor dupa analiza zgomotelor emise de el se poate face subiectiv, prin auscultare, sau obiectiv folosind o aparatura adecvata stabilirii precise a nivelului de zgomot, a spectrului de frecventa si a locului de emisie.
|
|
Diagnosticarea prin auscultare este o metoda empirica, ce poate oferi unele re-zultate calitative a caror valoare infor-mativa depinde in foarte mare masura de experienfa operatorului. Pentru auscultare se utilizeaza stetoscoape simple sau electronice. Inainte de testare motorul se incalzeste pana ce atinge temperatura de functionare normala iar auscultarea si interpretarea zgomotelor percepute se face in conformitate cu figura 3.26 si tabelul 3.5.
|
|
Indicatiile au caracter de informare generala, dar se stie ca, in general, zgomotul datorat uzurii excesive a ansamblului piston-cilindru apare cand jocul dintre aceste piese atinge 0,3 0,4 mm, cel emis de perechea fus palier - lagar devine distinct cand jocul dintre acestea este de 0,1 0,2 mm, iar zgomotul produs de fusul maneton in capul bielei se aude net cand jocul atinge 0,1 mm.
Exista metode moderne de analiza a zgomotelor emise de mecanismul motor, care scot de sub semnul incertitudinii rezultatele operatiunilor de diagnosticare, prin utilizarea unei aparaturi adecvate. Constructia acesteia se bazeaza pe observatia ca frecventa sunetelor emise de existenta jocului intre doua piese mobile aflate in contact reciproc este specifica perechii respective de piese, iar amplitudinea zgomotului depinde de marimea jocului. Pe acest principiu au fost create aparate, numite strobatoare care analizeaza semnalele sonore culese de pe structura motorului in momente bine stabilite pe ciclu, in care se presupune ca se produc socurile caracteristice; aceste momente sunt, de exemplu, momentul aprinderii, punctul mort inferior etc. Aprecierea jocului cu aceste aparate se face dupa amplitudinea semnalului sonor.
Spectometrele sonore permit inregistrarea spectrogramelor sunetelor emise de motor si ofera date privind frecventa si amplitudinea vibratiilor acustice. Utilizarea acestor aparate se afla in faza experimentala, iar lucrarile de cercetare sunt ingreunate de faptul ca rezultatele nu pot fi generalizate, chiar pentru acelasi motor ele depinzand in foarte mare masura de regimul de turatie si de cel termic, de calitatea uleiului si punctele in care se plaseaza traductorul aparatului.
Determinarea statica a jocului din lagare permite determinarea acestui parametru de stare fara ca motorul sa functioneze.
O instalatie de acest gen este formata din sursele de aer comprimat 9 (fig. 3.27) si de vacuum 8, prevazute cu bateriile 7 si 10, manometrele 6 si regulatoarele 4 si 5 legate cu distribuitorul 3. Acesta din urma pune in legatura alternativ cilindrul cercetat cu cele doua surse mentionate, cu o frecventa de 50 de impulsuri duble pe minut.
Partea de citire a rezultatelor consta din dispozitivul electronic 14, blocul de alimentare 13, si traductoarele 2, 11 si 12. Dispozitivul 14 prelucreaza semnalele transmise de traductoare, masoara timpii care se scurg intre inceputul deplasarii pistonului si momentele producerii socurilor in lagare, precurn si presiunea din camera de ardere a cilindrului cercetat. Traductorul 11 se plaseaza magnetic pe capatul arborelui cotit, 12 pe blocul motor, iar traductorul de presiune 2 se plaseaza in locul bujiei, injectorului sau supapei de aer (la motoarele diesel care sunt inzestrate cu sistem de pornire pneumatic). Instrumentele indicatoare din aparatul 14 sunt doua ampermetre, ale caror scale sunt gradate, respectiv, in ms si bar.
Pentru
efectuarea masuratorilor se aduce pistonul cilindrului respectiv la punctul mort
interior, dupa care se pune sub tensiune instalatia. Sub actiunea distribuitorului 3, cilindrul este pus succesiv in legatura cand
cu sursa de aer comprimat, cand cu cea de vacuum. Din aceasta cauza
pistonul 1 este alternativ atras
spre chiulasa si apasat spre
arborele cotit. Instalatia masoara duratele intervalelor de timp care se scurg intre inceputul miscarii
pistonului intr-un sens si producerea
socurilor produse prin consumarea jocurilor din articulatiile
pistonului si arborelui. Astfel, este
masurat mai intai timpul scurs pana
la socul produs de izbirea boltului in bucsa din piciorul bielei, apoi cel corespunzator consumarii jocului din lagarul maneton (din capul bielei) si, in sfarsit, timpul total necesar pentru deplasarea pistonului pana la contactul
arborelui cu lagarul palier.
Intervalele de timp cotite sunt transformate apoi in marimi ale jocurilor din articulatiile mentionate,
folosindu-se in acest scop unele nomograme.

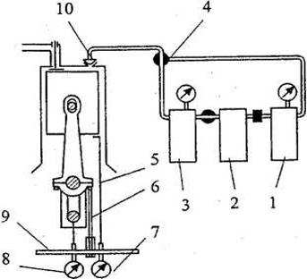
In lipsa unor traductoare convenabile se poate aplica un procedeu de masurare directa a jocurilor prin folosirea unor comparatoare, asa cum se arata in figura 3.28.
Un compresor 2 stabileste un anumit regim de presiune in recipientul 1 si de vacuum in 3. Un robinet cu trei cai 4 serveste pentru conectarea necesara a cilindrului cercetat cu cele doua recipiente, prin intermediul racordului de cauciuc 10 care se plaseaza in orificiul bujiei (injectorului). Se demonteaza carterul inferior (baia de ulei) si se instaleaza doua comparatoare pe o punte 9, fixata pe capacul bielei cu tija 6. Unul dintre comparatoare 8 se monteaza sub un brat al arborelui cotit iar tija celuilalt 7 se sprijina sub mantaua pistonului prin intermediul prelungitorului 5. Asadar, comparatorul 7 va inregistra deplasarea pistonului in raport cu biela (deci va insuma jocurile dintre piston-bolt si bolt-biela) iar celalalt 8 va marca jocul dintre fusul maneton si biela.
inainte de a incepe masurarile, se creeaza in rezervorul 1 o presiune de 2 bar iar in 3 o depresiune de 0,9 bar. Se aduce pistonul cilindrului cercetat in punctul mort interior la sfarsitul comprimarii si se asigura arborele cotit in aceasta pozitie impotriva rotirii (de exemplu, prin cuplarea unui etaj al cutiei de viteze). Se actioneaza apoi robinetul 4 punand cilindrul in legatura cu recipientul de vacuum, dupa care se aduc comparatoarele la zero. In continuare se actioneaza robinetul trimitand in cilindru aer comprimat, astfel incat pistonul si biela vor fi apasate in jos, iar comparatoarele vor inregistra deplasarile lor. Pentru siguranta citirilor si marirea preciziei lor, probele se repeta de 3-4 ori, calculandu-se media aritmetica a valorilor obtinute. Operatiunile se repeta apoi la toti ceilalti cilindri ai motorului.
|