REMORCA
CUPRINS
I. Introducere................... 2
II. Constructia remorcilor.............. 3
III. Frânarea remorcilor.............. 6
III. 1. Actionarea prin inertie......... 6
III. 2. Actionarea pneumatica......... 7
IV. Defecte în exploatare ale instalatiei de frânare.. 10
V. Întretinerea sistemului de frânare cu actionare
pneumatica.................. 13
VI. Masuri de tehnica a securitatii muncii, prevenire si
stingere a incendiilor la lucrarile de întretinere, reparare
si exploatare a automobilelor.......... 15
Bibliografie.................. 17
I. Introducere
Remorca este un vehicul fara motor destinat transportului de marfuri sau de personae si 17317e41r tractat de un automobil.
În functie de destinatie, remorcile pot fi:
- remorci de uz general, destinate trensportului de marfuri;
-remorci specializate, prevazute cu caroserii corespunzatoare incarcaturii (cisterne pentru transportul lichidelor, remorca pentru transportul calatorilor etc.).
În functie de numarul de osii al remorcii si de modul de repartizare a încarcaturii transportate între automobilul tractor si remorci, acestea din urma pot fi:
- remorci cu o singura osie;
- remorci cu doua sau mai multe osii;
- semiremorci.
Semiremorca este o remorca speciala, caracterizata prin faptul ca se sprijina cu partea din fata pe autotractor, astfel încât o parte din încarcatura si din greutatea semiremorcii este preluata de vehiculul tractor.
Sistemul format dintr-una sau mai multe remorci si autovehiculul tractor se numeste autotren.
n functie de tipul remorcilor atasate la vehiculul de tractiune, se deosebesc urmatoarele tipuri principale de autotrenuri:
- autotren format din autotractor si una sau mai multe remorci: în acest caz, încarcatura este transportata atât în caroseria autotractorului cât si în caroseria remorcii;
- autotren format din autotractor si o semiremorca care se sprijina cu partea din fata pe autotractor prin intermediul unui dispozitiv de reazem si de remorcare (autotractor cu sa si semiremorca); încarcatura in acest caz este transportata numai în caroseria semiremorcii;
- autotren format din autotractor si o remorca monoax; acest tip de autotren serveste pentru transportul încarcaturilor de lungime mare, care se reazema atât pe autotractor cât si pe remorca.
II. Constructia remorcilor
Remorcile cu o singura osie (monoax) se utilizeaza cu precadere pentru completarea capacitatii de transportat a autovehiculului tractor. De asemenea, în functie de specializarea caroseriei, remorcile cu o singura osie pot fi destinate transportului de persone ca locuinta turistica (rulote), pentru a asigura mobilitatea unor agregate de lucru (grup electrogen).
In figura 1 este reprezentata o remorca cu o singura osie, destinata transportului de uz general a carei capacitate de încarcare variaza între 1 si 3 t. Cadrul 1 al remorcii este confectionat din profil U si se sprijina pe axa 2 prin intermediul a doua arcuri in foi 6. Pe axa 2 sunt montate rotile cu pneuri si caroseria 3. În partea anterioara a cadrului se gaseste montat rigid protapul 4, prevazut cu ochiul de cuplare 7. Pentru asigurarea stabilitatii remorcii în plan orizontal, în timpul decuplarii de vehiculul tractor, cadrul este prevazut cu dispozitivele de sprijin 5, rabatabile în timpul deplasarii.
Pentru transportarea materialelor lungi ca: stâlpi, tevi, busteni etc. se folosesc remorcile cu o osie de tipul capra (figura 2). Aceasta este formata din cadrul 1 din profil U, osia 2 pe care sunt montate patru roti cu pneuri, arcurile 3, cadrul protap 4, cu dispozitiv de cuplare 10, sectoarele de sprijin 5 si traversa 6.
Cadrul 1 este construit dintr-o rama dreptunghiulara prevazuta cu doua traverse intermediare 8. În interiorul acestora sunt montate doua traverse pe care este fixat suportul pivotului 9. Tot pe traversa 8 sunt montate doua sectoare 5 pe care se sprijina traversa 6 fixata de cadrul 1 prin intermediul pivotului 9.
Traversa 6 pe care se sprijina materialul de transportat se poate roti în jurul pivotului 9, sprijinindu-se în acelasi timp pe sectoarele 5. Pentru ca încarcatura sa nu cada, traversa 6 este prevazuta la ambele capete cu câte un montat 7, ce se poate roti în jurul unui bolt de fixare, pozitia verticala a acestora putându-se realize printr-un sistem de zavorâre. Montantii pot fi legati între ei la capetele superioare, printr-un lant. Cadrul 1 se sprijina pe osia 2 prin intermediul a doua arcuri 3.

Fig. 1. Remorca cu o singura osie

Fig. 2. Remorca cu osingura osie de tip capra
Remorcile cu doua osii se folosesc pentru transportul marfurilor, materialelor si pasagerilor. Dintre remorcile destinate transportului marfurilor unele au caracter universal iar altele sunt specializate pentru transportul unei singure marfi sau a unei game restrânse de marfuri cu caracteristici asemanatoare.
Capacitatea de transport a acestui tip de remorca este de 30 - 200 kN si pot fi construite cu caroserie închisa sau deschisa. Cele mai utilizate sunt remorcile cu caroseria deschisa.
În figura 3 este reprezentata o remorca formata din osiile 1, arcurile suspensiei 2, piridocul 3, cadrul4, caroseria 5 si dispozitivul de cuplare (remorcare) 6.
Cadrul este construit din profile U, sudate, fiind format din doua lonjeroane si patru - cinci traverse.
Piridocul este dispozitivul care împreuna cu protapul formeaza sistemul de directie si transmite efortul de tractiune de la protap la cadrul remorcii.

Fig. 3. Remorca cu doua osii
III. Frânarea remorcilor
Pentru siguranta circulatiei autotrenurilor (automobile tractor cu remorca sau semiremorca), sistemul de frânare trebuie sa îndeplineasca anumite conditii, printre care:
-sa asigure o repartizare a fortei de frânare între puntile autotractorului si a remorcilor sau semiremorcilor, proportionala cu încarcarile dinamice ce revin rotilor;
-în timpul frânarii dispozitivul de remorcare sa fie întins în scopul evitarii frângerii autotrenului. Pentru acesta, frânarea remorcii sau semiremorcii trebuie sa se faca în avans fata de frânarea autotractorului;
-în timpul stationarii remorcilor si al semiremorcilor, sa se asigure o frânare independenta a acestora;
-în caz de decuplare accidentala a remorcii sau semiremorcii, frâna sa intre imediat în actiune si sa asigure oprirea acestora.
Din punct de vedere constructive, frânele propriu-zise ale remorcilor si semiremorcilor sunt asemanatoare cu cele ale automobilelor.
Frânele utilizate la frânarea remorcilor pot fi cu actionare prin inretie sau cu actionare pneumatica.
III.1. Actionarea prin inertie
Frânarea cu actionare prin inertie prezinta avantajul ca nu necesita o instalatie speciala cu autovehicolul tractor pentru frânarea remorcilor.
In figura 4 este reprezentata schema de principiu al acestui sistem de frânare. Ochiul de împerechiere al remorcii nu este rigid legat la bara sau tringhiul de remorcare, ci are posibilitatea sa culiseze longitudinal, pozitia lui fiind echilibrata printr-un arc. Aceasta miscare longitudinala este transmisa printr-un sistem de pârghii si tije la camele de comanda a frânelor remorcii.
Când autotractorul tracteaza remorca, frânele sunt libere; la frânarea autotractorului, remorca vine peste el, ochiul de împerechiere este împins spre înapoi si se produce frânarea automata a remorcii.
Dispozitivul este simplu si ieftin, însa prezinta dezavantajul ca, la frânare convoiul este comprimat în loc sa fie întins, ceea ce este în detrimental stabilitatii transversale. De esemenea, la mersul pe drumurii accidentate, din cauza variatiei rezistentei la întâlnirea remorcii, se produc smucituri, care determina frânari nedorite. Pentru astfel de cazuri, dispozitivul trebuie prevazut cu un sistem de blocare a ochiului de împerechere.
Frânarea prin inertie se foloseste mai ales la remorcile cu capacitatea de încarcare mica.

Fig. 4. Dispozitivul de frânare a remorcilor prin inertie
III.2. Actionarea pneumatica
Remorcile si semiremorcile sunt echipate ca mecanisme propriu-zise de frânare de tipul cu tambur si sabotii interiori. Actionarea sabotilor se face cu ajutorul cilindrilor receptori. Sistemul de frânare al remorcilor (semiremorcilor) mai cupride: rezervoare de aer comprimat; semiculaje pentru cuplare cu semicuplajele montate pe autotractor; regulator pentru forta de frânare în functie de încarcarea remorcii; conducte de legatura.
In functie de numarul conductelor de legatura dintre autotractor si remorca, se deosebesc:
- sistemul de actionare cu o conducta;
- sistemul de actionare cu doua conducte;
- sistemul de actionare cu mai multe conducte (întâlnit mai rar).
La sistemul de actionare cu o conducta, legatura dintre sistemul de frânare al automobilului tractor si sistemul de frânare al remorcii sau semuremorcii se face cu o singura conducta. In cazul când autotrenul se deplaseaza, fara frânare prin aceasta conducta se face alimentarea cu aer comprimat a rezervoarelor de pe remorca, respective semiremorca. La franarea automobilului tractor prin conducta se da comanda la frânare a remorcii, prin golirea acesteia.
In figura 5. este reprezentata schema actionarii pneumatice cu o conducta. Compresorul 1, actionat de motorul automobilului, comprima aerul admosferic trecându-l prin filtrul 2 si regulatorul 3 , în rezervorul 4. Când presiunea aerului în rezervoare a atins valoarea prescrisa, regulatorul 3 întrerupe debitarea cu aer de la compressor. In unele cazuri, pe rezervor se monteaza o supapa de siguranta reglata pentru o presiune de (0,7.0,8)MPa. La scaderea presiunii din rezerevor sub o anumita limita, regulatorul uneste din nou compresorul cu rezervoarele.
Unul dintre rezervoare este legat de conducta de alimentare prin intermediul robinetului de transfer 19, care permite intrarea aerului comprimat numai dupa ce in primul rezervor aerul comprimat a ajuns la presiunea de lucru. În felul acesta se reduce timpul de punere în functiune a sistemului de frânare al unui automobile ce a stationat timp îndelungat.

Fig. 5. Schema de actionare pneumatica a frânelor cu o singura conducta
Robinetul distribuitor (de comanda) 5 serveste la admiterea aerului comprimat, din rezervoare, în cilindrii de frâna 11, la apasarea pedalei de frâna.
Pentru frânarea remorcii serveste robinetul 8. La unele tipuri de automobile, robinetele 5 si 8 sunt realizate într-un corp comun, usurând obtinerea legaturii functionale necesare la frânarea autotrenului.
La alimentarea rezervoarelor de aer comprimat de pe remorca serveste semicupla de legatura 16. Pentru închiderea conductei de alimentare, în cazul în care automobilul se deplaseaza fara remorca, serveste robinetul 15. Maneta 6 serveste la actionarea frânei de stationare sau de siguranta, care, pe cale mecanica, actioneaza frâna automobilului tractor, iar prin intermediul robinetului 8 comanda frânarea remorcii.
La frânare, conducatorul apasând pedala, aerul comprimat din rezervorul 4, prin robinetul distribuitor 5, trece în cilindrii de frâna 11, producând frânarea. În acelasi timp, prin intermediul robinetului de frânare 8 al remorcii, se comanda evacuarea aerului din conducta de legatura a remorcii, respective frânarea acesteia.
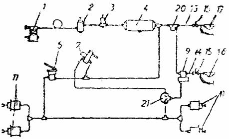
În figua 6 este reprezentat sistemul de frânare cu actionare pneumatica cu doua conducte, partea de alimentare cu aer comprimat (compresorul 1, regulatorul de presiune cu filtrul 2 si rezervorul 4) fiind asemanatoare cu cea de la actionarea pneumatica cu o conducta, având figurat în plus aparatul antigel 3. Robinetul distribuitor 5 comanda frânarea automobilului tractor si a remorcii. În acest caz, remorca este legata de automobilul tractor prin doua conducte, una de alimentare si una de comanda. Conducta de alimentare 13 asigura alimentarea cu aer comprimat a rezervoarelor de pe remorca. Frânarea este comandata, în general, prin umplerea conductei de comanda 14. Robinetul-releu 9 izoleaza circuitul pneumatic al automobilului tractor de cel al remorcii si asigura ca frânarea remorcii sa se faca cu aer din conducta 13, accelerând, prin efect de releu, umplerea conductei 14. Robinetul 7 realizeaza frânarea de stationare sau de siguranta, prin robinetulm cu doua cai 21. Robinetul de siguranta 10 izoleaza conducta de alimentare 13 în cazul în care presiunea aerului din circuitul autotractorului scade sub 0,46 MPa.
Semicupla de legatura 17 si 18 difera constructive de semicuplele utilizate la sistemul de actionare cu o conducta.
Fig.6. Schema de actionare pneumatica a frânelor cu doua conducte
IV. Defecte în exploatare si înlaturarea lor
Procesul frânarii este influientat de o serie de defectiuni ce se pot manifesta sub forma :
- frâna "nun tine" este "slaba" sau nu actioneaza;
- frâna "freaca", desi pedala de frâna nu este actionata;
- la frânare automobilul "trage" într-o parte;
- în timpul frânarii se blocheaza una sau toate rotile;
- frânarea are loc cu trepidatii (întreruperi);
- frânarea este ansotita de zgomote.
VI. 1. Frâna nu tine, este slaba sau nu actioneaza. Acest defect este urmarea unor cauze multiple, cum ar fi:
a) reglajul incorect al frânelor poate însemna cursa libera a pedalei prea mare, joc marit antre saboti si tambur, prinderea si reglarea incorecta a sabotilor la buloanele de pivotare; defectul se înlatura prin reglarea cursei libere apedalei si a jocului dintre saboti si tambur;
b) uzarea garniturilor de frictiune se constata prin faptul ca, la apasarea pedalei, desi aceasta functioneaza normal, efectul de frânare este însa redus deoarece coeficientul de frecare dintre tambur si niturile de fixare a garniturilor este scazut; defectul se înlatura prin înlocuirea garniturilor de frecare la statia de întretinere;
c) uzura tamburelor de frâna se constata urmarindu-se daca, la apasarea brusca si repetata a pedalei de frâna, în timp ce ce roata este tinuta pe loc sau cu mâna, se simt mici deplasari ale tamburului fata da placa apasatoare a sabotilor; defectul se înlatura prin înlocuirea tamburului de frâna la statia de întretinere;
d) uzura garniturilor pistonului pompei centrale si a pistonului cilindrilor receptori face ca, la apasarea pedalei de frâna, lichidul în loc sa fie trimis spre cilindrii receptori sau sa împinga pistoanele acestora, scapa pe lânga garniture, astfel ca frânarea nu se mai realizeaza corespunzator; în acest caz, se demonteaza cilindrii receptori sau pompa centrala, se curata asperitatile, se înlocuiesc garniturile, se spala instalatia si se introduce lichid nou.
e) aer sau vapori în conducte sau pierderi de lichid din instalatie din urmatoarele cause: lipsei de lichid din instalatie, folosirii exagerate si îndelungate a frânelor (evaporarea alcoolui si formare de dopuri), desfacerea sau deteriorarea racordurilor, garniturilor sau a conductelor;
IV. 2. Frâna freaca desi pedala de frâna nu este actionata din urmatoarele cauze:
a) reglaj incorrect al sabotilor;
b) arcurile de readucere rupte sau slabite;
c) pistonele cilindrilor receptori acoperite cu gume, astfel ca dupa actionare ramân blocati;
d) orificiul de compensare de la pompa centrala înfundat, nepermitând lichidului sa revina în rezervor astfel ca sabotii vor continua sa stea aplicati pe tambure;
e) lichi de frâna necorespunzator (su scurge greu);
f) pedala incorect montata sau reglata.
Unele defectiuni pot fi înlaturate partial pe traseu (a. ,f.) iar altele numai la statia de întretinere.
IV. 3. La frânare automobilul trage într-o parte. În general, acest defect apare datorita dereglarii frânelor, precum si unor defectiuni ale sistemuli de frânare, cum ar fi:
- existenta unor tambure excentrice,
- montarea unor garniture necorespunzatoare;
- folosirea unor arcuri de readucere prea tari;
- înfundarea, deformarea sau fisurarea racordului flexibil;
- patrunderea unsorii la garniturile de frictiune;
- spargerea membranei sau deteriorarea garniturii cilindrului de frânare al unei roti;
- presiune în roti diferita.
IV. 4. Blocarea rotilor. Se pot bloca una sau toate rotile pe timpul deplasarii sau dupa efectuarea frânarii, chiar dupam ce conducatorul auto a eliberat pedala de frâna din urmatoarele cause:
a) întepenirea sau griparea pisponului cilindrului uneia sau mai multor roti se produce dupa eliberarea pedalei, când arcul de readucere a sabotilor nu îi mai poate îndeparta de tambur; defectul se constata usor, de oarece tamburul de frâna se încalzeste puternic, sau radicand fiecare roata, cu cricul, se observa ca este frânata. În acest caz, se suspenda conducta de frânare de la roata în cauza si se continua drumul cu viteza redusa si cu atentie pâna la statia de întretinere;
b) ovalizarea tamburelor de frâna se manifesta astfel: în timpul mersului automobilului, la apasarea moderata a pedalei de frâna, sabotii se misca în sus si în jos, iar la apasarea puternica, roata se blocheaza; cauzele ovalizarii tamburelor pot fi: functionare îndelungata fara reglarea jocului dintre saboti si tambur, material necore3spunzator al tamburilor; tamburul ovalizat se rectifica sau se înlocuieste la statia de întretinere;
c) înfundarea racordului flexibil;
d) deteriorarea sau slabirea arcului sabotilor.
IV. 5. Frânarea se întrerupe (automobilul trepideaza) din urmatoarele motive:
a) fixarea necorespunzatoare a garniturilor pe saboti;
b) dereglarea sabotilor la articulatiile de pivotare (jocuri mari);
c) existenta unor jocuri mari la rulmentii rotilor sau la arborii planetary;
d) jocul excesiv al arcurilor suspensiei;
e) deformarea arborilor planetari;
f) lovirea sau deformarea tamburelor;
g) garniturile de frictiune unse, prea lungi sau prea dure.
Toate defectiunile se înlatura la statia de întretinere.
IV. 6. Frânarea este însotita de zgomote. Defectiunea se manifesta sub forma unor "scârtâituri" ascutite si puternice, uneori fiind însotite de vibratii.
Aceste zgomote pot avea urmatoarele cauze:
a) uzura excesiva a garniturilor de frictiune;
b) patrunderea unsorii amestecate cu praf, uscarea ei si lustruirea suprafetelor garniturilor;
c) folosirea unor tambure cu pereti de grosime diferite;
Pentru descoperirea si eliminarea defectiunilor, se efectueaza un control amanuntit la statia de întretinere.
V. Întretinerea sistemului de frânare cu actionare pneumatica
Întretinerea sistemului de frânare cu actionare pneumatica cuprinde lucrari de verificare si lucrari de reglare.
La compresorul de aer se controleaza nivelul uleiului, se verifica debitul compresorului prin masurarea presiunii de refulare (trebuie sa fie de 0,3 - 0,4 MPa la o turatie a motorului de 1000 rot/min) si se curata filtrul de aspiratie. Tot la compressor se verifica întinderea curelei de antrenare si starea de uzura a acesteia, la o apasare asupra curelei cu o forta de 20 N, sâgeata trebuie sa fie de 15 mm.
La instalatia de protectie împotriva înghetului se controleaza starea pompei antigel.
La rezervorul de aer comprimat se verifica fixarea lor pe cadru si purjarea condensului (cel putin de doua ori pe saptamâna, iar în anotimpul umed, zilnic). La o frânare totala caderea de presiune în rezervoare nu trebuie sa fie mai mare de 0,5 MPa.
La regulatorul de presiune, se verifica presiunea de deconectare (0,69 - 0,73 MPa) si presiunea de conectare (0,62 MPa). De asemenea, se curata filtrul regulatorului de presiune.
La supapa de frâna cu doua circuite, se verifica presiunea de deschidere (0,45 MPa) si presiunea de închidere (0,40 MPa).
La cilindrii de frâna se verifica cursa tijei pistonului la frânarea totala, care trebuie sa fie de ˝ din cursa totala.
Pedala de frâna, la frânarea totala, nu trebuie sa se sprijine pe podeaua cabinei.
Etanseitatea sistemului de frânare. La verificarea instalatiei de frânare în ansamblu, la presiunea de 0,5 MPa, în timp de 10 min presiunea nu trebuie sa scada mai mult de 0,01 MPa. La o presiune partiala de frânare de 0,3 MPa (cu automobilul stationând si cu motorul oprit), în timp de 3 min nu trebuie sa se produca nici o scadere de presiune.
Treptele de frânare, în cazul robinetului distribuitor cu doua circuite, trebuie sa se realizeze la mai pitin de 0,05 MPa. La robinetul frânei de mâna, scaderea presiunii de frânare pe fiecare treapta trebuie sa fie mai mica de 0,08 MPa.
În cadrul lucrarilor de control si verificare se mai urmaresc: functionarea comutatorului lampii stop (la 0,03 - 0,07 MPacircuitul electric sa fie închis), functionarea manometrului (trebuie sa indice la o presiune de 0,02 MPa), functionarea dispozitivului de semnalizare a defectiunilor, articulatiilor mecanice ale sistemului de frânare, starea burdufurilor de cauciuc ale cilindrilor de frâna, presiunea la semicuplaje (trebuie sa fie de 0,62 - 0,74 MPa), racordul pentru umflarea cauciucurilor (trebuie sa fie curatit).
Jocul dintre saboti si tambur se regleaza suspendându-se puntea automobilului. Reglarea se face prin rptirea axului 11 în raport cu pârghia 6 (fig. 7), astfel încât jocul dintre saboti si tambur sa fie cel prescris. Axul 11 se roteste prin intermediul melcului 1, actionat cu o cheie în locasul 13. Dispozitivul format din bila 3 si arcul 4 fixeaza axul melcului în pozitia dorita.

Fig. 7. Reglarea jocului dintre saboti si tambur la comanda pneumatica
1-melc;
2-axul melcului;
3-bila;
4-arc;
5-surub de reglare a arcului;
6-pârghie;
7-bucsa;
8-nit;
9-flansa;
10-roata melcata;
11-axul camei;
12-capac;
13-locas pentru cheie;
14-gresor.
VI. Masuri de tehnica a securitatii muncii, prevenire si stingere a incendiilor la lucrarile de întretinere, reparare si exploatare a automobilelor
În scopul eliminarii pericolului de accidente la locul de munca este necesar sa se respecte urmatoarele masuri si reguli principale:
- personalul muncitor va fi echipat cu echipament de lucru corespunzator;
- piesele si sumansamblele care urmeaza sa fie demontate sau prelucrate trebuie sa fie bine fixate pe dispozitive sau suporti speciali;
- este interzisa folosirea sculelor decalibrate care pot provoca accidente prin lovire sau alunecare;
- cozile si mânerele uneltelor de mâna vor fi executate din lemn de esenta tare, fiind bine fixate si vor avea dimensiuni care sa permita prinderea lor sigura si comoda;
- uneltele de mâna actionate electric sau pneumatic vor fi prevazute cu dispozitive sigure pentru fixarea sculei, precum si cu dispozitive care sa împiedice functionarea lor necomandata;
- pentru protectia împotriva electrocutarii prin tensiuni accidentale de atingere, toate masinile unelte, carcasele metalice ale utilajelor electrice de actionare, comanda si control vor fi protejate prin legare la pamânt si la nul înainte de darea lor în exploatare;
- se interzice executarea lucrarilor pe masini unelte cu instalatii si mecanisme defecte, cu scule defecte, precum si de catre persoane care nu cunosc particularitatile constructive ale masinilor unelte respective;
- pietrele abrazive ale polizoarelor si masinilor de rectificat trebuie sa fie îngradite cu aparatoare din tabla prevazute cu ecrane transparente;
- la lucrarile care necesita ridicarea automobilului este obligatorie instalarea dupa ridicare a unor capre si suporturi, care sa împiedice caderea accidentala a automobilului sau a unor subansambluri ale acestuia;
- demontarea si deplasare unor subansambluri grele ale automobilului trebuie sa se faca cu ajutorul unor dispozitive si instalasii speciale; este interzisa folosirea în acest scop a funiilor, rangilor etc.
- înainte de demontare, toate subansamblele automobilului trebuie sa fie golite de lubrifianti si de combustibil, care se colecteaza în rezervoare amplasate în conformitate cu normele PSI;
- vopsirea automobileleor se va executa în încaperi care vor fi prevazute cu instalatii de verificare eficienta pentru a se preveni îmbolnavirile profesionale;
- la sudarea electrica, întreaga instalatie va fi legata la retea printr-un întreruptor de protectie la pamânt pentru prevenirea pericolului de electrocutare;
- în atelierul de reparatii este interzis fumatul, folosirea focului deschis, folosirea lampilor de benzina necorespunzatoare; în caz de incendiu se va interveni pentru localizarea si lichidarea acestuia cu echipamentul din dotare iar, daca este cazul, se vor anunta pompierii.
BIBLIOGRAFIE
1. Antonescu E. ; Fratila M. - Instalatii si echipamente auto - Editura Didactica si Pedagogica - Bucuresti 1995.
2. Cristescu D. ; Raducu D. - Automobilul: constructie, functionare, depanare - Editura Tehnica 1986.
3. Caraciugiuc Gr. ; Patrascu N. - Tractoare - Editira Ceres - Bucuresti 1980.
4. Fratila Gh. ; s.a. - Automobile sofer mecanic auto - Editura Didactica si Pedagogica - Bucuresti 1994.
5. Husein Gh. ; Tudose M. - Desen tehnic de specialitate - Editura Didactica si Pedagogica - Bucuresti 1992.
6. Mondiru C. - Autoturisme
|