POMPAJUL HIDRAULIC
VI.1.GENERALITATI
Pompajul hidraulic se poate realiza folosind pompe cu piston sau pompe cu jet, ambele actionate hidraulic de catre un fluid motor.
POMPE HIDRAULICE CU PISTON
Pompele hidraulice cu piston utilizeaza principiul transmisiilor hidrostatice. Astfel, la pompele hidraulice pistonul pompei este actionat direct de un motor hidraulic. Motorul este actionat hidraulic de catre fluidul introdus de la suprafata unde se afla generatorul hidraulic.
Primul sistem de pompare avand la baza acest principiu a fost conceput si utilizat in anul 1875 ce H.W. Fawcett, fluidul motor fiind la acea vreme aburul. Utilizarea aburului limita metoda doar pentru sondele cu diametre mari si adancimi mici, motiv pentru care treptat a fost abandonata (1920). Pastrand principiul metodei, dar inlaturand dezavantajele constructive si schimband fluidul motor s-au elaborat in continuare diverse solutii cum ar fi pompajul hidraulic cu presiune oscilatorie (R.H. Russel in 1920). Si acest sistem s-a dovedit dezavantajos deoarece datorita alungirii tevilor de extractie si compresibilitatii fluidului motor, volumul care trebuia refulat de pompa de la suprafata pentru realizarea cursei pistonului pompei de adancime era foarte mare. Aceasta conducea la diametre mari ale pistoanelor pompei de suprafata, care trebuia sa realizeze in acelasi timp si presiuni de lucru ridicate. Tot datorita compresibilitatii fluidului motor era dificila corelarea simultaneitatii pompei de suprafata cu agregatul de adancime.
Aceste dezavantaje au fost eliminate prin aparitia in anul 1932 a solutiei concepute de firma KOBE, care asigura functionarea rectilinie alternativa a motorului de adancime prevazut cu sistem de distributie in conditiile unui debit constant de fluid motor pompat de la suprafata. Ulterior constructia acestor pompe s-a perfectionat continuu, detaliile constructive s-au diversificat, solutia fiind preluata si de alte firme (BYRON-JACKSON, OILMASTER, JOHNSON FLAGG, PACIFIC, DEMPSEY, SARGENT, ARMES, etc.), dar utilajul specific este intalnit in limbajul curent tot sub denumirea de “pompe KOBE”.
VI.2.PRINCIPIUL DE FUNCTIONARE
In figura 6.1. este prezentata schema clasica a unei pompe hidraulice cu piston tip Kobe. Pompa este alcatuita dintr-un motor hidraulic actionat de presiune 1, dintr-o pompa cu piston 2 si un sertar (valva) de distributie 3. Coordonarea functionarii acestor trei elemente componente este data de tija 4. Tija leaga cele doua pistoane si este strabatuta de un canal longitudinal prin intermediul caruia se realizeaza atat ungerea pistoanelor, cat si egalizarea presiunilor care actioneaza pe capetele tijei. Debitul fluidului motor este constant, dar datorita valvei de
unei pompe hidraulice cu piston
distributie cu patru cai este dirijat succesiv pe fata superioara, respectiv inferioara a pistonului motor, care astfel executa miscarea alternativa.
In sonda se introduce o garnitura de tevi de extractie prevazuta la partea inferioara cu un separator de gaze si cu un dispozitiv de fixare a pompei hidraulice. Prin interiorul acestei garnituri se introduce pompa hidraulica cu ajutorul altei garnituri de tevi cu diametrul mai mic si se fixeaza in dispozitivul de fixare, realizandu-se astfel si etansarea la partea inferioara a celor doua garnituri de tevi. Prin tevile inferioare se pompeaza de la suprafata fluidul motor care poate fi titei sau apa.
Fluidul motor intra in motorul hidraulic prin valva de distributie cu patru cai. Sertarul (vezi fig. 6.2.) dirijeaza atat fluidul motor
activ, cat si fluidul motor refulat. Considerand ca pistonul motor executa cursa descendenta (fig. 6.2.a), fluidul motor sub presiune este 636e45g dirijat de catre valva de distributie 1 prin canalele 2 deasupra pistonului 3, in timp ce fluidul motor refulat de sub piston este impins prin canalele 4, prin orificiile de evacuare ale valvei si apoi prin canalele 5, in spatiul inelar dintre cele doua garnituri de tevi, de unde urca la suprafata impreuna cu fluidul produs de sonda.

Figura 6.2. Sertarul de distributie a fluidului motor
Cand pistonul ajunge la sfarsitul cursei descendente (fig. 6.2.b), datorita diametrului redus al capatului tijei, presiunea fluidului motor se exercita si pe fata inferioara a valvei de distributie. Aceasta fata avand o suprafata mai mare decat cea superioara, valva este deplasata in sus (fig 6.2.c), astfel ca fluidul motor este acum dirijat prin canalele 4 sub piston si acesta incepe cursa ascendenta. Datorita formei valvei de distributie, fluidul motor refulat de deasupra pistonului este impins prin canalele 2, prin orificiile de evacuare ale valvei, apoi tot prin canalele 5 in spatiul inelar.
Cand pistonul ajunge la sfarsitul cursei ascendente (fig. 6.2.d), portiunea de diametru redus 7 a tijei din zona de deasupra pistonului pune in legatura fluidul aflat sub valva cu canalele 5 unde presiunea este mai mica; astfel, presiunea mare a fluidului motor impinge valva de distributie in jos ca in figura 6.2.a, apoi ciclul se repeta.
In acelasi timp cu deplasarea pistonului motor se produce si deplasarea pistonului pompei, ambele fiind fixate pe tija comuna 4. In cilindrul pompei (vezi fig 6.1.) se gasesc doua supape de admisie 5 si doua de refulare 6, primele comunicand cu sonda prin canalele 7, iar celelalte punand in comunicatie interiorul cilindrului pompei cu canalele de impingere a lichidului din sonda in spatul inelar. Deci, spre deosebire de pompele de extractie obisnuite, pompa hidraulica tip Kobe lucreaza cu dublu efect.
Pistonul pompei are o tija de prelungire 8 cu diametru egal cu cel al tijei pe care se afla pistonul motor si pistonul pompei, tija de prelungire fiind prevazuta insa cu un canal axial in scopul echilibrarii hidraulice a sistemului.
Pentru realizarea ungerii suprafetelor de frecare, pistoanele au cate un sant circular care comunica cu canalul axial al tijei in care patrunde fluidul motor, asigurand astfel ungerea acestor suprafete.
Jocul intre pistoane si cilindri este mult mai mic decat la pompele de adancime obisnuite, si anume intre 0.3 si 0.5 miimi de inch.
In mod normal, cilindrul motor are acelasi diametru ca si cilindrul pompei. Pentru debite de lichid mai mari, pistonul pompei are diametrul mai mare decat al pistonului motor, iar la sondele de mare adancime, pentru a micsora presiunea de lucru, pistonul motor are diametrul mai mare decat al pistonului pompei.
Pentru extragerea pompei la suprafata, cu
ajutorul valvei cu patru cai se inverseaza sensul de circulatie al fluidului
motor in instalatie si anume facand ca acesta sa patrunda in sonda
Figura 6.4. Pompe hidraulice libere
garnitura de tevi cu diametru mic. In aceasta situatie fluidul motor isi exercita presiunea sub pompa, aceasta este scoasa din locas si ridicata spre suprafata. In momentul in care a ajuns la suprafata, pompa este prinsa intr-un cap de lansare special, dispozitivul de agatare a pompei angajandu-se intr-un zavor. Prin deplasarea capului de lansare pompa poate fi apoi scoasa din sonda.
Folosirea pompelor libere este avantajoasa deoarece acestea pot fi schimbate rapid printr-o simpla manevra a valvei cu patru cai, fara sa mai fie necesara deplasarea la sonda a unei instalatii de interventie. De asemenea, la pompele libere se poate atasa un manometru de fund, inregistrarile de presiune putandu-se executa si interpreta foarte rapid.
Se recomanda controlul pompelor cel putin o data la doua luni.
Cele mai utilizate pompe hidraulice sunt cele de tip KOBE-ARMCO.
VI.3. AVANTAJELE POMPAJULUI HIDRAULIC
Pompele hidraulice se preteaza mai bine decat oricare alta metoda artificiala de extractie a titeiului la sondele cu adancimi mari. De altfel, cea mai adanca sonda exploatata artificial (5500 m) a functionat in pompaj hidraulic. Pompajul hidraulic prezinta si alte avantaje:
poate produce o gama mare de debite la sondele cu presiuni mici de fund;
este adecvat pentru pomparea titeiurilor grele si vascoase;
este recomandabil la extractia titeiului din sondele deviate;
utilizeaza un cap de pompare simplu, care ocupa spatiu mic si poate fi plasat intr-o capsula inchisa (sub apa).
VI.4.SISTEME DE CIRCULATIE A FLUIDULUI MOTOR
Calitatea fluidului motor si, in special continutul de particule solide influenteaza durata de functionare a pompei.
Pierderea de fluid motor depinde de uzura creata de particulele abrazive si de vascozitatea acestora. Continutul in solide nu trebuie sa depaseasca 10..15 ppm (parti per milion), adica (10..15) 10-3 kg pentru titeiuri avand grt cuprinsa intre 0.825 si 0.875.
Pentru titeiurile mai grele si mai vascoase, (cu grt cuprinsa intre 0.9 si 0.92) se poate admite un continut in solide ceva mai mare, in timp ce pentru apa, care este mai putin vascoasa, continutul in solide trebuie sa fie mai mic. Diametrul maxim al particulelor solide nu trebuie sa depaseasca 15 mm, iar continutul maxim de sare trebuie sa fie sub 3.7 kg/100m3.
Exista in industrie doua sisteme de circulatie a fluidului motor: sistemul deschis si sistemul inchis.
VI.4.1. SISTEMUL DESCHIS DE CIRCULATIE A FLUIDULUI MOTOR
In acest sistem (vezi fig. 6.5) fluidul motor care a efectuat deplasarea pistonului si este refulat se amesteca cu fluidul produs de sonda. Fluidul motor folosit la acest sistem este titeiul; acesta, avand calitati lubrifiante , nu trebuie tratat. Apa tratata s-ar amesteca cu fluidul venit din strat si, prin urmare, costul tratarii ei ar fi foarte mare in acest caz. Exceptie ar fi numai cazul in care s-ar folosi un titei foarte greu, la temperaturi de fund foarte mari care ar face ca vascozitatea lui sa scada sub 1 cSt si ar necesita adaugarea unui lubrifiant.
Figura 6.5.Pompaj hidraulic in sistem deschis
Un titei vascos si mai greu se preteaza la sistemul deschis deoarece dupa ce este refulat se dilueaza amestecandu-se cu fluidul produs de strat si poate fi mai usor adus la suprafata.
De asemenea, titeiul folosit ca fluid motor conduce la o mai buna intretinere a pompelor de la suprafata, la acestea utilizandu-se pistoane de metal in locul celor cu garnituri. Supapele pompei sunt de tip scaun cu bila si dureaza mai mult decat cele cu disc folosite atunci cand se lucreaza cu apa.
Pe de alta parte, titeiul este mai elastic decat apa (bt>ba si nu creeaza cresteri de presiune ca apa, cresteri care conduc la deteriorarea partilor componente ale conductei si pompei.
Titeiul, avand vascozitatea mai mare decat cea a apei, conduce la pierderi mai mici de fluid motor pe la jocurile dintre suprafetele ce culiseaza una in raport cu alta.
Sistemul deschis se poate realiza cu doua randuri de tevi (fig. 6.3.a) sau cu un singur rand de tevi daca amestecul fluid motor refulat si fluid din strat este produs prin coloana sondei (fig. 6.3.b). Similar pentru pompele libere (figurile 6.4. si 6.6.).
De remarcat ca schemele prezentate in figurile 6.3.a si 6.6.b permit separarea gazelor din fluidul produs de sonda si aspirat de catre pompa. Schemele 6.3.b si 6.6.a implica aspirarea gazelor de catre pompa.
VI.4.2. SISTEMUL INCHIS DE CIRCULATIE A FLUIDULUI MOTOR
Acest sistem necesita, indiferent de tipul pompelor, un rand de tevi in plus pentru returul fluidului motor care, in acest caz, are circuit separat fata de fluidul produs de sonda (fig. 6.7 si 6.8). Din aceasta cauza acest sistem nu este prea raspandit. El se foloseste totusi in
situatii speciale: in cazul titeiurilor vascoase (grt>0,930),
a celor cu proprietati slabe de ungere (grt<0,780), sau la cele cu impuritati solide. Datorita faptului
ca rezervorul de fluid motor este relativ mic, se intrebuinteaza mai mult pe
platformele marine, in cazul exploatarilor limitrofe aglomerarilor urbane sau
cand intervin anumiti factori ecologici. In acest sens, ca fluid motor se
foloseste apa care prezinta mai putine probleme din punct de vedere ecologic
decat titeiul sub

presiune. Fiind in sistem inchis, costul
tratarii apei nu reprezinta o problema, folosindu-se apa curata.
Figura6.8. Pompe hidraulice libere
in sistem inchis
Un alt avantaj al apei ca fluid motor este faptul ca necesita presiuni de pompare mai mici decat titeiul. Apei i se adauga lubrifianti si inhibitori de coroziune; totodata oxigenul trebuie eliminat.
De regula, daca nu intervin factori care sa impuna acest sistem se foloseste sistemul deschis. Ca fluid motor se alege titeiul, deoarece aditivii adaugati apei se pierd in sistemul deschis, astfel incat apa ar trebui tratata in permanenta.
VI.5. INSTALATIA DE POMPAJ HIDRAULIC
VI.5.1. ECHIPAMENTUL DE SUPRAFATA
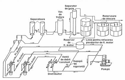
Echipamentul de suprafata este format din: pompa triplex, manifoldul de distributie, sistemul de separatoare, decantoare si rezervoare si capul de pompare (vezi figurile 5.5 si 5.7).
Pompa triplex. Fluidul motor este pompat sub presiune de la suprafata cu ajutorul unei pompe triplex cu cilindrii in pozitie verticala avand cuplaj plunger-cilindru (liner) de tipul metal pe metal, iar supapele de aspiratie si de refulare de tipul cu bila. Se mai folosesc si pistoane metalice cu garnituri de etansare in loc de camasa.
Pompa este prevazuta cu dispozitive auxiliare de siguranta (de descarcare), manometru, pompa de colectare a pierderilor la cutia de etansare si eventual, pompa de supraalimentare (volumica rotativa sau centrifuga).
Supapele de siguranta pentru scurgerea presiunii, in caz ca aceasta este prea mare, nu sunt legate la linia de aspiratie, ci la o conducta separata care duce la rezervorul din care se trage fluidul motor. Acest lucru este necesar in special atunci cand se lucreaza cu titei, deoarece trecerea brusca a acestuia de la presiune mare la presiune mica favorizeaza iesirea unei cantitati de gaze din solutie. Aceste gaze duc la micsorarea eficientei volumice a pompei. Pentru amortizarea pulsatiilor este necesar un amortizor hidraulic, mai ales daca se lucreaza cu apa, iar pe conductele de aspiratie este necesara o camera de acumulare pentru a preveni fragmentarea lichidului in dopuri.
Reglarea debitului de fluid motor se face prin alegerea corespunzatoare a dimensiunii plunger-camasa din gama interschimbabila a pompei. Acest mod de reglare este insa aplicabil doar in cazul unei pompe unice care deserveste o singura sonda. Varianta recomandabila insa din punct de vedere economic este cea a centralelor de pompare, situatie in care de la statia de pompare (mai multe pompe in paralel) sunt deservite toate sondele aflate la o distanta acceptabila de aceasta statie. Pompele de aceeasi tipodimensiune, plasate in paralel, permit o mare flexibilitate de adaptare la parametrii necesari de lucru (presiuni si debite) ai statiei de pompare.
Manifoldul de distributie are rolul repartizarii, reglarii si masurarii debitului de fluid motor pentru fiecare sonda. El este conceput in sectiuni modulare care pot fi usor adaugate sau indepartate in functie de necesitati.
Manifoldul de distributie este dotat pentru fiecare sonda cu o valva de control al debitului, care pentru un orificiu fix de trecere a lichidului mentine o presiune constanta si deci debitul pompat in sonda ramane constant.

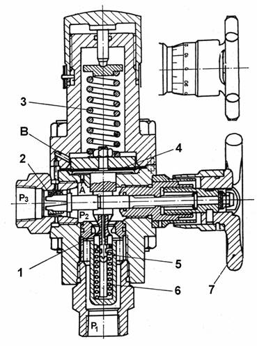
Valva de control al debitului (fig 6.9) are in compunere urmatoarele elemente principale:
a) Valva principala 1, echilibrata, a carei deschidere depinde de pozitia tijei sale. Pozitia acestei tije se auto stabilizeaza prin echilibrul fortelor ce actioneaza asupra sa si anume: eforturile din arcurile 3 si 6 si forta datorata presiunii diferentiale pe membrana 4. La partea inferioara, tija este prevazuta cu cilindrul de echilibrare hidraulica 5.
b) Valva pilot 2 care este comandata de roata de mana 7 prevazuta cu o scala gradata in unitati de debit. Prin interstitiul valvei pilot se produce o cadere de presiune (presiune diferentiala):
Aceasta presiune diferentiala actioneaza de jos in sus asupra membranei, deoarece prin orificiul A presiunea p2 se exercita pe fata sa inferioara, iar prin orificiul B presiunea p3 se exercita pe fata superioara membranei.
Presupunand o crestere aleatoare fata de debitul programat, rezulta o crestere a presiunii diferentiale, deci o forta suplimentara ascendenta asupra membranei. Aceasta ridica tija, reducand deschiderea valvei principale 1, astfel debitul tinzand automat sa revina la valoarea initiala.
Capul de pompare este simplu, avand ca parti principale un burlan pentru lansarea si extragerea pompelor libere si ventilul cu patru cai (fig. 6.4.b).
Modalitatile de echipare a sondei in vederea exploatarii acesteia prin pompaj hidraulic sunt redate in figurile (6.3, 6.4, 6.6 si 6.8). Pompele hidraulice se pot adapta la aproape orice dimensiune de tevi de extractie, de la 11/4 in diametru interior pana la 41/2 in diametrul exterior. Pompele libere necesita un diametru interior minim de 2 m in pentru tevile de extractie.
Modul de
simbolizare a unei pompe hidraulice obisnuite este de exemplu: 21 ² ² ² in care prima cifra se refera la diametrul interior al tevilor
de extractie (in), in care este introdusa pompa (sau cu care este introdusa), a
doua cifra reprezinta diametrul pistonului motor (in), iar a treia diametrul
pistonului pompei (in).
Exista si pompe notate cu simbolul 21/2 ² ² ² ², reprezentand pompe hidraulice cu doua pistoane, ultima cifra reprezentand diametrul celui de-al doilea piston al pompei (in). De asemenea exista si pompe cu doua motoare si doua pistoane de pompa, sau cu doua pistoane motoare si un piston de pompa. Asemenea pompe permit extragerea unor debite mai mari, necesitand in schimb presiuni de pompare la suprafata mai mari.
Tot pentru extragerea unor debite mai mari se pot folosi si pompe hidraulice in tandem (fig. 6.10). Aceste pompe necesita insa debite mari de fluid motor si in consecinta o putere instalata mai mare.
Figura 6.10. Pompe hidraulice in tandem
Randamentul de eficienta (eficienta volumica) a acestor pompe este influentat in mod negativ de prezenta gazelor libere in fluidul aspirat. In mod obisnuit, atunci cand presiunea de aspiratie a pompei este sub 30 bar, iar ratia gaze-lichid este mai mare de 100 m3N/m3 se impune separarea si scurgerea gazelor, asa cum se observa din figurile 6.3.a, 6.4, 6.6.b, 6.8, putandu-se atasa chiar un separator de gaze. Aceste pompe nu prezinta spatiu mort si randamentul lor volumetric este mai mare comparativ cu pompele cu prajini, pentru aceleasi conditii de aspiratie.
In sensul celor aratate mai sus, nu se recomanda o proiectare avand un randament volumetric mai mic de 50 %.
O valoare absolut limita ar fi 30%. Daca gazele nu pot fi separate, se impune sa se lucreze cu o presiune de fund mai mare. Ideal este sa se asigure separarea si scurgerea gazelor.
VI.6.PARAMETRII FUNCTIONALI
Debitul de fluid extras. Debitul de fluid extras de pompa cu dublu efect se calculeaza cu relatia
(6.1)
in care:
Apeste suprafata activa a pistonului pompei,
s-lungimea cursei pistonului;
n-numarul de curse pe minut;
hvp-randamentul volumetric al pompei.
Determinarea capacitatii pompei care aspira si gaze
Pentru a determina volumul de fluid pe care trebuie sa-l aspire pompa pentru a produce un debit de lichid dat, atunci cand aceasta aspira si gaze, trebuie sa se tina seama de eficienta sau randamentul volumetric al pompei, hvp. Deoarece la pompele hidraulice cu piston spatiul mort este practic zero, randamentul volumetric al pompei va fi egal cu:
(6.2)
unde:
este
debitul de gaze corespunzator presiunii de aspiratie pa
Asa dupa cum se observa din relatia anterioara randamentul volumetric este legat direct de ratia gaze-lichid corespunzatoare aceleiasi presiuni daca sonda produce numai titei si gaze.
Daca pompa aspira titei, apa si gaze, ratia gaze-lichid corespunzatoare presiunii de aspiratie va fi egala cu:
(6.3)
unde:
pa este presiunea absoluta de aspiratie,
rs-ratia de solutie corespunzatoare presiunii pa;
T-temperatura la aspiratia pompei;
Z-factorul de abatere de la legea gazelor perfecte, corespunzatoare presiunii pa;
Ra-ratia
de apa (
);
blichid-factorul de volum al lichidului.
bt, ba: factorul de volum al titeiului, respectiv al apei corespunzatoare presiunii pa
Qt, Qa: debitul de titei, respectiv de apa.
Daca pompa aspira numai titei si gaze, relatia (5.3) devine:
(6.4)
Deci cunoscand
randamentul volumetric cu ajutorul relatiei (6.2) se poate determina volumul de
fluid pe care trebuie sa-l aspire pompa (
)
pentru a produce un debit de lichid dat, atunci cand aspira si gaze.
Pompa se alege in primul rand in functie de diametrul interior al tevilor de extractie si debitul de lichid pe care trebuie sa-l extraga. Intervine, in continoare, raportul Ap/Am care este legat de presiunea de pompare la suprafata.
Debitul Q aspirat este recomandabil sa corespunda la 85% din debitul maxim al pompei, corespunzatoare numarului maxim de curse pe minut. Daca exista mai multe pompe care indeplinesc aceasta cerinta, atunci se alege cea care are raportul Ap/Am minim. Aceat lucru presupune un Am cu valoare mare, care asigura o presiune minima la suprafata si in sonda si deci mai putine pierderi de fluid motor, prin spatiile libere dintre suprafetele care culiseaza.
Debitul de fluid motor. Debitul de fluid motor depinde de debitul real produs de pompa, de randamentul volumetric al pompei si al motorului, precum si de volumele create prin deplasarea pistoanelor, exprimate in m3/zi/cursa/minut.
Se fac urmatoarele notatii:
q1 este debitul de fluid motor, m3/zi/cursa/minut;
Q'1-debitul
teoretic de fluid motor (
),
m3/zi;
Q1-debitul
real de fluid motor pompat (
),
m3/zi;
q4-debitul aspirat de pistonul pompei, m3/zi/cursa/minut;
Q'4-debitul
teoretic produs (aspirat) de pompa,(
),
m3/zi;
Q4-debitul
real produs de pompa (
),
m3/zi. Daca sonda produce si apa:
Q5-debitul de titei, m3/zi;
Q6: debitul de apa, m3/zi;
hvm-randamentul volumetric al motorului;
hvp-randamentul volumetric al pompei.
Debitul real de fluid motor rezulta din relatia:
(6.4)
Rezulta:
(6.5)
La o pompa noua randamentul volumetric al motorului este de aproximativ 95 % iar cel al pompei de 90 %. Se recomanda sa se utilizeze 90 % si respectiv 85 % pentru valorile randamentului si sa se aleaga o pompa care sa functioneze cu un numar de curse pe minut de pana la 85 % din numarul maxim de curse pe minut.
Daca pompa aspira si gaze, randamentul volumetric al pompei se determina cu relatia (6.2).
In realitate, pentru a face fata si pierderilor de fluid motor, trebuie sa se pompeze un debit Q1 egal cu:
Presiunea de pompare la suprafata. Pentru determinarea presiunii la suprafata, la pompa triplex, se scrie echilibrul fortelor generate de presiunile p1..p4 (fig. 6.1). Valorile acestor presiuni sunt:
(6.6)
unde:
H: adancimea de fixare a pompei,
:
pierderile de presiune prin frecari in tevile de extractie prin care se
pompeaza fluidul motor,
-presiunea
la suprafata (la pompa triplex)
(6.7)
unde:
este densitatea amestecului (fluid motor plus
fluid produs de sonda);
-pierderile
de presiune prin frecari in tevile de extractie prin care circula amestecul
(fluidul motor plus fluidul produs de sonda). La unele pompe amestecul circula
prin coloana (fig, 6.3.b si 6.6), p2 este egal cu p3 numai
la sistemul deschis.
- presiunea in capul de pompare.
(6.8)
unde:
este densitatea fluidului produs de sonda;
h-submergenta pompei;
-presiunea
de aspiratie a pompei.
In cazul sistemului inchis de circulatie a fluidului motor rezulta:
(5.9)
unde:
reprezinta
pierderile de presiune prin frecari in tevile de refulare a fluidului motor;
-presiunea la suprafata in tevile de
refulare.
(6.10)
unde:
-reprezinta
pierderile de presiune prin frecari in tevile (fig, 6.8) prin care circula
fluidul produs de sonda (debitat de pompa) sau in spatiul inelar daca se
foloseste packer.
Din echilibrul fortelor generate de aceste presiuni rezulta:
(6.11)
Din relatia (6.11),
se determina valoarea lui
,
la care se adauga si pierderile de presiune prin pompa
pp.
Deci:
(6.12)
relatie valabila atat pentru sistemul deschis cat si pentru cel inchis (la sistemul deschis p2 egal cu p3)
Relatia (6.12) se mai poate scrie, tinand seama de relatia (6.6) si sub forma:
![]()
(6.7)
de unde rezulta valoarea lui ps:
(6.8)
Valoarea maxima admisa pentru ps este de 350 bar.
Pierderile de presiune prin pompa cuprind pierderile de presiune din pompa cu piston motor (motorul hidraulic) cat si cele din pompa propriu-zisa. Valoarea lui Dpp se determina cu ajutorul diagramei din fig, 6.11, in functie de vascozitatea cinematica a fluidului motor la temperatura de la nivelul pompei, de raportul nr. de curse/ nr. maxim de curse (%) si de tipul pompei.
![]() |
EXEMPLU DE CALCUL
Datele initiale pentru sonda ”720” sunt:
|
Date |
Sonda |
|
Diametrul coloanei de exploatare, in |
|
|
Oglinda sondei, m |
|
|
Interval perforat, m |
|
|
Presiunea de fund statica, bar |
|
|
Presiunea de fund dinamica, bar |
|
|
Presiunea in capul de eruptie, bar |
|
|
Debitul sondei, m3/zi |
|
|
Densitatea titeiului, kg/m3 |
|
|
Densitatea apei, kg/m3 |
|
|
Vascozitatea titeiului, cP |
|
|
Vascozitatea apei, cP |
|
|
Tensiunea superficiala a titeiului, dyn/cm |
|
|
Tensiunea superficiala a apei, dyn/cm |
|
|
Temperatura de fund, C |
|
|
Procentul de impuritati, % |
|
|
Diferenta de nivel sonda-parc, m |
|
|
Diametrul nominal al tevilor de extractie, in |
|
|
Debitul estimat a fii extras |
|
|
Indicele de productivitate, m3/zi×bar |
|
SONDA “720” BOLDESTI:
1. Se alege agregatul de pompare KOBE tip A1 2×1 -1 ˝ fixat la adancimea de 2235 m, cu urmatoarele caracteristici:
debitul de fluid motor q1=0.342 m3/zi/cursa/min;
debitul aspirat de pistonul pompei q4=0.334 m3/zi/cursa/min;
turatia maxima nmax=121curse/ min;
raportul suprafetelor pistoanelor R=1
Numarul de curse/ min ale agregatului de pompare:
,curse/ min (57.64% din nmax);
Debitul de fluid motor:
,m3/zi;
Debitul total de lichid extras:
,m3/zi;
Presiunea necesara la pompa triplex:
densitatea amestecului
![]()
,m3/zi
,m3/zi
vascozitatea amestecului:
,cP
viteza fluidului in spatiul inelar:
,m/s
Numarul Reynolds:
Coeficientul caderilor de presiune prin frecare:
Caderile de presiune datorate frecarilor in spatiul inelar sunt:
,bar
Presiunile p2 si p3 vor fi:
,bar
Adancimea de submergenta a pompei:
,m
(Hd este inaltimea dinamica de pompare- calculata la capitolul 3)
Densitatea fluidului debitat de sonda:
,kg/m3
Presiunea p4:
,bar
Caderea de presiune in tevi:
,bar
,m/s
Se alege o pompa triplex KOBE-ARMCO cu pistoane de 3/4 in si presiunea maxima de 277.2 bar.
Puterea hidraulica este
,CP
|