GRUP SCOLAR
"DIMITRIE LEONIDA"
CONSTANTA
PROIECT DE ABSOLVIRE PENTRU EXAMENUL
DE CERTIFICARE A COMPETENTELOR
PENTRU
OBTINEREA CERTIFICATULUI DE CALIFICARE
PROFESONALA
NIVELUL II
CLASA A-XI-A E
PROFIL:Mecanic
SPECIALIZAREA: Mecanic Auto
ÎNDRUMATOR PROFESOR : ELEV:
INGINER - SAMBRA RADU VINA ROBERT
GRUP SCOLAR
"DIMITRIE LEONIDA"
CONSTANTA
TEMA PROIECTULUI:

ÎNDRUMATOR PROFESOR : ELEV:
INGINER - SAMBRA RADU VINA ROBERT
Partea a II - a Apreciera calitatii activitatii candidatului
|
CRITERIUL |
DA/NU |
OBSERVATII |
|
1.Activitatile practice intreprinse in cadrul proiectului se raporteaza adegvat la tema proiectului. |
|
|
|
2.Abordarea temei proiectului a fost facuta dintr-o prespectiva persoana candidatul demonstrand reflectie critica. |
|
|
|
3.Activitatile practice au fost intreprinse sub supravegherea indrumatorului de proiect. |
|
|
|
4.Realizarea sarcinilor de lucru stabilite prin planul proiectului a fost facuta conform planificarii initiale. |
|
|
|
5.documentarea pentru proiect a fost facuta sub supravegherea indrumatorului de proiect. |
|
|
|
6.Identificarea bibliografiei necesare redactarii partii scriese a proiectului a fost realizata integral. |
|
|
|
7.Referintele bibliografice utilizate la redactarea parti scrise a proiectului au fost prelucrate corespunzator si nu sunt o compilatie de citate. |
|
|
|
8.Situatiile - problema cu care s-a confrunmtat candidatul pe parcursul executarii proiectului au fost rezolvate cu ajutorul indrumatorului. |
|
|
|
9.La realizarea sarcinilor de lucru din cadrul proiectului candidatul a facut dovada efortului personal a originalitatii solutiilor propuse a imaginatiei in abordarea sarcinii. |
|
|
|
10.Solutiile gasite de catre candidat pentru rezolvarea problemelor practice au o buna transferabilitate in alte contexte practice. |
|
|
CRITERIUL
DA/NU
OBSERVATII
1.Comunicarea orala a candidatului este clar, coerenta, fluenta.
2.Prezentarea a fost structurata echilibrat in raport cu tema proiectului si cu obiectivele acestuia.
3.Candidatul a demonstrat putere de sinteza si adoptarea prezentari la situatia de examinare.
4.Candidatul si-a sustinut punctele de vedere si opiniile intr-un mod personal si bine argumentat.
5.Candidatul a utilizat in prezentare elemente de grafica, modelele, aplicatii, TIC etc. in scopul accesibilizarii informatiei si a cresteri atractivitatii prezentarii.
Aprecierea raspunsurilor candidatului la intrebarile Comisiei:
|
INTREBAREA |
DA/NU |
OBSERVATII |
|
|
|
|
|
|
|
|
|
|
|
|
Rezultatul final produs de comisia de examinare de baza evaluarii globale a Partiilor I, II, III si IV a Fisei de evaluare a proiectului si a sustineri orale.
1.Admis
2.Respins
Examinator: Presedinte de comisie:
Data :
![]()
Cuprinsul proiectului:
Cap.I.-Argumentu proiectului
Cap.II.-Continutul propriu-zis
II.2.-Materialul utilizat
II.4-Defecte si remedieri
II.6- N.S.S.M., P.S.I
Cap.III.-Bibliografie
Cap.IV.-Anexe
CAP. I. ARGUMENT
1.1.AMBREIAJUL. DESTINAŢIE, CONDIŢII IMPUSE, CLASIFICARE
Ambreiajul îndeplineste urmatoarele functii :
Cuplarea progresiva a motorului, care se afla în functiune, cu restul transmisiei, permitând automobilului pornirea pornirea dupa loc ;
Decuplarea transmisiei de motor, la oprire ;
Decuplarea si cuplarea transmisiei în timpul deplasarii automobilului pentru efectuarea schimbarii treptelor de viteza ;
Protejarea celorlalte organe ale transmisiei la suprasarcini (prin patinare).
Pentru a realiza aceste functii, ambreiajul trebuie sa îndeplineasca anumite conditii, si anume :
Sa permita o cuplare lina, fara socuri, între motor si transmisie, evitând pornirea brusca de pe loc a automobilului si socurile în organele transmisiei ;
În stare cuplata, sa asigure transmiterea momentului motor, fara patinare ;
Sa asigure evacuarea caldurii ce se produce între suprafetele lui de frecare, în timpul cuplarii ;
Sa permita decuplarea rapida si completa a motorului de restul transmisiei, pentru ca schimbarea treptelor cutiei de viteza sa se faca fara socuri ;
Sa nu necesite eforturi mari pentru decuplare, din partea conducatorului auto (maxim 150 N la autoturisme si 250 N la autocamioane si autobuze) ;
Sa aiba greutatea cât mai mica ;
Sa fie echilibrat dinamic ;
Sa ofere siguranta în exploatare ;
Sa fie cât mai usor de întretinut si reglat.
Clasificarea ambreiajelor se poate face dupa principiul de functionare si dupa tipul mecanismului de actionare .
Dupa principiul de functionare, ambreiajele pot fi : cu frictiune (mecanice), hidraulice (hidrodinamice), electromagnetice si combinate.
Dupa tipul mecanismului de actionare, ambreiajele pot fi cu actionare mecanica, hidraulica, vacuumatica, electrica.
1.2.AMBREIAJELE MECANICE
În constructia de automobile, cele mai utilizate sunt ambreiajele mecanice (cu frictiune), deoarece ele satisfac în buna masura cerintele principale (simplitate constructiva, siguranta în exploatare, manevre usoara, greutate mica).
Principiul de functionare si clasificarea ambreiajelor mecanice
Functionarea ambreiajelor mecanice se bazeaza pe folosirea fortelor de frecare care apar între doua sau mai multe suprafete sub actiunea unei forte de apasare. O parte din suprafetele de frecare sunt solidare la miscare cu volantul motorului, iar o alta parte cu arborele de intrare în cutia de viteze.
Schema de principiu a ambreiajului mecanic este reprezentata în figura 1.1. Pe volantul 1, solidar la miscare cu arborele cotit al motorului, este montata carcasa 5. Discul conducator (de presiune) 4 este solidar la rotatie cu volantul prin intermediul carcasei, care+i da si posibilitatea sa se deplaseze axial. Discul condus 2, asezat între volant si discul de presiune, este solidarizat la rotatie cu arborele primar 8, al cutiei de viteze si are posibilitatea de deplasare axiala, fiind fixat prin caneluri. Arcurile periferice 6, care realizeaza forta de apasare a discului de presiune pe discul condus, sunt montate între carcasa ambreiajului si discul de presiune. Garniturile de frictiune2, cu care este prevazut discul condus, au rolul de a mari coeficientul de frecare al suprafetelor acestuia.

Fig.1
În mod normal, ambreiajul este cuplat, adica arcurile de presiune, actionând asupra discului de presiune, mentin discul condus apasat pe volant. Datorita frecarii ce se produce, pe de o parte între volant si discul condus, iar pe de alta parte între discul condus si discul de presiune, momentul motor se transmite de la arborele cotit la arborele primar al cutiei de viteze si de aici, prin celelalte organe ale transmisiei, la rotile motoare.
Decuplarea ambreiajului se realizeaza prin actionare de la pedala 9 a pârghiei 7, care îndeparteaza discul de presiune 4 de discul condus 2, comprimând arcurile 6. Astfel este anulata forta de frecare dintre suprafetele discurilor si volantului, iar momentul motor nu se mai transmite la rotile motoare : acesta este pozitia ambreiaj decuplat.
Cuplarea ambreiajului se face printr-o eliberare lina a pedalei, ceea ce permite arcurilor de presiune sa restabileasca legatura dintre suprafetele de frecare ale ambreiajului prin apasarea discului de presiune pe discul condus.
Daca forta de apasare nu este suficient de mare, ambreiajul patineaza (suprafetele de frecare aluneca una fata de cealalta ), iar prin ele se transmite numai o parte din energia mecanica, cealalta parte transformându-se în energie calorica ce încalzeste amvreiajul si uzeaza garniturile de frictiune ale discului condus.
Ambreaiajele mecanice se clasifica :
Dupa forma geometrica a suprafetelor de frecare, în ambreiaje cu dicuri, cu saboti, cu conuri ;
Dupa numarul arcurilor de presiune si modul de dispunere a lor, în ambreiaje cu mai multe arcuri dispuse periferic si cu un singur arc central ;
Dupa numarul discurilor conduse, în ambreiaje cu un singur disc (monodisc), co doua discuri (bidisc), cu mai multe discuri (polidisc) ;
Dupa modul de obtinere a fortei de apasare, în ambreiaje simple (cu arcuri), semicentrifuge, centrifuge ;
Dupa conditiile de lucru ale suprafetelor de frecare, în ambreiaje : uscate si umede (în ulei) ;
Dupa tipul mecanismului de actionare, în ambreiaje : cu actionare mecanica si hidraulica ;
Dupa modul de realizare a debraierii, în ambreiaje : cu decuplare manuala, semiautomata (cu servomecanism), automata.
CAP. II. CONŢINUTUL PROPRIU - ZIS
1.1. Constructia Instalatiei Ambreiajului
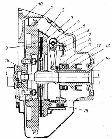
Ambreiajul monodisc este tipul de ambreiaj cel mai utilizat la automobile. În figura .1.2 se reprezinta un ambreiaj monodisc simplu cu arcuri periferice. Partile componente ale ambreiajului pot fi grupate în : organe conducatoare, organe conduse si mecanismul de actionare.
Organele conducatoare sunt : volantul 1, carcasa 8, discul de presiune 3, arcurile de presiune 15, pârghiile de debraiere 4. Discul de presiune este solidar la rotatie cu volantul prin intermediul carcasei si se poate deplasa axial. Între discul de presiune si carcasa ambreiajului sunt montate arcurile 15, care realizeaza forta de apasare pe suprafetele de frecare ale ambreiajului.
Pentru a realiza decuplarea (debraierea), pârghiile 4 sunt articulate în doua puncte : unul 5 la discul de presiune si altul 6 la carcasa.

Fig.2
Organele conduse ale ambreiajului sunt discul condus 3 si arborele ambreiajului 14. Discul prevazut este condus cu doua garnituri de frictiune 9, fixate prin nituri, de o parte si de alta. El se monteaza între volant si discul de presiune si are posibilitatea sa se deplaseze axial pe canelurile arborelui 14, datorita canelurilor practicate la interiorul butucului discului condus.
Mecanismul de actionare se compune din : rulmentul de presiune 12, mansonul 13, furca ambreiajului, cilindrul receptor, cilindrul principal si pedala ambreiajului.
Automobilele Roman sunt echipate cu ambreiaje monodisc simple cu arcuri periferice(fig.1.3). Având de transmis un moment motor mare, aceste ambreiaje cu arcuri periferice dispuse pe doua rânduri, ceea ce permite obtinerea unei forte de apasare mai mari si implicit a unei forte de apasare mai mari si implicit a unei forte de frecare corespunzatoare

Fig.3
Pentru debraiere (decuplare), se actioneaza pedala ambreiajului si pistonul cilindrului receptor de plaseaza spre dreapta tija 23, iar furca de debraiere 20 împinge rulmentul de presiune 10 spre stânga.
Acesta, prin intermediul inelului 9 (montat pe capetele interioare ale pârghiilor de debraiere 5), actioneaza asupra pârghiilor de debraiere, care rotindu-se în jurul punctului de articulatie la carcasa, deplaseaza discul de presiune 3 spre dreapta (comprimând arcurile de presiune 24). Anulându-se forta de frecare dintre suprafetele discurilor si volantului este întrerupta transmiterea momentului de la motor la cutia de viteze.
La eliberarea pedalei ambreiajului, furca de debraiere este readusa în pozitia initiala de catre un arc de rapel (readucere) si o data cu ea este readus si rulmentul de presiune iar arcurile periferice, destinzându-se restabilesc legatura prin frecare dintre discul de presiune, discul condus si volant.
În pozitia ambreiaj cuplat, între rulmentul de presiune si inelul de debraiere, este necesar sa existe un joc de 3 mm, care permite o cuplare sigura a ambreiajului si în cazul când garniturile de frecare sunt uzate în limitele.
MATRIALUL UTILIZAT
PROCESUL TEHNOLOGIC DE INTRETINERE
Intretinerea Ambreiajului
Intretinerea ambreajului cuprinde lucrari de ungeri control-verificare si reglare. Operatiile si periodicitatea lor sunt prezentate in tabel:
|
Operatia |
Peridiocitatea, km echivalenti |
|
Controlul si restabilirea nivelului lichidului de frana din rezervorul comenzii hidraulice |
Zilnic; nivelul trebuie sa fie la ľ din volumul rezervorului. |
|
Verificarea daca orificiul de aerisire din capacul rezervorului este astupat |
Zilnic |
|
Ungerea axului pedalei de ambreaj |
|
|
Verificarea tensiunii arcurilor de tragere de la pedala de ambreaj si cilindru receptor |
|
|
Reglarea ambreajului (cursa libera a pedalei) |
|
Buna functionare a unui ambreaj este asigurata atunci cand bataia discului, masurata la marginea exterioara a inelului de frictiune, nu depaseste 0,5 mm si cand ambreajul este bine reglat.
La un ambreaj bine reglat pedala are o cursa libera de 20-30 mm. La aceasta cursa libera corespunde un joc de 2-3mm intre capetele interioare ale parghiilor de debraere si rulmentului de presiune sau intre inelul de debraere si rulmentul de presiune. Pe masura subtierii discului ambreajului, ca urmare a uzurii garniturii de ferodou, cursa libera a pedalei se micsoreaza, concomitent micsorandu-se corespunzator si jocul la rulmentul de presiune. Pentru evitarea contactului permanent intre parghiile de debraere si inelul de presiune sau rulmentul de presiune, fapt ce conduce la degradarea ambreajului, este necesar sa se restabileasca jocul respectiv la valoarea indicata dupa fiecare 10.000 km echivalenti parcursi.
Reglarea cursei libere a pedalei si deci si a jocului la rulmentul de presiune se face prin micsorarea distantei dintre cilindru receptor si capu exterior a furcii de debraere. Pentru aceasta se stabileste contrapiulita surubului inpingator al furcii, si se roteste surubul impingator pana cand la pedala se obtine o cursa libera de marimea celei indicate.

Efectuarea reglarii cursei libere a pedalei trebuie precedata obligatoriu de aerisirea instalatiei de comanda hidraulica a ambreajului.Operatia este asemanatoare cu cea a aerisirii instalatiei de franare cu actiune hidraulica. In acest scop se va actiona asupra surubului de aerisire.
DEFECTE SI REMEDIERI
Defectele in exploatare ale ambreajului se pot manifesta sub forma: ambreajul nu cupleza sau patineaza; ambreajul nu cupleaza; ambreajul cupleaza cu smucituri sau face zgomot.
Ambreajul patineaza sau nu cupleaza. Defectul se constata mai ales la deplasarea autovehiculului in treapta de priza directa cu viteza redusa, cand motorul este accelerat iar tuartia sa creste brusc fara ca viteza automobilului sa se mareasca sensibil.
Defectul are mai multe cause:
-lipsa cursei libere a pedalei face ca furca ambreajului sa apese in permanent ape rulmentul de presiune ceea ce provoaca uzura mai rapida a lui si reduce prin apasarea discului de presiune asupra discului condus deoarece ambreajul cupleaza incomplet;
Inlaturarea defectului consta in reglarea cursei libere a pedalei ambreajului la valoarea prescrisa de fabrica constructoare.
-existenta uleiului pe suprafetei discului de franare se datoreaza patrunderii acestuia in ambreaj, ca urmare a pierderilor de ulei de la motor pe la palierul principal, a ungerii preabundente a rulmentului de presiune sau depasirii nivelului uleiului in carterul cutiei de viteze.
Inlaturarea defectului consta in spalarea garniturilor de frecare cu benzina sau daca au fost imbibate cu ulei se inlocuiesc. In acelasi timp va trebui eliminata cauza patrunderii uleiului in ambreaj.
-slabirea sau decalirea arcurilor de presiune este urmarea folosirii indelungate si a supraincalzirii acestora. Remedierea consta in demontarea ambreajului vreificarea rigiditatii arcurilor de presiune si inlocuirea celor slabite.
-uzura accentuate a garniturilor de fracare se datoreaza utilizarii necorespunzatoare sau indelungate a ambreajului. Garnituri uzate peste limita admisa se inlocuiesc.
Ambreajul nu decupleaza. Defectul se manifesta la schimbarea treptelor de viteze cand arborele cotit nu se decupleaza de transmisie fiind insotit de un zgomot puternic mai ales la incercarea de decuplare a treptei I. Cauzele pot fi: existenta unei curse libere prea mari, deformarea discului de frecare, dereglarea sau ruperea pirghilor de decuplare, arcul ti diafragma deformat sau decalit, neetanseitatea la mecanismul de actionare hidraulic.
-cursa libera a pedalei ambreajului, este prea mare datorita unui reglaj incorrect si a uzurilor mari a articulatiilor mecanismelor de comanda. Inlaturarea defectiunii consta in reglarea cursei libere a pedalei conform prescriptiilor constructorului.
-deformarea discului de franare se produce mai ales ca urmare a supraincalzirii a reconditionarii defectuase. La decuplare ambreajul suprafetele deformate vor atinge atat suprafata discului de presiune cat sip e cea a volantului facand inposibila decuparea completa. Daca deformarea discului nu depaseste 0,3-0,4 mm acesta se indreapta in caz cotrar se inlocuieste.
-degradarea parghiilor de decuplare conduce la o deplasare inclinata a discului de presiune fata de pozitia initiala iar decuplarea nu va fi completa. Defectiunea este insotita mai ales la inceputul decuplarii de o trepidatie usoara si de un zgomot metalic neritmic. Defectiunea se inlatura prin reglarea parghiilor de decuplare.
-ruperea parghiilor de decuplare duce la o situatie similara degradarii lor numai ca zgomotul produs este permanent datorita lovirii continua a parghiilor rupte de discurile in rotatie.
-defectiunile mecanismului de actionare hidraulic conduc la imposibilitatea decuplarii complete. Existenta arcului in instalatie provoaca o situatie similara.
Ambreajul cupleaza cu smucituri sau face zgomote puternice. Defectul se datoreaza urmatoarele cause principale: spargerea discului de presiune, slabirea sau ruperea arcurilor discului condus, ruperea niturilor de fixare a garniturilor de frecare, dereglarea sau ruperea parghiilor de decuplare.
-spargerea discului de presiune se poate datora fabricatiei necorespunzatoare supraincalzirii si conducerii defectuoase. Remedierea consta in inlocuirea discului de presiune.
-slabirea sau ruperea arcurilor discului condus se produce dupa o functionare indelungata sau manevra brutala a ambreajului. Remedierea consta in inlocuirea discului condus sau a arcurilor defecte.
-ruperea niturilor de fixare a niturilor de fixare a garniturilor de frecare se datoreaza slabirii lor ca urmare a functionarii cu socuri a ambreajului sau montari gresite. Remedierea consta in inlocuirea discului de frictiune.
REPARAREA AMBREAJULUI
Demontarea ambreajului. Pentru a putea fi reparat, ambreajul trebuie demontat de pe motor. Acest lucru se poate face decat prin demontarea schimbatorului de viteze. Dupa demontarea de pe automobile, pentru a putea fi demontat in piese componente in vederea repararii, carcasa ambreajului se demonteaza, pentru usurinta operatiei, cu ajutorul unui dispozitiv special care serveste atat pentru demontare cat si pentru montare. Dupa demontare si spalare, se controleaza toate piesele componente. Evident, piesele care nu se pot repara se inlocuiesc.
In cele ce urmeaza se prezinta sumar tehnologia de reparare a catorva repere ale ambreajului GFX 310 KZ de la automobilele ROMAN echipate cu motoare SAVIEM 797-05
Repararea placii de presiune. Material :se executa din fonta cenusie Fc 25 cu duritatea de 180-241 HB.
Conditii tehnice de reformare. Placa de presiune se reformeaza atunci cand prezinta rizuri sau crapaturi ale suprafetei de lucru ce nu dispar prin strunjire la cota de minimum 32±0,5 mm sau cand grosimea sa este sub cota de 32±0,5 mm.
Defecte. Defectele posibile pentru placa de presiune sunt : rizuri si uzuri pe suprafata de lucru, uzura sau deteriorarea locasului pentru parghia de debraere, uzura pentru boltul suportului, uzura supafetelor laterale de ghidare in carcasa, sparturi, rupture ale urechilor ghidajelor si bosajelor de centrare a resoartelor.
Tehnologia de reparare.
-rizurile se pot stabilii visual iar uzura prin masurarea cu sublerul. Aceste defecte se remediaza prin rectificare la o masina de rectificat plan sau prin strunjire fina la un strung parallel intr-un dispozitiv de prindere pana la disparitia lor respective cota minima 32±0,5 mm .
-uzura sau deteriorarea locasului parghiei se reconditioneaza prin frezarea locasurilor la cota de maxim 10,30mm si folosirea a doua saibe compresatoare cu grosimea 0,75-0,80 mm; saibele se vor asigura prin puncte de sudura.
-uzura
gaurilor pentru boltul suportului se recomanda prin alezarea locasului la
cote de Ř
mm respective cota 123 ± 0,05 mm, si folosirea unui bolt
majorat coresounzator.
-uzura suprafetelor laterale de ghidare in carcasa se elimina prin incarcarea cu sudura oxiacetilenica urmata de ajustarea prin frezare la cota nominala.
-sparturile si rupturile urechilor ghidajelor si bosajelor de centrare a arcurilor se reconditioneaza prin sudare oxiacetilenica urmata de ajustarea la nivelul de baza .
Repararea discului de frictiune.(Fig.1.4)
Materiale : inelul butucului se executa din otel de calitate OLC 35 tratament termic prin imbunatatita urmata de calire cu curenti de inalta frecventa; duritatea : 50-60 HBC.
Conditii tehnice de reformare. Inelul butucului se reformeaza cand przinta fisuri sau rupture. Acest reper nu se reconditioneaza ci se inlocuieste.
Repararea parghiilor de debraere.
Materiale :se executa din otel 15 CO8 aplicandu-se un tratament termic de cementare, calire; duritatea obtinuta trebuie sa fie de 60-63 HBC.
Conditii tehnice de reformare: fisuri, sparturi ale corpului parghiei ,indifferent de marime si de pozitie; ruperea parghiei.
Defecte: uzura suprafetei de actionare; uzura locaselor pentru bolturile de ghidare; uzura suprafetelor laterale in zona de contact;
Tehnologia de reparare.
-uzura suprafetei de actionare se elimina prin materiale cu pulberi urmata de rectificare la cota nominala 11mm respectand cota de R 8 la 72mm si 11mm.
-uzura
locaselor pentru boltul de ghidare se reconditioneaza prin alezare la cota
Ř
mm si folosirea de bolturi majorate la cota Ř
mm. Dupa alezare, locasele se vor prelucra prin calibrare; se
va respecta cota 16,5± 0,05 mm intre ax. Evident se va aleza corespunzator si
carcasa.
-uzura suprafetelor laterale in zona de contact se reconditioneaza prin rectificarea ambelor suprafete respectand cota de minim 8,50 mm si folosind a doua saiba corespunzatoare cu grosimea 0,500-0,525 mm sau prin incarcarea cu sudura electrica urmta de rectificare la cota nominala.

Fig.4
Repararea furcii de debraere.(Fig.1.5)
Material: furca de debraere a ambreajului GFX 310 KZ se executa din otel de calitate OLC 60, care se supune unui tratament de calire, obtinandu-se o duritate de 58-63 HRC.
Conditii tehnice de reformare rupturi ale bratelor furcii; fisuri sau rupture ale corpului furcii;
Defecte furcile de debraere: uzura locasului sferic pentru articulatii; uzura locasului sferic cu fisa de comanda;.

Fig.5
-uzura capetelor de actionare a mansonului de cuplare se repara prin metalizarea cu pulbere urmata de rectificare la cota nominala.
Verificarea, asamblarea si reglarea ambreajului
Verificarea ambreajului.(Fig.1.6) Verificarile necesare se fac ori de cate ori se demonteaza complet ambreajulu sau numai in cazul in care se remediaza sau se inlocuieste o piesa defecta.
Fig.6
La ambreaj se verifica in special urmatoarele: modul de montare a garniturilor de frecare pe discul condus, bataie frontala a discului condus la o anumita raza si rigiditatea arcurilor de presiune.

Fig.7
Asamblarea ambreajului. (Fig.1.7)Se asambleaza separat parghiile de debraere cu furcile, dupa care se monteaza pe placa de presiune. Apoi se trece la asamblarea ambreajului, asezand placa de presiune in dispozitivul care a servit la demontare. Urmeaza reglarea parghiilor de debraere; toate parghiile treuie sa intre in contact cu rulmentul de presiune in acelasi timp. Reglarea parghiilor de debraere se pot executa fie in dispozitivul de montare-demontare, fie in stare montata pe volantul motorului.
N.S.S.M., P.S.I
Protectia muncii constituie un ansamblu de activitati institutionale având ca scop asigurarea celor mai bune conditii în desfasurarea procesului de munca, apararea vietii, integritatii corporale si sanatatii salariatilor si a altor persoane participante la procesul de munca.
Normele de protectie a muncii stabilite prin prezenta lege reprezinta un sistem unitar de masuri si reguli aplicabile tuturor participantilor la procesul de munca.
Activitatea de protectie a muncii asigura aplicarea criteriilor ergonomice pentru îmbunatatirea conditiilor de munca si pentru reducerea efortului fizic, precum si masuri adecvate pentru munca femeilor si a tinerilor.
Preveerile prezentei legi se aplica tuturor persoanelor juridice si fizice la care activitatea se desfasoara cu personal angajat pe baza de contract individual de munca sau în alte conditii prevazute de lege.
În sensul prezentei legi, prin persoane juridice si fizice se întelege: agentii economici din sectorul public, privat si cooperatist, inclusiv cu capital strain, care desfasoara activitati pe teritoriul României; autoritatile si institutiile publice, precum si agentii economici români care efectueaza lucrari cu personal român pe teritoriul altor tari în baza unor conventii internationale sau contractebilaterale; asociatiile, fundatiile si organizatiile non-profit, respectiv membrii asociatiilor familiale constituite cu respectarea prevederilor legale, persoanele fizice autorizate sa desfasoare activitati independente si persoanele fizice care angajeaza personal prin încheierea unui contract individual de munca sau prin încheirea unei conventii civile de prestari de servicii, potrivit legii.
Normele de protectie a muncii se aplica salariatiilor , membrilor cooperatori, persoanelor angajate cu conventii civile, cu exceptia celor care au drept obiect activitati casnice, precum si uceniciile, elevilor si studentilor în perioada efectuarii practicii profesionale.
Ministerul Muncii si Protectiei Sociale si Ministrul Sanatatii prin organele lor de specialitate centrale si teritoriale, organizeaza, coordoneaza si cotroleaza activitatea de protectie a muncii.
Ministrul Apararii Nationale, Ministrul de Interne si Ministrul Justitiei - Directia generala a penitenciarelor, Ministrul finantelor - Garda financiara precum si serviciul Romîn de Informatii, Serviciul de Informatii externe, Serviciul de telecomunicatii speciale si Serviciul de protectie si paza organizeaza, coordoneaza si controleaza activitatea de protectie a muncii din unitatile proprii, prin organele acestor ministere si servicii, pe baza prevederilor prezentei legi.
Cercetarea, si înregistrarea si evidenta accidentelor de munca si a bolilor profesionale, precum si autorizarea, din punct de vedere al protectiei muncii, a unitatilor din subordinea ministerelor si serviciilor mentionate mai sus se efectueaza de catre organele proprii.
Ministerul Muncii si Protectiei sociale emite norme generale, normative si alte reglementari de interes national privind securitatea muncii si alte domenii ale protectiei muncii, potrivit legii, pentru toate unitatile, coordoneaza programul de elaborare a normelor specifice pe activitati si avizeaza normele, standardele si orice alte reglementari, initiate de alte organe, care contin prevederi sau au efect în acest domeniu, în scopul prevenirii accidentelor de munca si a bolilor preofesionale.
Normele generale de protectia muncii cuprind regulii si masuri aplicabile în întreaga economie nationala.
Domeniile pentru care se elaboreaza normele generale de protectie a muncii sunt cuprinse în anexa nr. 1 la prezenta lege.
Comisia nationala pentru Controlul Activitatilor Nucleare elaboreaza norme specifice activitatilor nucleare si exercita controlul cu privire la respectarea acestora.
Activitatile din economia nationala pentru care se elaboreaza norme specifice de securitate a muncii sunt cuprinse în anexa nr. 2 la prezenta lege.
Persoanele juridice si fizice sunt obligate sa elaboreze instructiuni proprii de aplicare a normelor de protectie a muncii, în functie de particularitatile proceselor de munca.
Ministrul sanatatii emite norme obligatorii privind igiena muncii si avizeaza standarde si acte normative, elaborate de alte organe, care privesc sanatatea salariatilor la locul de munca.
Domeniile pentru care se elaboreaza normele de igiena a muncii sunt curinse în anexa nr. 1 la prezenta lege.
Contractele colective de munca ce se încheie la nivelul unitatilor, grupurilor de unitati, ramurilor de activitati, precum si la nivel national vor cuprinde, obligatoriu, clauze referitoare la protectia muncii, în conformitate cu prevederile prezentei legi, a caror aplicare sa asigure prevenirea accidentelor de munca si bolilor profesionale.
În contractele individuale de munca, în conventiile civile, cu exceptia celor care au drept obiect activitati casnice, precum si în contractele de scolarizare vor fi stipulate clauze privind protectia muncii, stabilindu-se si raspunderea partilor.
Conventiile internationale si contractele bilatetrale încheiate de persoane juridice române cu parteneri staini în vederea efectuarii de lucrari cu personal român pe teritoriul altor tari, vor cuprinde clauze privind protectia muncii.
În fuinctie de natura, complexitatea si riscurile specifice activitatii desfasurate, precum si de numarul salariatilor, persoanele juridice vor stabili personalul cu atributii în domeniul protectiei muncii sau dupa caz, vor organiza compartimente de protectia muncii.
Desfasurarea activitatilor de productie sau a prestatiilor de servicii este conditionata de obtinerea autorizatiei de functionare din punct de vedere al protectiei muncii, emisa de catre inspectoratele teritoriale de munca, cu exceptia activitatilor desfasurate de unitatile din subordinea organelor si a serviciilor prevazute la art.4.
Persoanele juridice si persoanele fizice au obligatia sa confirme anual la Inspectoratul Teritorial de Munca faptul ca se pastreaza conditiile initiale pentru care s-a eliberat autorizatia de functionare din punct de vedere al protectiei muncii.
Cheltuielile aferente realizari masurilor de protectia muncii vor fi suportate de la capitolul alte cheltuieli de exploatare ale persoanelor juridice si persoanelor fizice precum si din sumele prevazute cu aceasta destinatie în bugetele institutiilor publice sau, dupa caz, din fondurile de investitii.
Activitatile de interes national în domeniul protectiei muncii si surselor de acoperire a cheltuielilor necesare în vederea realizarii acestora se aproba de catre guvern, la propunerea Ministrului Muncii si Protectiei Sociale.
Activitatile de cercetare stiintifica în domeniul protectiei muncii, de interes national, se finanteaza din fondurile prevazute pentru acestea, potrivit legii.
Calculul Tehnico - Economic
|
Nr.crt. |
Denumirea produsu |
Operatie |
Pret cost [RON] |
Manopera pret /ora [RON] |
Timp manopera [ore] |
Manopera [RON] |
TVA 19% |
Pret total [RON] |
|
|
Disc de frictiune |
Inlocuire |
|
|
|
|
|
|
|
|
Parghii de debraere |
Inlocuire |
|
|
|
|
|
|
|
|
Arcuri elicoidale ambreiaj |
Inlocuire |
|
|
|
|
|
|
|
Total General Reparatie Ambreaj [RON] |
|
|||||||
Cap. III - Bibliografie
Gh. Fratila - Automobile, cunoastere întretinere si reparare,
Caietele de cursuri de la specialitate din timpul liceului
A. Baranescu - Motoare cu ardere interna
Manualul de
reparatii al autoturismelor
Normativ de protectia muncii
|