ALTE DOCUMENTE
|
||||||||||
REGULI PENTRU REPREZETAREA sI NOTAREA VEDERILOR sI SECŢIUNILOR ÎN DESENUL TEHNIC INDUSTRIAL
1. GENERALITĂŢI
Aceste reguli sunt cuprinse în standardul 105 - 87. Standardul cuprinde urmatoarele parti:
proiectia pe un plan a intersectiei dintre doua suprafete ale unei piese.
O muchie poate constitui o parte a conturului aparent al unei proiectii. Aceeasi muchie poate fi vizibila pe o vedere dar invizibila pe o alta vedere.
În fig. 1 m1 este o muchie deoarece reprezinta baza circulara comuna a trunchiului de con si a cilindrul tijei, iar m2 este intersectia dintre suprafetele plane care constituie fetele prismei capului surubului.
Muchiile pot fi muchii reale sau muchii fictive. Fig. 3
Muchia reala |
muchia rezultata prin prelucrare (aschiere, taiere). |
Muchia fictiva |
proiectia pe un plan a intersectiei imaginare a doua suprafete ale unei piese. |
Ruptura
reprezentarea ortogonala pe un plan a unui obiect cu o portiune îndepartata (eliminata) în scopul:
- reprezentarii unor detalii ascunse de portiunea respectiva;
- micsorarii spatiului necesar pentru reprezentare, fara a periclita claritatea desenului prin repre-zentarea piesei la o scara de micsorare.
În fig. 11 este
reprezentata o tija cu lungimea mare în raport cu dimen-siunea
transversala.Tija nu poate fi reprezentata la o scara de micsora-re
deoarece vederea din stânga si sectiunea A-A ar avea dimensiuni prea
mici. În aceasta situatie se re-prezinta piesa cu ajutorul
rupturii, eliminând partea cilindrica lipsita de detalii.
Portiunile eliminate (''rupte'') se delimiteaza prin linie continua
sub- Fig.
11
tire ondulata. Cota care indica dimensiunea pe directia dupa care a fost micsorat gabaritul piesei nu îsi modifica valoarea.
În fig. 9b s-a folosit o ruptura pentru a evita reprezentarea unei sectiuni orizontale.
|
Detaliu |
reprezentarea în proiectie ortogonala a unei mici parti a unei piese, la o scara de marire, cu sco-pul de a preciza forma si dimensiunile acelei portiuni. |
Fig se exemplifica reprezentarea si notarea unui detaliu.
3. REGULI GENERALE PENTRU REPREZENTAREA VEDERILOR, SECŢIUNILOR sI DETALIILOR
i) Reprezentarea liniilor de axa de simetrie si a axelor de revolutie
Aceste componente ale proiectiilor se traseaza cu linie segment punct subtire (tip C) si respecta urma-toarele reguli.
Liniile de axa depasesc conturul proiectiilor cu 2-3 mm.
Intersectia a doua astfel de linii se realizeaza la nivelul segmentelor.
Atunci când proiectia care le contine are dimensiunile (la scara reprezentarii) mai mici sau egale cu 10 mm, pentru trasarea axelor acesteia se foloseste linia continua subtire.
Dimensiunea recomandata a segmentului este 6 ..8 mm iar a distantei dintre segment si punct 2..3 mm.
În fig. 11, pentru vederea din stânga si
sectiu-nea A - A este aplicata regula referitoare la trasarea
liniilor de axa a proiectiilor cu linie continua.
ii) Rreprezentarea muchiilor fictive
Reprezentarea muchiilor fictive respecta urmatoarele reguli:
Muchiile fictive se reprezinta cu linie continua sub-tire (tip B) (fig. 4c, fig. 10a-c, fig. 12).
Muchiile fictive nu intersecteaza linii de contur sau muchii reale vizibile, întrerupându-se la 2-3 mm de acestea (fig. 4c).
Atunci când pe vederea unei piese trebuie repre-zentate doua muchii fictive paralele, dispuse la o foar- Fig. 12
te mica distanta între ele, se va reprezenta doar una dintre muchiile fictive si anume cea care corespunde celei mai mici grosimi a piesei.(fig. 10a-c, 12).
În figurile 10 si 12 muchiile fictive intersecteaza linii de ruptura si respectiv axa de simetrie si deci nu trebuie întrerupte. În figurile 10 aripile cornierului au câte o fata înclinata sub o panta de 5% astfel ca sunt gene-rate doua muchii fictive, dintre care este reprezentata doar cea corespunzatoare grosimii mai mici a aripii. În fig. 12 muchia fictiva corespunde intersectei prelungirilor imaginare ale suprafetei conice cu planele de nivel ale ba-zelor trunchiului de con. Evidentierea acestor muchii fictive este necesara pentru cotarea piesei.
iii) Reprezentarea elementelor aflate în fata planului de sectionare
Contururile formelor geometrice ale unei piese situate în fata planului de sectionare se pot reprezenta pe sectiunea respectiva folosind linie segment doua puncte subtire.

Fig. 13a Fig. 13b
Bosajul prismatic de pe suprafata cilindrica exterioara a piesei din fig. 13a nu s-ar putea reprezenta în mod obisnuit pe sectiunea A - A deoarece se afla pe partea piesei care se înlatura imaginar. Aplicând regula de mai sus, conturul sau poate fi reprezentat si astfel pe sectiune se pot înscrie cotele necesare.
Alte solutii de reprezentare pentru aceeasi piesa sunt prezentate în fig. 13c (folosind simetria piesei fata de planul de nivel care contine axa sa) si în fig. 13d (modificând pozitia piese prin rotire). În ambele variante pie-sa poate fi cotata în mod obisnuit.
Fig. 13c Fig. 13d

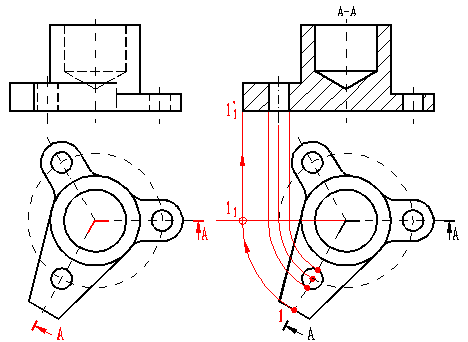
iv) Reprezentarea sectiunii frânte
Sectiunile frânte se
folosesc pentru a evidentia formele interioare ale piesei atuci când se
doreste evitarea secti-unilor înclinate. Pentru suportul din fig.
14a, oricare ar fi pozitia aleasa pentru reprezentare, sunt necesare
doua sectiuni din care una înclinata. Reprezentarea unei
sectiuni trânte respecta regulile de mai jos.
Suprafata de sectionare este formata din doua semi-plane care formeaza un unghi diferit de 90ș.
Contururile reale rezultate prin sectionarea piesei cu se-miplanul înclinat se rotesc pâ-na când ajung sa apartina pla-nului restului sectiunii. Tot ast-fel se rotesc si axele golurilor interioare.
Nu este considerata eroa-re de reprezentare aparenta lipsa de corespondenta între sectiunea astfel obtinuta si restul proiectiilor piesei.
În fig. 14b este expli-cata rotirea contururilor secti-unii (segmentul vertical 1) în pozitia notata prin 11 si proiec-tarea pe planul vertical a conturului rotit (1'1). Tot astfel se rotesc si generatoarele ci-lindrului vertical).
Constructiile grafice auxiliare Fig. 14a Fig. 14b
din fig. 14b nu trebuie sa apara în plansa de desen.
v) Reprezentarea sectiunii în trepte
Sectiunea în trepte se utilizeaza pentru a evidentia cu ajutorul unei singure sectiuni forme interioare ca-re nu pot fi strabatute de acelasi plan de sectionare. Se evita astfel reprezentarea mai multor sectiuni. Reprezentarea sectiunii în trepte respecta urmatoarele reguli.
Suprafata de sectionare este formata dintr-un numar impar de plane reciproc perpendiculare. Traseul de sectionare este reprezentat de urmele acestor plane. Punctele de frângere ale traseului (punctele de intersectie ale urmelor planelor reciproc perpendiculare) se evidentiaza prin segmente de linie continua groasa.
Pe sectiunea în trepte hasurile se decaleaza pentru a evidentia trecerea într-o alta regiune a suprafetei de sectionare.
Aplicarea acestor reguli este exemplificata în figurile 15a si b. Pentru a evidentia golurile interioare ale placii s-ar putea folosi urmatoarele solutii de repezentare:
a) Trei proiectii: vederea de sus, sectiunea S1-S1 si sectiunea S2-S2.
b) Trei proiectii: vederea de sus, sectiunea S1-S1 si proiectia combinata generata de traseul S3 - S3 (1/2 vede-re din stânga si 1/2 sectiune).
c) Trei proiectii: vederea de sus, sectiunea S1-S1 si sectiunea S4-S4.
d) Doua proiectii: vederea de sus si sectiunea în trepte A - A (fig. 15b).
Este evident ca cea mai eficienta reprezentare este cea care foloseste sectiunea în trepte. Decalarea hasurilor este evidentiata în fig. 15b.

Fig.
15a Fig.
15b
4. REGULI SPECIALE PENTRU REPREZENTAREA VEDERILOR, SECŢIUNILOR sI DETALIILOR

i) Reprezentarea obiectelor simetrice
Obiectele simetrice sunt cele caracterizate de simetria formelor geometrice exterioare si interioare fata de unul sau mai multe plane. Proiectiile unui astfel de obiect se pot repre-zenta numai pe jumatate sau pe sfert, în sco-pul de a economisi spatiul în cadrul formatu-lui. În aceste situatii se vor respecta urma-toarele reguli.
Pe axa de simetrie a proiectiei reprezen-tata partial se înscriu simbolurile de simetrie (doua segmente de linie continua subtire, pa-ralele). Fig. 16 Fig. 17
Se recomanda reprezentarea vederilor simetrice astfel: pe planul orizontal portiunea situata sub axa de simetrie (fig. 16), pe planul vertical si lateral portiunea situata în stânga axei verticale de simetrie ( fig. 17, 18).
Folosind simetria în raport cu un plan, se pot grupa vederi obtinute dupa directii opuse.
În fig. 16 capacul reprezentat are patru plane de simetrie dar numai vederea de sus se poate repre-zenta în proportie de 50% deoarece sectiunea frânta A- A nu rezulta simetrica.
În fig. 17 inelul are sase plane de simetrie dintre
care sunt folosite doar doua.
Fig. 18
În fig.18, racordul reprezentat are doar un plan de simetrie, folosit pentru a reprezenta vederea de sus în proportie de 50% si pentru a folosi pe planul lateral o proiectie combinata 1/2 vedere din stânga si 1/2 vedere din dreapta.
ii) Reprezentarea elementelor repetitive
Este permis sa se evite reprezentarea unor detalii de forma care se repeta în mod regulat, preci-zând pe vedere numai primul si ultimul element. Pozitia celorlalte detalii este indicata cu ajutorul liniilor lor de axa si prin cotare.
În fig. 19 pozitiile fantelor de dia-metru 5 mm sunt indicate doar prin centrele lor.

Fig. 19
iii) Reprezentarea suprafetelor plane
Suprafetele plane rezultate prin prelucrare pe suprafete cilindro-conice sau de rotatie se evidentiaza pe re-prezentarea în vedere trasând diagonalele conturului respectiv cu linie continua subtire.
Fetele suprafetelor poliedrale se pot evidentia prin trasarea diagonalelor lor cu linie continua subtire daca astfel se usureaza întelegerea reprezentarii.
În fig. 20 extremitatea tesita a unei tije este
evidentia-ta pe vederea din fata cu ajuto-rul diagonalelor
iar pentru cota-re este folosita o vedere locala (vederea din
dreapta, dispusa dupa metoda A).
În fig. 21 fetele prismei regulate care reprezinta extre-mitatea unui ax sunt evidenti-ate cu ajutorul diagonalelor iar cota caracteristica se înscrie pe Fig. 20 Fig. 21
o vedere locala.
iv) Reprezentarea simplificata a curbelor de intersectie a suprafetelor
Muchia reala rezultata prin prelucrare, repre-zentând curba de intersectie a doua suprafete ci-lindrice, se poate reprezenta simplificat prin seg-mente care trec prin punctele extreme ale curbei.
În fig. 22 este reprezentat schematic un racord T. Pe proiectia pe planul vertical curba de intersectie a suprafetelor exterioare este eviden-tiata printr-o muchie fictiva, în timp ce curba de intersectie a suprafetelor interioare este reprezen-tata simplificat prin segmentul 1' Fig. 22
v) Reprezentarea nervurilor sectionate longitudinal
Nervurile parcurse longitudinal de un plan de sectionare nu se hasureaza pe sectiunea respectiva (adica se reprezinta în vedere).
În figurile 16 si 18 este folosita aceasta regula. Scopul ei este de a usura diferentierea nervurii de restul piesei.

vi) Reprezentarea detaliilor
Reprezentarea detaliilor la o scara de marire are drept scop asigurarea spatiului necesar cota-rii. Regulile care se aplica sunt cele de mai jos si sunt exemplificate în fig. 23 - reprezentarea canalului degajarii unui filet interior
Fig. 23
Portiunea care se va reprezenta la o scara de marire se delimiteaza printr-un cadru (patrat, dreptunghi, cerc) trasat cu linie continua subtire.
Detaliul se identifica printr-o litera majuscula, plasata în interiorul cadrului.
Detaliul se reprezinta în vedere sau sectiune dupa cum este extras de pe o vedere sau de pe o sectiune.
Detaliul este marginit de contururile necesare sau de linie de ruptura.
Pe reprezentarea marita la scara se înscriu doar acele cote care nu se pot plasa pe proiectia sursa.
Detaliul se noteaza prin litera alocata însotita de scara de marire folosita la reprezentarea lui.
5. NOTAREA VEDERILOR, SECŢIUNILOR sI DETALIILOR
Deoarece proiectiile folosite pentru reprezentarea unei piese sau a unui ansamblu pot fi numeroase si pot fi plasate pe mai multe formate, sunt necesare reguli precise pentru notarea vederlor, sectiunilor si detaliilor.
Vederile obtinute dupa directiile normale de proiectie si plasate conform recomandarilor standardului 614 - Dispunerea normala a proiectiilor, nu trebuie notate.
Vederile obtinute dupa directiile normale de proiectie dar plasate în alte pozitii decât cele standardizate se noteaza printr-o litera majuscula. Directia dupa care a fost obtinuta vederea se indica prin aceeasi litera.
Aceasta regula este aplicata în fig. 18, unde vederea din dreapta (directia B) este plasata în pozitia des-tinata vederii din stânga.
Sectiunile se noteaza folosind literele majuscule prin care s-au indicat traseele de sectionare respective.
Exemple în acest sens sunt figurile 6c,d;13, 15 etc. Pe fiecare dintre desene se repeta A - A deoarece pentru fiecare dintre aceste exemple sectiunea respectiva este prima sectiune.
În cazul proiectiilor combinate ale pieselor simetrice este permis sa nu se noteze traseul de sectionare si proiectia respectiva.
În fig. 22 este aplicata aceasta regula, pentru proiectiile combinate 1/2 vedere si 1/2 sectiune de pe planele vertical si lateral.
Detaliile se noteaza prin litera alocata însotita de scara la care s-a facut reprezentarea lor.
O litera poate fi folosita doar o singura data pentru denumirea unei vederi, a unei sectiuni sau a unui detaliu. Literele se folosesc în ordinea alfabetica si alocarea lor se face respectând ordinea elaborarii proiectiilor.
Numele proiectiilor se înscriu cu litere majuscule, cu înaltimea nominala de scriere de minimum 5 mm.
Bibliografie
1. * * * STAS 105 - 87 Reguli de reprezentare si notare a vederilor si sectiunilor în desenul industrial
2. Vasilescu E. si colectiv - Desen tehnic industrial si elementede proiectare
3. O alta carte recenta
4. Precupetu
Adauga aplicatii de identificare a erorilor
Adauga hasurare (cauta lucrarea de laborator)
Completari pentru grafica asistata
1. Vezi standardele Iso - drawing
2. Fa câte un model 3D al fiecarei piese.
|