Reductore cu roti dintate
9.12. 1. Generalitati
Reductoarele cu roti dintate sunt mecanisme independente formate din roti dintate cu angrenare permanenta, montate pe arbori si inchise intr-o carcasa etansa. Ele servesc la:
micsorarea turatiei;
cresterea momentului de torsiune transmis ;
modificarea sensului de rotatie sau a planului de misacare;
insumeaza fluxul de putere de la mai multe motoare catre o masina de lucru;
distribuie fluxul de putere de la un motoare catre mai mul 515v2113f te masini de lucru
In cazul reductoarele de turatie, rotile dintate sunt montate fix pe arbori, rotile angreneaza permanent si realizeaza un raport de transmitere total fix, definit ca raportul dintre turatia la intrare si turatia la iesirea reductorului, spre deosebire de cutiile de viteze la care unele roti sunt mobile pe arbori (roti baladoare), angreneaza intermitent si realizeaza un raport de transmitere total in trepte. Ele se deosebesc si de variatoarele de turatie cu roti dintate (utilizate mai rar) la care raportul de transmitere total poate fi variat continuu.
Reductoarele de turatie cu roti dintate se utilizeaza in toate domeniile constructiilor de masini.
Exista o mare varietate constructiva de reductoare de turatie cu rotile dintate. Ele se clasifica in functie de urmatoarele criterii:
dupa raportul de transmitere
reductoare o treapta de reducere a turatiei;
reductoare 2, sau mai multe trepte de treducere a turatiei.
dupa pozitia relativa a arborelui de intrare (motor) si arborele de iesire
reductoare coaxiale, la care arborele de intrare este coaxial cu cel de isire;
reductoare obisnuite (paralele), la care arborele de intrare si de iesire sunt paralele.
dupa pozitia arborilor
reductoare cu axe orizontale;
reductoare cu axe verticale;
reductoare cu axe inclinate.
dupa tipul amgrenajelor
reductoare cilindrice;
reductoare conice;
reductoare hipoide;
reductoare melcate;
reductoare combinate (cilindro-conice, cilindro-melcate etc);
reductoare planetere.
dupa pozitia axelor
reductoare cu axe fixe;
reductoare cu axe mobile.
raport de transmitere constant;
asigura o mare gama de puteri instalare;
gabarit redus;
randament mare (cu exceptia reductoarelor melcate);
intretinere simpla si ieftina.
Printre dezavantaje se enumera:
pret de cost ridicat;
necesitatea unei uzinari si montaj de precizie;
functionarea lor este insotita se sgomot si vibratii.
Parametrii principali ai unui reductor cu roti dintate sunt:
puterea;
raportul de transmitere;
turatia arborelui de intrare;
distanta dintre axe.
Datorita multiplelor utilizari in industria constructiilor de masini si aparate, parametrii reductoarelor de turatie cu rotile dintate sunt standardizate:
rapoartele de transmitere, STAS 6012-82;
distanta dintre axe, STAS 6055-82;
modulii, STAS 822-82;
parametrii principali ai reductoarelor cilindrice, STAS 6850-77;
parametrii principali ai reductoarelor melcate, STAS 7026-77.
9.12. 2. Tipuri de reductoare
Alegerea ripului de reductor intr-o scheme cinematica se face in functie de:
raportul de transmitere necesar;
gabaritul disponibil;
pozitia relativa a axelor motorului si a organului (masinii) de lucru;
randamentul global al schemei cinematice.
In functie de aceste cerinte se pot utililiza urmatoarele tipuri de reductoare cu roti dintate: cilindrice, conice, conico-cilindrice, melcate, cilindro-melcate, planetare.
Reductoare cu roti dintate cilindrice. Acestea sunt cele mai utilizate tipuri de reductoare cu roti dintate deoarece:
se produc intr-o gama larga de puteri: de la puteri instalate foarte mici (de ordinul Watilor) pana la 100 000kW (900 kW, pentru reductoare cu o teapta).
rapoarte de transmitere totale, iT max = 200 (iT max = 6,3 pentru reductoare cu o treapta; iT = 6,3 . 60 pentru reductoare cu 2 treapte, iT = 40 . 200 pentru reductoare cu 3 treapte;
viteze periferice, vmax = 200 m/s;
posibilitatea tipizarii si executiei tipizate sau standardizate.
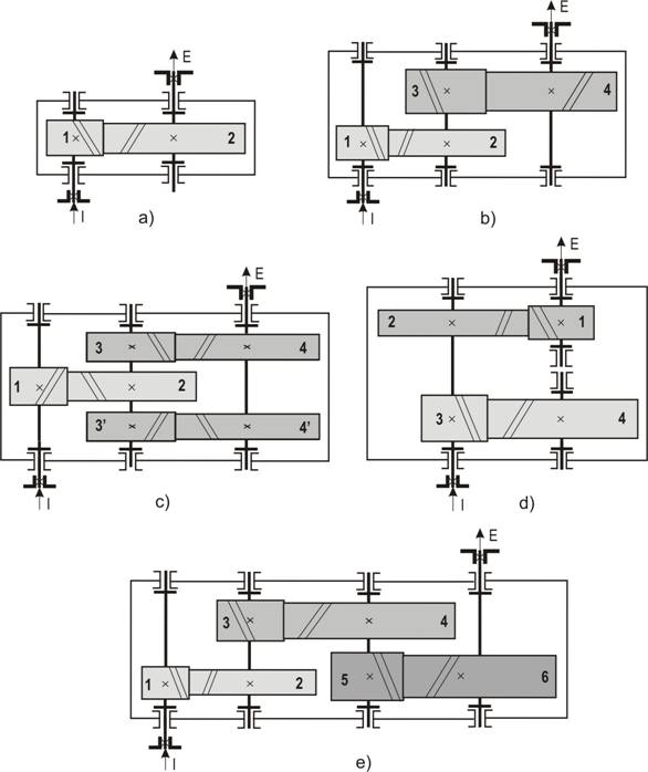
Se construiesc in variante cu 1, 2 si 3 trepte de reducere, fig. 9.49, avand dantura dreapta sau inclinata. Notatiile din figura sunt:
intrarea in reductor, cu litera I;
iesirea din reductor, cu litera E;
cifrele 1, 2, 3, 4 . rotile ce compun angrenajele treptelor de reducere.
Din punct de vedere al inclinarii danturii, la alegerea tipului de reductor cu roti dintate cilindrice se tine seama de urmatoarele recomandari:
reductoarele cu roti dintate cilindrice drepte, pentru puteri instalate mici si mijlocii, viteze periferice mici si mijlocii si la rotile baladoare de la cutiile de viteze;
reductoarele cu roti dintate cilindrice inclinate, pentru puteri instalate mici si mijlocii, viteze periferice mari, angrenaje silentioase;

Fig. 9. 49. Scheme cinematice pentru reductoarele cu roti dintate cilindrice
reductoarele cu roti dintate cilindrice cu dantura in V, pentru puteri instalate mari viteze periferice mici.
Reductoare cu roti dintate conice. Aceste reductoare schimba directia miscarii la 900, fiind utilizate atat in varianta constructiva simpla (un singur angrenaj conic concurent ortogonal) cat si in varianta combinata (impreuna cu 1 sau 2 angrenaje cilindrice paralele). In privinta utilizarii acestor tipuri de reductoare se recomanda ca:
reductoarele conice simple, cu iT max = 6, pentru puteri mici, randamente hmax
reductoarele conico-cilindrice cu 2 trepte (prima treapta avand angrenaj conic), cu iT = 4 . 40 si randamente hmax
reductoarele conico-cilindrice cu 3 trepte (prima treapta cu angrenaj conic celelalte 2 trepte cu angrenaje cilindrice), cu iT = 20 . 180 si randamente hmax

Fig. 9. 50. Scheme cinematice pentru reductoarele cu roti dintate conice si conico-cilindrice
In privinta utilizarii acestor tipuri de angrenaje mai trebuiesc amintite si domeniile de viteza recomandate pentru angrenajele conice, functie de tipul danturii:
pentru danturi conice drepte, vmax = 3 m/s;
pentru danturi conice inclinate, vmax = 12 m/s;
pentru danturi conice curbe, vmax = 40 m/s.
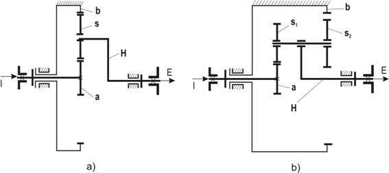
Reductoare cu roti dintate cilindrice planetare si diferentiale. Reductoarele planetare au un singur grad de mobilitate iar reductoarele diferentiale, 2 grade de mobilitate. In fig. 9.51 s-au prezentat 2 tipuri de reductoare planetare, cu scheme cinematice simbolizate cu P1 (reductor planetar cu o treapta si un rand de sateliti) si P2 (reductor planetar cu o treapta si 2 randuri de sateliti). Semnificatiile notatiilor folosite in fig. 9.51 sunt:
roata centrala, a;
satelit (sateliti), s, sau s1, s2;
coroana, b;
bratul port satelit, H.
Raportul de transmitere pentru schema din fig. 5.1 (reductor planetar) este:
|
|
|

Fig. 9. 51. Scheme cinematice pentru reductoarele planetare (diferentiale)
Principalele avantaje al reductoatelor planetare (diferentiale) fata de celelalte tipuri de reductoare:
constructie foarte compacta, greutate de 2.6 ori mai mica (la aceiasi putere transmisa si acelasi raport de transmitere); aceasta se datoreaza faptului ca momentul de rasucire se repartizeaza pe 2 sau mai multi sateliti;
rapoarte de transmitere de 2...3ori mai mare.
Principalele dezavantaje sunt legate pretul de cost mare de fabricare si cerintele de montaj foarte exigente.
Prin legarea acestora in serie se pot obtine scheme cinematice de tip 2P1, 2P2 etc.
Reductoarele diferentiale sunt utilizate in schemele cinematice ale masinilor sau aparatelor pentru insumarea sau divizarea puterii.
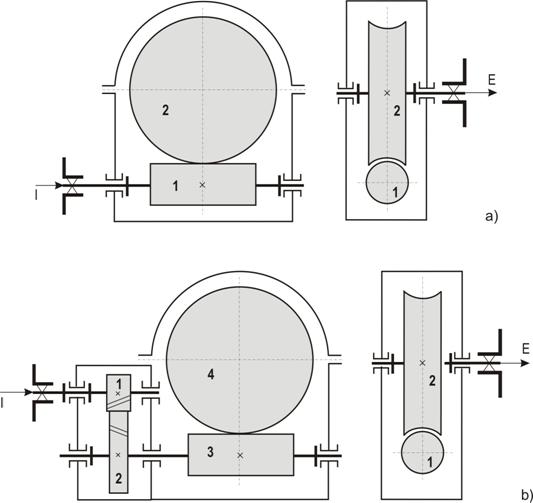
Reductoare melcate. Reductoare melcate cuprind un angrenaj melc-roata melcata care au axele de rotatie asezate incrucisat in spatiu (unghiul de incrucisare este de 900), normala lor comuna este distanta dintre axe.
Aceste reductoare sunt angrenaje silentiose datorita alunecarii relative dintre flancurile dintilor melcului si rotii melcate. Cele mai utilizate sunt reductoarele melcate cu melc cilindric, fig. 9.52, cele cu melc globoidal fiind mai putin folosite datorita cerintelor mai severe de executie si montaj. La utilizarea reductoarelor melcate cu melc cilindric se tine seama de urmatoarele caracteristici ale acestora:

Fig. 9. 52. Scheme cinematice pentru reductoarele melcate ci cilindro-melcate
reductoarele melcate simple cu iT max = 80 (pentru la transmisiile de forta) si iT max = 1000 (pentru la transmisiile cinematice) si randamente mici; melcul poate fi pozitionat sus sau jos;
pentru crestera rapoartului de transmitere, se realizeaza reductoare combicate compuse dintr-un angrenaj cilindric la intrtare si un angrenaj melcat, constructie care are fata de reductorul melcat simplu, la acelasi raport de transmitere total, un randament mai mare;
la puteri transmise si rapoarte de transmitere mari, datorita frecarilor mari dintre flancurile dintilor melcului si rotii melcate, se incalzesc puternic si necesita masuri speciale de racire;
sunt transmisii cu autofranare (elementul conducator este melcul).
9.12.3. Rapoarte de transmitere
Rapoartele de transmitere partiale (ale teptelor din angrenare), i12, i34, . si totale, iT sunt standardizate conform STAS 6012-82. In functie de raportul de transmitere total cerut la intocmirea schemei cinematice a mecanismului proiectat, se alege numarul de trepte. In legatura cu alegerea numarului de trepte, pentru reductoarele cu roti dintate cilindrice si conico-cilindrice se fac urmatoarele recomandari:
pentru reductoare cu o treapta, cilindrica sau conica i12 = iT = 6 (10), valorile mici pentru angrenajele conice. Exceptie de la aceasta regula la mecanismul de rotire al macaralelor sau al cuptoarelor de clinche din industria cimentului;
pentru reductoare cu mai multe trepte, criteriile de repartizare a raportului de transmitere total, iT pe treptele reductorului sunt:
rezistenta la contact, sau la incovoiere egale pe treptele reductorului;
volum minim total al rotilor reductorului;
egalizarea ungerii tuturor treptelor prin cufundarea egala a rotilor mari in baia de ulei.
Astfel, in cazul reductoarelor cu roti dintate cilindrice cu 2 trepte:
pentru reductoare obisnuite, se adopta:
; ![]()
pentru reductoare coaxiale, se adopta:
; ![]()
pentru reductoare conico-cilindrice, se adopta:
![]()
Pentru reductoarele cu roti dintate cilindrice obisnuite cu 3 trepte :
;
; ![]()
9.12.4 Bilantul puterilor intr-un reductor de turatie
Pentru a face bilantul puterilor intr-o instalatie ce contine si un reductor de turatie cu roti dintate, trebuiesc cunoscute principalele pierderi de putere din reductor. Acestea se exprima de cele mai multe ori prin randament
1. Pierderi de putere prin angrenaje. Randamentul angrenajelor. Daca se tine seama de elementele constructive si functionale ale angrenajelor, pierderile de putere prin angrenaje sunt, in unele cazuri, au o pondere foarte importanta in bilantul total energetic al reductorului cu roti dintate. De aceea in continuare aceste pierderi se vor studia separat pentru fiecare categorie de angrenaje.
La calculul randamentului angrenajele paralele cilindrice se tine seama de frecarile de alunecare si rostogolire dintre flancurile dintilor in procesul de angrenare.
Angrenajele paralele cilindrice cu axe fixe. Pentru angrenajele paralele cilindrice cu axe fixe relatia de calcul a randamentului este:
|
unde: m - coeficientul de frecare la alunecarea flancurilor dintilor; este functie de viteza de alunecare relativa si de natura lubrifiantului; m e - gradul de acoperire frontal; t - coeficient de calcul; t = 2.3, pentru roti dintate cu dantura dreapta si inclinata rapide; t = 2.3, pentru roti dintate cu dantura dreapta si inclinata in V lente; b - unghiul de inclinare de divizare al dintilor; ), pentru angrenaje interioare. În cadrul reductoarelor cu roti dintate cilindrice cilindrice sau conice valorile randamentului randamentul angrenajelor au o pondere relativ egală cu randamentele rezumărilor (0,98.0,99). Angrenajele paralele cilindrice planetare. Randamentul acestora variaza in limite foarte largi si depind de solutia constructiva aleasa; de aceea la proiectare trebuie sa se faca un calcul de verificare al randamentului dupa definitivarea schemei cinematice. Pentru cazul cel mai simplu, al unui reductor planetar P1, fig. 9.51,a, randamentul acestuia, este:
unde: Angrenajele melcate. Prin specificul functionarii lor, la angrenajele melc-roata melcata pierderile de putere se datoreaza in special alunecarii relative dintre flancurile dintilor in contact pe lungimea lor, si au o pondere insemnata in bilantul general energetic al reductorului. Pentru a putea calcula randamentul unei transmisii melc-roata melcata se asimileaza acesta cu o cupla de frecare de tipul surub-piulita. In cazul cel mai frecvent, cand melcul este elementul conducator (transmisia melc-roata melcata functioneaza cu autofranare), utilizand notatiile din fig. 9.53. se obtine:
unde: m - coeficientul de frecare de alunecare dintre flancuri (coeficientul de frecare echivalent); gw - ungiul elicei de rostogolire a melcului; r - unghiul de frecare; Ft - forta de impingere a sarcinii din schema de calcul echivalenta; F - forta axiala din angrenare; N - reactiunea normala.
Fig. 9. 53 Schema de calcul a randamentului unui angrenaj melc-roata melcate
|
|
Randamentul cuplei echivalente surub-piulita se calculeaza tinand seama numai de pierderile prin frecare din cupla de frecare si rezulta facand raportul dintre lucrul mecanic util (ridicarea sarcinii, F pe inaltimea unui pas) si lucrul mecanic consumat prin frecarea dintre surub si piulita pe lungimea unei rotatii complete:
|
|
|
unde: g - ungiul elicei de divizare a melcului.
Valorile coeficientului de frecare si implicit ale unghiului de frecare depind de:
materialul rotii melcate;
duritea flancurilor dintilor melcului;
viteza relativa de alunecare dintre flancurilor dintilor melcului si rotii melcate.
Reprezentarea grafica a expresiei randamentului este data in fig. 9.53 in functie de unghiul g pentru diferite valori ale unghiului de frecare., ce corespunde diferitelor conditii de lucru pentru roata melcata.
![]()
Pentru a vedea care este
influienta unghiului de inclinare a elicei,
g asupra randamentului,
(prin optimizarea relatiei (9.157)), se
anuleaza derivata
(g

Fig. 9. 54 Variatia randamentului unui angrenaj melc-roata melcate in functie de unghiul
elicei de divizare a melcului, g, pentru diferite valori ale unghiului de frecare, r

![]()
![]()
![]()
Rezulta radacina derivatei:
,
pentru care valoarea maxima a randamemtului este:
|
|
|
m j valoarea maxima a
randamentului angrenajului melcat pentru varianta constructiva cu autofranare este:
= 0,82.
Pentru
alte valori: m j
= 0,92;
m j
= 0,99.
prin neglijarea termenului
.
m si implici ale lui j, in domeniul cu autofranare randamentul are valori destul de mici; pentru cresterea randamentului trebuiesc imbunatatite conditiile de angrenare (scaderea valorii lui j
La limita de autofranare, g r, iar valoarea randamentului este:

ceea ce inseamna ca, daca se impune ca un angrenaj melcat trebuie sa functionaze cu autofranare, el va un randament scazut.
Pentru a se realiza un randament mai ridicat se renunta la conditia de autofranare, se mareste valoarea unghiului g, concomitent cu micsorarea coeficientui de frecare si utilizarea unor melci cu mai multe inceputuri; se ajunge la valori pentru randamentul angrenajelor melcate de: 0,7.0,75, pentru melc cu 1 inceput, 0,75.0,82, pentru melc cu inceputuri, 0,82.0,92, pentru melc cu 3 inceputuri.
Randamentul aferent sistemelor de ungere in cazul rotilor dintate cufundate in baia de ulei este:
|
|
|
unde: Pn - puterea transmisa de reductor, [kW];
n - vascozitatea cinematica a uleiului de ungere la temperatura de regim, [m2/s].
la viteze periferice vc < 4 m/s melcul sa fie pozitionat sub roata melcata;
la viteze periferice vc > 4 m/s melcul sa fie pozitionat deasupra roatii melcate.
![]()
, [J/s]
unde: (1- h) - pierderile de putere prin racire.
![]()
![]()
unde: l - coeficientul de transmitere a caldurii, [J/m2 s grd];

Fig. 9. 55 Stabilizarea temperaturii la valoarea de regim
![]()
unde: ta - temperatura admisibila a uleiului.
![]()
, [J/s]
unde: ti - duratele conectarilor;
t - durata totala de lucru a reductorului.
![]()
prin recircularea uleiului de ungere printr-un schimbator de caldura exterior racit cu ventilator sau alt mediu de racire;
prin racirea uleiului de ungere chiar in carcasa reductorului utilizand pentru aceasta un agent de racire recirculat printr-un schimbator de caldura;
prin racirea uleiului de ungere;
in carcasa reductorului cu ventilatie proprie, utilizand pentru aceasta racirea cu ajutorul unui ventilator de aer special construit in afara reductorului.
In cazul racirii uleiului de ungere cu ventilatie proprie, fig. 9.56, cantitatea de caldura (fluxul de caldura) evacuata in mediul exterior in unitatea de timp, este:
![]()

Fig. 9. 56 Racirii uleiului de ungere cu ventilatie proprie
unde: l - coeficientul de transmitere a caldurii pe suprafata carcasei racita natural;
l - coeficientul de transmitere a caldurii pe suprafata carcasei racita cu ventilator;
- suprafata de racire a carcasei reductorului de turatie racita cu ventilator.

unde:
- puterea pierduta cu
antrenarea ventilatorului, determinata experimental si calculata ce relatia:
, [kW]
unde: vv
- viteza periferica medie a rotorului ventilatorului, [m/s]; 
9.12.5 Elementele constructive ale reductoarelor de turatie cu roti dintate
carcasa inferioara 9 care se monteaza la constructia metalica a mecanismului pe care il deserveste si in care se gaseste si baia de ulei;
carcasa superioara 15 care se prinde de carcasa inferioara pe la planul de separatie cu ajutorul suruburilor 13 si 14;
angrenajul de reducere format din arborele-pinion 1 si roata dintata 11 montata pe arborele 5;
semicuplajul de intrare 2;
semicuplajul de iesire 16;
inelele de ridicare 12;
joja (indicatorul de nivel) 11 pentru controlul nivelului de ulei din baie;
dopul filetat 10 pentru golirea uleiului din baie;
capacul de vizitare pentru inspectia angrenajelor 16, cu garnitura de etansare 18, prins de carcasa superioara cu suruburile 19 si pe care se insurubeaza dopul de aerisire.
Alte detalii privind elementele celelalte elemente constructive si montaj ale reductoarelor cu roti dintate cilindrice in sectiune se vor da in continuare pentru 3 dintre cele mai utilizate reductoare: reductorul cu o treapta, fig. 9.58, reductorul cu 2 trepte obisnuit, fig. 9.59 si reductorul cu 2 trepte coaxial, fig. 9.60.
Reductorul cu o treapta si dantura dreapta. In sectiune reductorul cu o treapta are urmatoarea componenta:
arborele pinion 1, care este sprijinit pe rulmentii pe rulmentii 4, are montat pe el in consola roata de curea 2 prin intermediul penei 3; pentru fixarea axiala a rotii se utilizeaza o placa fronata prinsa cu suruburi, iar distantarea rotii fata de rulment se face cu o bucsa de distantare. Sistemul de etansare folosit este cu contact (inele de pasla);
arborele 5, care reazema pe rulmentii 8 are montata pe el la interior roata dintata 11 prin pana 7 si in consola semicuplajul 16; pentru distantarea axiala se utilizeaza bucsele distantiere 17 si 18. Etansarea se efectueaza cu inele de pasla 15 montate in capacul strapuns 14, iar pentru reglarea jocului axial in rulmenti se folosesc inele metalice se diferite grosimi 13;
suruburille 13 utilizate pentru fixarea celor 2 carcase;
stifturile conice 12 pentru centrarea celor 2 carcase.
Reductorul cu 2 trepte obisnuit. Acest reductor are prima treapta cu dantura dreapta iar treapta a doua cu dantura inclinata. In sectiune reductorul cu 2 trepte are urmatoarea componenta:
arborele pinion 1 (arbore de intrare), care este sprijinit pe rulmentii pe rulmentii 2, are montat pe el in consola semicuplajul 10 prin intermediul penei 9; pentru distantarea rotii fata de rulment se face cu o bucsa de distantare 11. Sistemul de etansare folosit este contact (inele de pasla, 8 montate in capacele strapunse 9);
arborele 12 (arbore intermediar), care reazema pe rulmentii 13 are montata pe el roata dintata 16 prin pana 15; pentru distantarea axiala a rotii se utilizeaza bucsa distantiera 14. Pentru etansare se utilizeaza capacele montate cu suruburi de cele 2 carcase, iar pentru reglarea jocului axial in rulmenti se utilizeaza inele metalice se diferite grosimi prinse intre capace si carcase;
DE PUS 3 DESENE PE LAT CU REDUCTOARE
arborele 19 (arbore de iesire), care reazema pe rulmentii 18 are montata pe el la interior roata dintata 21 prin pana 20 si in consola semicuplajul 26; pentru distantarea axiala se utilizeaza bucsele distantiere 22 si 25. Pentru etansare se utilizeaza inele de pasla 24 montate in capacul strapuns de la iesirea reductorului, iar pentru reglarea jocului axial in rulmenti se utilizeaza inele metalice se diferite grosimi 23;
suruburille 5 utilizate pentru fixarea celor 2 carcase;
stifturile conice 4 pentru centrarea celor 2 carcase.
Reductorul cu 2 trepte coaxial. Acest reductor are prima treapta cu dantura dreapta iar treapta a doua cu dantura inclinata. In sectiune reductorul cu 2 trepte are urmatoarea componenta:
arborele pinion 1 (arbore de intrare), care este sprijinit pe rulmentii 2, are montat pe el in consola semicuplajul 5 prin intermediul penei 6; pentru distantarea rotii fata de rulment se face cu o bucsa de distantare. Sistemul de etansare folosit este cu contact (inele de pasla, 4 montate in capacele strapunse 3);
arborele 12 (arbore intermediar), care reazema pe rulmentii 8 are montata pe el roata dintata 13 prin pana 12; pentru distantarea axiala a rotii se utilizeaza bucsa distantiera 9. Pentru etansare se utilizeaza capacele 7 montate cu suruburi de cele 2 carcase, iar pentru reglarea jocului axial in rulmenti se utilizeaza inele metalice se diferite grosimi prinse intre capace si carcase;
arborele 20 (arbore de iesire), care reazema pe rulmentii 19 are montata pe el la interior roata dintata 21 prin pana 22 si in consola semicuplajul 16; pentru distantarea axiala se utilizeaza bucsa distantiera 17. Pentru etansare se utilizeaza inele de pasla montate in capacul strapuns 18, iar pentru reglarea jocului axial in rulmenti se utilizeaza inele metalice se diferite grosimi;
suruburille 15 utilizate pentru fixarea celor 2 carcase;
stifturile conice 14 pentru centrarea celor 2 carcase.
Carcasele reductoarelor se executa de regula prin turnare din fonta cenusie, pentru solicitari mai mici si medii, iar pentru solicitari mari din otel turnat sau in constructie sudata (pentru serii mici de fabricatie). Carcasele cutiilor de viteza la automobile se executa de regula prin turnare din aliaje de aluminiu. Pe carcasele reductoarelor melcate se prevad aripioare de racire.
Arborii reductoareler se executa de regula din oteluri carbon obisnuite sau din oteluri de imbunatatire.
Pentru lagarele reductoarelor de turatie se utilizeaza de obicei rulmenti; doar in cazurile cand turatiile si incarcarile sunt mari si functionarea trebuie sa fie fara sgomot sau vibratii de folosesc lagarele de alunecare.
Ungerea reductoarelor de turatie se face de cele mai multe cu ulei. Se utilizeaza unsori concistente doar la viteze mici. Metoda de ungere utilizata se adopta in functie de vitezela periferice ale rotilor dintate:
ungerea prin balbotare (scufundarea in baia de ulei a rotilor mai), pana la viteze de 12.15 m/s; pe masura ce creste numarul de trepte, deoarece turatia scade, roata mare este mai mult cufundata in baia de ulei;
ungerea prin stropire, care utilizeaza o pompa de ulei, la viteze de 15.20 m/s;
ungerea prin stropire a fiecarei roti la viteze de peste 20 m/s.
|