( MA 1.7 )
1. PRINCIPIUL DE FUNCTIONARE
Sistemul de injectie MONO - MOTRONIC, realizat de firma BOSCH, este de tip (a, n), unde:
a = unghiul care indica pozitia clapetei si recunoaste sarcina motorului,
n = turatia motorului.
Acestea sunt informatiile principale pentru unitatea de control electronica (calculator), ce determina timpul de injectie de baza ( tI ); valoarea acestui timp de baza este corijata in functie de variatia parametrilor cu evolutie lenta: Tlichid racire, Taer, valoarea Lambda ( l ), tensiunea bateriei.
La sistemul de injectie MONO - MOTRONIC, calculul avansului la aprindere si comanda bobinei de aprindere sunt realizate de unitatea de control electronica si tinand cont de evolutia parametrilor: Tlichid racire, Taer, n (turatie motor).
Sistemul este fiabil si nu necesita reglaje; este un sistem de tip autoadaptiv, care isi efectueaza corectiile necesare ale parametrilor in timpul exploatarii motorului, tinand cont si de uzura acestuia in timpul exploatarii.

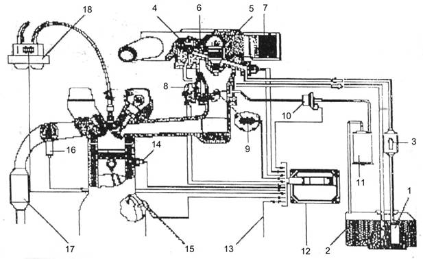
Figura 1
DESCRIEREA SISTEMULUI SI A ELEMENTELOR COMPONENTE, CARACTERISTICI SI MOD DE DIAGNOSTICARE
Componentele sistemului de injectie MA 1.7 sunt (Fig.1):
6. Senzor Taer;
. Potentiometru pentru clapeta;
Fig.19
Corespondenta R senzor = f (T)
|
T [0C] |
|
|
|
|
|
|
|
|
|
R [W |
|
|
|
|
|
|
|
|
Bobina de inductie (Fig.20) este de tip dubla - bobina cu distributie stationara de tensiune, fara elemente in miscare. Tensiunea din circuitul secundar al bobinei atinge 30 kV, distanta dintre electrozii bujiilor trebuie sa fie de 0,8 mm, iar fisele de bujii au o constructie speciala, fiind realizate dupa un concept nou in privinta deparazitarii electrice.
Figura 20
Bobina inductie |
- &n 313d31d bsp; &n 313d31d bsp; la legatura cu cablajul fata - (vezi Fig.c) se roteste caseta de cuplare.

Figura a
Figura b
Figura c
Pinul 16 - este foarte important, deoarece asigura alimentarea calculatorului cu (+) permanent, pentru memorarea defectelor ce pot apare in timpul functionarii si pentru a introduce corectiile necesare la pornire, deci este un sistem autoadaptiv. De asemenea el tine cont de uzura in timp a motorului, introducand factori de corectie pentru a readuce functionarea motorului la paramrtri nominali. La rebransarea bateriei, calculatorul rememoreaza toate datele si eventualele defectiuni din sistem, dupa aproximativ 20 de minute de functionare a motorului.
Pinul 33 - este foarte important, deoarece asigura masa calculatorului cu caroseria; de asemeni si pin 18.
|
Fig.23 |
Tabelul nr. 1
|
Pozitie consum. |
|
Pin calculator |
Componente (elem. sistem) |
Pozitie consum |
|
Pin calculator |
Componente (elem. sistem) | |
Calculator (scanteie aprindere cil. 1,4) |
|
Bobina aprindere (ZSK) |
|
Calculator |
|
Releu aer condi- tionat (clema 86) | |
|
|
|
|
|
|
Calculator |
|
Martor injectie (TS-2) | |||||||||
|
|
Calculator |
|
Trad. turatie (N/BM) |
|
Martor injectie (TS-2) |
|
Jonctiune E | |||||||||
|
|
Calculator |
|
Priza diagnosticare |
|
Calculator |
|
Motoras poz. clapeta | |||||||||
|
|
|
|
|
|
Calculator |
|
Masa motor | |||||||||
|
|
|
|
|
|
Calculator |
|
Motoras poz. clapeta | |||||||||
|
|
|
|
|
|
Calculator |
|
Injector (EV) | |||||||||
|
|
Calculator |
|
Motoras pozitie clapeta |
|
Injector (EV) |
|
Jonctiune D |
|
||||||||
|
|
Calculator |
|
Sonda oxigen (LSH) |
|
Valva purja canistra |
|
(+) baterie |
|
||||||||
|
|
Calculator |
|
Sonda oxigen (LSH) |
|
|
|
|
|
||||||||
|
|
Calculator |
|
Potentiometru clapeta (DKP) |
|
Sonda oxigen (LSH) |
|
Siguranta 10 A |
|
||||||||
|
|
Calculator |
|
Potentiometru clapeta (DKP) |
|
Jonctiune D |
|
Siguranta 10 A |
|
||||||||
|
|
Calculator |
|
Sonda Taer (NTC I) |
|
Sonda oxigen (LSH) |
|
Masa motor |
|
||||||||
|
|
Calculator |
|
Sonda Tapa (NTC II) |
|
|
|
|
|
||||||||
|
|
|
|
|
|
|
|
|
|
||||||||
|
|
Calculator |
|
(+) baterie |
|
Motoras pozitie clapeta |
|
Masa motor | |||||||||
|
|
Calculator |
|
Jonctiunea E |
|
|
|
|
|
||||||||
|
|
Calculator |
|
Jonctiunea C |
|
|
|
|
|
||||||||
|
|
Masa motor |
|
Jonctiunea C |
|
Releu pompa benzina (clema 87) |
|
Siguranta 10 A |
|
||||||||
|
|
Ecranare pt. 3 si 21 |
|
Jonctiunea C |
|||||||||||||
|
|
Ecranare pt. 9 si 10 |
|
Jonctiunea C |
|
Pompa electrica benzina |
|
Siguranta 10 A |
|
||||||||
|
|
Ecranare pt. 19 |
|
Jonctiunea C |
|
Releu pompa benzina (clema 87) |
|
Jonctiune D |
|
||||||||
|
|
Ecranare pt. 1 |
|
Jonctiunea C |
|||||||||||||
|
|
Priza diagnosticare |
|
Jonctiunea C |
|
|
|
| |
|
Bobina aprindere (ZSK) |
|
|
|
| ||
|
|
Bobina aprindere (ZSK) |
|
Jonctiune G | |||||||||||||
|
|
Calculator |
|
Masa motor |
|||||||||||||
|
|
Calculator |
|
Traductor turatie |
|
Releu pompa benzina (clema 30) |
|
(+) baterie |
|
||||||||
|
|
Calculator |
|
Aer conditionat |
|||||||||||||
|
|
Calculator |
|
Masa caroserie |
|
Releu principal (clema 30) |
|
(+) baterie |
|
||||||||
|
|
Calculator |
|
Turometru (TS1) |
|||||||||||||
|
|
Calculator |
|
Potentiometru (DKP) |
|
|
|
|
|
||||||||
|
|
|
|
|
|
Jonctiune G |
|
Jonctiune A |
|
|
|
Calculator |
|
Jonctiune B |
|
Jonctiune G |
|
Releu pompa Benzina (clema 85) |
|
|
|
Potentiometru (DKP) |
|
Jonctiune B |
|||||
|
|
Senzor Tapa (NTC II) |
|
Jonctiune B |
|
Jonctiune G |
|
Releu principal (clema 85) | |
|
|
Senzor Taer (NTC I) |
|
Jonctiune B |
|||||
|
|
Calculator |
|
Releu pompa benzina (clema 86) |
|
Releu principal (clema 86) |
|
Masa motor | |
|
|
Jonctiune A |
|
Contact aprind. (clema 15) | |||||
|
|
Calculator |
|
Valva purja canistra |
Circuitul de recirculare al vaporilor de combustibil (Fig. 24) are drept scop reducerea poluarii mediului cu vapori de benzina si se compune din:
1. Rezervor combustibil etans;
2. Canistra cu carbon activ;
3. Electroventil recirculare vapori benzina;
Figura 24
Figura 27 |
Figura 28 |

Valorile maxime admise ale emisiilor poluante, in cazul folosirii sondei λ si a convertorului catalitic, pentru motor cald, trebuie sa se situeze la urmatoarele valori citite dupa ce turatia motorului a fost adusa la 2500 rot/min. pentru aprox. 30 de secunde:
CO ≤ 0,3 % vol.
HC ≤ 60 p.p.m.
CO2 > 14 % vol.
MOD DE LUCRU IN CAZUL INTERVENTIILOR LA SISTEMUL
MONO - MOTRONIC
Inainte de pornirea motorului se verifica bransarea corecta a bateriei si strangerea buna a bornelor.
Tensiunea maxima de alimentare a sistemului = 15 V. Tensiunea de lucru a unitatii de control electronice = 5 - 15 V.
Bateria se debransa numai dupa ce motorul va fi oprit si cheia de contact in pozitia "St" (contact luat).
La verificarea compresiei cilindrilor se va intrerupe alimentarea cu curent a releelor sistemului de injectie.
Inaintea interventiei la instalatia de aprindere se va deconecta aprinderea.
2. Far dreapta a) lumini de drum si intalnire
b) pozitie
47. Lampa iluminare cutie acte
3. Termocontact G.M.V. racire
48. Alimentare radiocasetofon
4. G.M.V. racire
49. Iluminare scrumiera
5. Far stanga a) lumini de drum si intalnire
b) pozitie
50. Contact pornire - aprindere
6. Lampa semnalizare fata stanga
51. Masa coloana directie
7. Releu comanda G.M.V. racire
52. Contactor stop
8. Alternator
53. Avarie sistem franare
9. Manocontact
54. Comutator stergator - spalator parbriz
10. Transmitator presiune ulei
55. Aparat comanda lumini si avertizare sonora
11. Claxon dreapta
56. Contactor avarie
57. Contactor spalator geam hayon
13. Claxon stanga
58. Contactor stergator geam hayon
14. Bujii
59. Contactor dezaburire
15. Proiector ceata dreapta
60. Contactor ON conectare lampa ceata
16. Proiector ceata stanga
61. Contactor OFF deconectare lampa ceata
17. Masa caroserie fata dreapta
62. Contactor frana mana
18. Masa caroserie fata stanga
63. Masa geam hayon
19. Releu comanda proiectoare
64. Geam hayon cu dezaburire
20. Portfuzibil proiectoare
65. Sonda nivel combustibil
21. Contactor M.I
66. Lampa portbagaj
22. Electrovalva carburator
67. Stergator geam hayon
23. Transmitator temperatura motor
68. Contact mobil hayon
24. Termocontact
69. Contact fix hayon
25. Baterie
70. Lampa dreapta numar
71. Lampa stanga numar
27. Lampa anterolaterala dreapta
72. Lampa ceata stanga
28. Lampa anterolaterala stanga
73. Lampa ceata dreapta
29. Demaror
74. Lampa combinata spate dreapta
30. G.M.V. climatizare
75. Lampa combinata spate stanga
31. Stergator parbriz
32. Pompa spalator parbriz
77. Masa caroserie spate stanga
33. Pompa spalator geam hayon
78. Portfuzibil G.M.V. racire
34. I.C.P. pompa frana
79. Portfuzibil lumini intalnire stanga
35. Rezervor lichid frana
80. Portfuzibil lumini intalnire dreapta
36. Placute sigurante
81. Portfuzibil lumini de drum stanga
37. Tablou bord
82. Portfuzibil lumini de drum dreapta
38. Soc
83. Lampa stop suplimentara
39. Contactor usa fata stanga
84. Placuta frana stanga cu martor uzura
40. Lampa plafoniera dreapta
85. Placuta frana dreapta cu martor uzura
41. Lampa plafoniera stanga
86. Portfuzibil macarale electrice si inchidere centralizata
42.
Contactor
87. Pompa electrica benzina
43. Contactor proiectoare ceata
88. Conector pentru cablaj injectie benzina
44. Bricheta electrica
89. Conector pt. macarale electrice si inchidere centralizata
45. Iluminare comanda climatizare
90. Ceas electronic
|