Documente online.
Zona de administrare documente. Fisierele tale
Am uitat parola x Creaza cont nou
 HomeExploreaza
upload
Upload




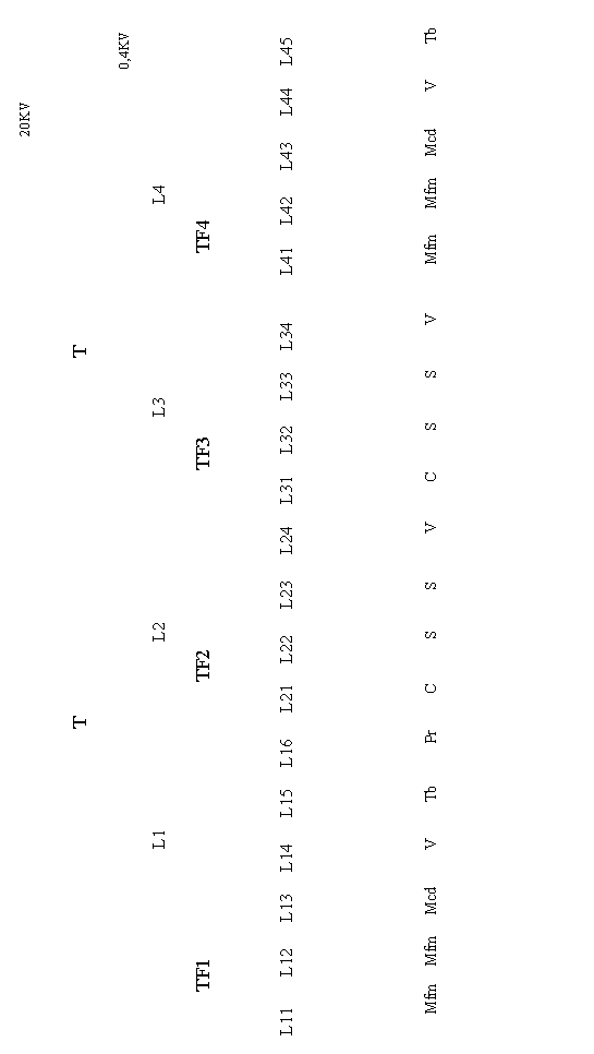
Schema electrica monofilara pentru joasa tensiune , a sectiei tehnologice

tehnica mecanica


Schema electrica monofilara ,

pentru joasa tensiune , a sectiei tehnologice




































































Schema electrica monofilara de joasa

tensiune , a sectiei tehnologice , în reactante si în rezistente






























































Schema electrica monofilara de joasa tensiune

pentru sectia tehnologica , prevazuta cu echipamente de protecitie










































































































































Document Info


Accesari: 6149
Apreciat: hand-up

Comenteaza documentul:

Nu esti inregistrat
Trebuie sa fii utilizator inregistrat pentru a putea comenta


Creaza cont nou

A fost util?

Daca documentul a fost util si crezi ca merita
sa adaugi un link catre el la tine in site


in pagina web a site-ului tau.




eCoduri.com - coduri postale, contabile, CAEN sau bancare

Politica de confidentialitate | Termenii si conditii de utilizare




Copyright © Contact (SCRIGROUP Int. 2025 )