10.1. Mecanismul producerii
Metalele si aliajele se dilata la īncalzire iar la racire se produce fenomenul invers de contractie. In cazul sudarii dilatarea pieselor la īncalzire are loc neuniform si scade cu cāt distanta de la linia cusaturii este mai mare.
La racirea cusaturii contractia este mai mare īn zona metalului depus. Datorita faptului ca dilatarile si contractiile metalului nu au loc īn mod uniform rezulta tensiuni interne care 323j99d de la o anumita valoare dau nastere deformatii.
Tensiunile interne -sunt eforturile care iau nastere īn piesele sudate datorita contractiei.
Distributia si marimea tensiunilor interne sunt influientate de factori constructivi si tehnologici cum ar fi:
rigiditatea pieselor
calitatea metalului de baza
grosimea pieselor de sudat
procedeul de sudare aplicat
tipul de īmbinare
regimul de sudare
Mecanismul producerii deformatiilor:
a) Bara initiala libera b) Bara īncalzita si constrānsa c) Bara constrānsa si racita
Daca bara este īncalzita uniform, ea se dilata īn toate directiile si la racire se contracta uniform,
recapatāndu-si dimensiunile initiale(a). Daca bara este īnsa constrānsa de doua bacuri (b), ea nu
se poate dilata lateral. Dilatarea volumica trebuie īnsa sa se produca, ca atare bara se va dilata mai
mult pe directia grosimii. La racire bara se contracta uniform īn toate directiile (c), ajungānd īn final,
la o latime mai mica si grosime mai mare decāt dimensiunile initiale.
- īncalzirea cāt mai redusa a materialului prin utilizarea unor procedee de sudare cu īncalzire concentrata, sudarea cu viteza mare, realizarea unor suduri cu calibre cāt mai mici (conform tabel suduri / proiect).
- sudarea intermitenta ( īn hafturi ) - daca este prevazuta in documentatia de executie
- preīncalzirea pieselor īnainte de sudare micsoreaza diferentei de temperatura dintre piesa si sudura,
ceea ce duce la reducerea deformatiilor
- pozitionarea corespunzatoare a pieselor, pentru ca prin deformare ele sa fie aduse īn pozitia dorita


![]()
- la sudarea de colt a tablelor cu grosimea mai mica de 7 mm se va lasa un luft de 1 mm.
- alegerea unei ordini de sudare corespunzatoare
- cordoanele de sudura cu lungimea mai mica de 400 mm se sudeaza de la un capat la celalalt
-la sudarea īn mai multe straturi, straturile succesive se sudeaza īn sensuri inverse, astfel īncāt sfārsitul cusaturilor sa nu se suprapuna
-la sudarea din ambele parti, rāndurile trebuie amplasate alternativ pe cele 2 parti, astfel īncāt tensiunile si ca atare deformatiile sa se echilibreze cāt mai mult
-sudarea unei sectii se face cu 2, 4 sau mai multi sudori dispusi simetric, de la mijlocul sectiei spre extremitati
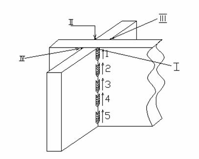
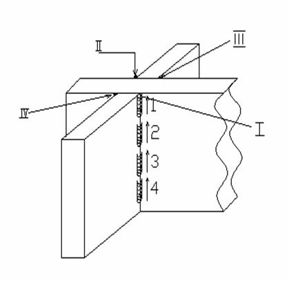
-sudarea unui contur īnchis se face ca in fig de mai jos
![]()

Cap. 10 - 10.3 Scheme de sudare pentru prevenirea deformatiilor generale
Sudarea tablelor de panouri, vezi cap 12.4 fig c si d
Sudarea osaturii simple respecta aceleasi principii ca pentru sudarea tablelor cap la cap si anume:
sudarea osaturii de la mijlocul panoului spre extremitati ( vezi fig.a)
sudarea osaturii urmatoare se face in sens contrar celei anterioare ( vezi fig a)
pentru sudarea bilaterala a elementelor simple cordonul de pe fata 2 se face in sens invers
fig a ( I, II)
fig a

Sudarea osaturii intarite in sens cellular dupa asamblarea osaturii in ambele sensuri longitudinal si
transversal se face urmarindu-se incalzirea uniforma si cat mai simetrica a intregii constructii sudate.
Sint cateva scheme clasice pentru sudarea osaturii intarite:
- sudarea cu 2 sudori ( vezi fig b)
fig b

Obs: 1.numerele romane indica ordinea de sudare a celulelor
2.numerele arabe indica ordinea de sudare in cadrul celulei
sudarea cu 4 sudori - varianta I ( vezi fig c)
fig c
Obs: 1. numerele romane indica ordinea de sudare a celulelor (I ÷VI)
2. numerele arabe indica ordinea de sudarea in cadrul unei cellule
sudarea cu 4 sudori - varianta II ( vezi fig d)
fig d
Obs: varianta din fig d preintampina mai bine aparitia deformatiilor generale decat varianta din fig c.
Sudarea osaturii intarite ( varange, suporti) intre ele se face dupa sudarea osaturii de invelis.
Ordinea de sudarea sudurilor decalate este cea indicate in fig e.
Fig e
Ordinea de sudare in cadrul unei intersectii de osatura intarita se face ca in fig f 1,f 2
fig f 1
fig f 2
Obs 1.un cordon vertical se executa in trepte inverse cu sensul general de sudura de sus in jos
2. cifrele romane indica ordinea de sudare a unui nod
10.4. Masuri pentru īnlaturarea deformatiilor
-indreptarea la cald - se aplica pieselor de otel cu continut scazut de carbon. Īncalzirea se face cu
flacara oxiacetilenica pāna la max. 700 - 800 ŗ C, constānd in realizarea unor īncalziri usoare asfel
īncāt sa se asigure o deformare a pieselor egala si de sens contrar cu cea aparuta la sudare
tratamentul termic al piesei dupa sudare - urmareste eliminarea tensiunilor interne (dezavantaj - se face
numai in cuptoare speciale si dimensiunile pieselor supuse acestor tratamente sunt limitate)
ciocanirea usoara a cusaturii si a zonelor īnvecinate cu un ciocan cu fete rotunjite
|