METODE sI TEHNICI MODERNE DE CERCETARE ÎN ARHEOLOGIE
1. NOŢIUNI GENERALE. OBIECTIVE
Realizarea unor corelatii, cu caracter predominant aplicativ, între metodele traditionale si moderne în cercetarea arheologica.
Pentru realizarea unor corelatii, pentru precizarea locului si rolului pe care o comunitate îl joaca în timp si spatiu este necesara cunoasterea si studierea în timp si spatiu a mediului geografic (ambient, environment).

Orice comunitate traieste într-un mediu cu care exista strânse corelatii si interdependente. Aceste interdependente ale sistemului pot fi definite prin urmatoarea schema a lui David Clark (Analithical Archaeology, 1978).
În acest sistem au trait comunitatile anterioare si traieste comunitatea studiata, formând, la rândul ei, un subsistem, definit prin cultura materiala, viata economica, cu un sistem sau sisteme straine.
Însusirea notiunilor de baza, a metodelor specifice si a deprinderilor pentru folosirea calculatoarelor în procesul de redactare, evidenta, analiza matematica si statistica a materialelor si datelor arheologice.
1.1. Metode si tehnici traditionale (clasice) de cercetare si datare.
Cercetatorul, pentru stabilirea datei unui obiect sau situatii arheologice, analizeaza si studiaza, în primul rând, contextul si conditiile stratigrafice, depunerile si acumularile din depozite comparându-le cu alte situatii (stratigrafia si stratigrafia comparata). Urmeaza apoi studiul tehnicii de fabricatie (factura, textura, structura, finisare etc.) pentru stabilirea unei evolutii si a unei cronologii relative si absolute.
Cronologia absoluta se poate obtine prin diferite metode fizico-chimice, geo-cronologice, izvoare scrise s.a. cum sunt: studiul varvelor glaciare si asocierea cu date cunoscute, carbon 14, potasiu - argon, dendrocronologie, termoluminiscenta s.a.
Cronologia relativa este foarte variata diferind de la epoca istorica la alta. La fundamentul acestor datari sta studiul diferitelor structuri de baza: - baza paleontologica prin: mineralizarea osemintelor, acumularea fluorului; botanica (dinamica polenului); zoologie (evolutia taliei unor specii); antropologica; - baza geologica prin studiul variatiilor glaciare, a nivelului marilor, a apelor si traselor continentale, a temperaturilor marii s.a. Dintre acestea cea mai importanta este metoda varvelor (straturi de argila) depuse ca urmare a topirii ghetarilor pe trase sau funduri de lacuri, lânga morene. Studiul morenelor sii recensiunea ghetarilor lasa numeroase straturi cu varve care ofera o scara de cronologie relativa sau absoluta (dupa anumite datari fizico-chimice). Sincronizarea datelor stabilite de geologi cu cele ale paleobotanistilor sau paleozoologilor si arheologilor duce la stabilirea unor date de cronologie (FREDERIC 1967, 252-155). În aceste date trebuie sa se tina cont de viteza sau intensitatea de sedimentare, eroziune etc.; - baza petrografica prin: studiul granulometric al nisipurilor, înlocuirea geochimica a unor substante cu altele; studiul evolutiei stalagmitelor; studiul patinei suprafetei obiectului s.a.; - baza arheologica de natura: stratificata, sincronica distributiva, tipologica, cantitativa si secventiala; - baza pedologica prin studiul originii 12112q168m si evolutiei solului în conditii normale si sub interventia antropica; sau prin studiul depunerilor si straturilor de guano, sau alternanta lor cu cele arheologice în pesteri; prin analiza microstratigrafiei determinata de evolutia humus-ului, a oxidului de potasiu (K2O) si fosfor (P2O5) sau a altor elemente geochimice ale solului.
Studiul unei comunitati trebuie facut în contextul din care face parte. Acest sistem este definit prin termeni ca "mediul geografic", ambientul, environmentul. Acest ambient este format dintr-o structura corelata, formata din mediul geografic, geologic, faunistic si floral, reconstituit dupa polen (fig. 2).
1.1.2 Metoda stratigrafica. Aceasta metoda face parte din metodele bazate pe observatia logica a cercetarilor arheologice de teren. Aceasta indica, în special, succesiunea si nu durata, care depinde de intensitatea de locuire si dinamismul de constructie, depuneri, activitati eoliene s.a. Pentru completarea datelor se adauga acesteia diferite alte metode de datare absoluta sau relativa cum sunt: dendrocronologia, palinologia, varvele glaciare (depuneri periodice rezultate din topirea ghetarilor); stratigrafia orizontala, stratigrafia comparata s.a. Istoria universului, a pamântului, a omului este o stratigrafie scria Louis Frederic (FREDERIC 1967, 249).

Sincronism. Anacronism. Foarte
importante de retinut la studierea metodei stratigrafice, sunt procesele
de sincronism, de afinitati sau diferentele si
anacronismul, procesele de evolutie sau involutie, sau fenomenelor de
convergenta ce pot duce la fenomene de "stratigrafie artificiala"
prin scoaterea materialelor din context si prezentarea lor izolata.
În exemplul unde stratigrafia orizontala e combinata cu cea verticala se poate vedea ca în aceleasi nivele de sapare apar mai multe gropi în a caror umplutura intra materiale din straturile anterioare si din vremea astuparii gropii.Daca groapa ramâne deschisa, în ea pot patrunde si materiale mai noi, dând nastere la amestecuri de materiale ce nu mai pot fi separate decât pe baza unor serieri sau pe baza unor analize de corespondenta. Metoda stratigrafica reprezinta una din principalele metode, dar ea trebuie folosita cu unele rezerve în spatiu si timp, tinând cont de alti factori cum sunt cel: climatic, zoologic, tehnologic, relatia dintre factorul tip si functionalitate.
Metoda stratigrafica ofera specialistului date de cronologie, fixând relatia în timp prin notiuni ca "înainte", "mai de vreme", "dupa", "mai târziu" (HOREDT 1970, 11) la care am adauga "contemporan".

Stratigrafia verticala. Metoda stratigrafica a fost aplicata multor civilizatii si a fost folosita vreme îndelungata la stabilirea cronologiei relative a neoliticului. Pentru neoliticul timpuriu din Transilvania exista observatii stratigrafice importante cum sunt cele la Gura Baciului, Ocna Sibiului si Let. Pentru neoliticul dezvoltat, din Banat si Serbia, deosebit de caracteristica este stratigrafia de la Vinča (straturi groase de 10,4 m împartite în peste 10 nivele, straturi, faze). Pentru eneolitic, în mod special, sunt de amintit observatiile din culturile Ariusad-Cucuteni (din cele doua statiuni eponime).

Date stratigrafice exista în numeroase situatii, ele
trebuie cu grija citite (adica
descrise, comentate, înregistrate, explicate). Descrierea si citirea unei
stratigrafii este deosebit de importanta ea permitând unui arheolog
sa verifice, independent de interpretari vechi sau noi, anumite
ipoteze si sa reformuleze alte ipoteze.
Exista unele modele clasice cu exemple de stratigrafie orizontala pe baza carora, cândva, s-au impus anumite sisteme cronologice. Una din acestea a fost stratigrafia de la Troia.
Reconstituirile pe nivele permit o usoara întelegere pentru specialist si nespecialist a arhitecturii, a organizarii, a problemelor economico-sociale ale vremurilor apuse.

Stratigrafia orizontala. Alaturi
de metoda de stratigrafie verticala se foloseste metoda stratigrafiei
orizontale, când se înregistreaza si urmareste succesiunea
cronologica a fenomenelor pe orizontala. Aceasta a fost aplicata
în cimitire iar mai recent, prin intermediul calculatorului, si între
complexe (borderie, gropi, locuinte), nivele, statiuni sau alte zone.
În prelucrarea ei se folosesc algoritmi ca serierea, analiza de
corespondenta, analiza de clusteri ("parinti" sau "nori")
(pentru exemple FERENŢIU-LAZAROVICI 1990; 1993).
În modelul de mai jos sunt prezentate materiale de la Parta (jud. Timis, considerând motivele decorative ca atribute), din vremea culturii Banatului (mileniul V a.Chr.). Aceste tipuri de motive se folosesc la codificarea pe calculator a datelor si, prin algoritmi matematici, sunt oferite date de stratigrafie si evolutie. Din ele se poate observa o evolutie în timp si spatiu a motivelor decorative. Se pot observa când apar, când domina si când dispar sau reapar unele motive decorative.
Metoda stratigrafica se aplica la diferite nivele în arheologie sau în disciplinele ce concura (palinologie, pedologia, paleobotanica etc.).
1.1.3.Metoda tipologica
A fost
elaborata în 1885 de catre suedezul Oscar Montelius. Acesta
arata ca ".omul este supus în munca sa legilor evolutiei si
va ramâne supus lor.Evolutia poate sa decurga încet sau
repede, întotdeauna însa omul este nevoit, în crearea unor forme noi,
sa asculte de aceleasi legi ale evolutiei

care sunt valabile si în restul naturii".
Cu ajutorul metodei tipologice se elaboreaza o schema care stabileste succesiunea cronologica a produselor umane. Acestea parcurg o anumita dezvoltare, în general de la forme primitive la tipuri mai perfectioniste, mai cuprinzatoare. Evolutia este determinata, în principal, de relatia tip - functionalitate.Acestea sunt însa disturbate din evolutia lor de felurite fenomene de aculturalizare, de tranzitie, de involutie, de factori psihologici (arta, credinte, moda, preferinte).
În principal, pentru fiecare tip se stabilesc serii tipologice urmarindu-se, cu precadere, etapele succesive ale transformarii structurii lor. Aceasta urmarire duce la fenomene si procese de istorie structurala. Evolutia unui tip nu este liniara ea având o curba unimodala (în genul clopotului lui Gaus), bimodala sau plurimodala.
În analiza seriei tipologice se foloseste foarte mult studiul asocierii obiectivelor în complexe (locuinte, borderie, gropi sau inventare funerare), în depozite de bronzuri sau tezaure, în nivele de locuire, straturi de cultura sau statiuni. Aceasta metoda are si limite, determinate fiind de natura materialelor care nu se preteaza întotdeauna unor precizari tipologice, sau nu permit stabilirea unor serii tipologice. Folosirea ei este importanta si utila, dar are limite, mai ales când obiectele sunt luate izolat, aparând fenomene determinate de procese de involutie, retardare sau convergenta.

1.1.4 Metoda comparativa sta la baza multor metode si discipline, în ramuri convergente arheologiei, în cercetarile interdisciplinare si în alte stiinte sau domenii. Aceasta sta la baza metodei tipologice, stratigrafice, a stratigrafiei comparate s.a. Metoda se aplica tuturor fenomenelor unui sistem (ambient: geologie, geografie, flora, fauna) sau, subsistem (cultura materiala, viata economica, sociala sau spirituala si psihologia comunitatii).
În antichitate a fost folosita de Aristotel în "Politeiai" pentru analiza formelor de organizare sociala, iar de catre naturalistul G. Couvier la compararea oaselor fosile, acesta punând bazele paleologiei s.a. (HOREDT 1970, 17).
Aceasta
metoda are la baza ideea ca lucrurile asemanatoare sau
identice pot sa fie si contemporane. Metoda are limitele sale
deoarece pot aparea fenomene de convergenta, determinate de
fenomene similare, (de istorie structurala), de fenomene economice,
sociale s.a. Pentru veridicitatea si acceptarea acestei metode se
impune verificarea rezultatelor si prin alte cai sau mijloace
(datari de cronologie absoluta sau relativa).
1.1.5 Metoda chorologica. Metoda cartografica sau chorologica (chora=spatiu, regiune în greceste) se bazeaza pe raspândirea anumitor fenomene în spatiu si pe înregistrarea lor pe harti geografice. Aceasta metoda consta din asocierea metodei comparative si tipologice prin clasificarea fenomenelor cartografiate pe harti. Din acestea se trag interesante concluzii, daca se tine seama de metoda stratigrafica si de elementele de cronologie absoluta sau relativa. Cu ajutorul ei pot fi definite procese de migratie, difuziune sau asociate.
Interpretarea datelor trebuie sa tina seama de multi factori si fenomene pe care le-am subliniat la prezentarea metodelor de mai sus. Metoda este folosita în lingvistica (la hartile de raspândire a cuvintelor sau grupelor de cuvinte), în etnografie, etnologie si în arheologie. Aceasta metoda ilustreaza raspândirea unor fenomene în spatiu si distribuirea lor în timp. Din analiza raspândirii se pot elabora ipoteze privind procese de migratie, difuziune si evolutie.
Asemenea harti se folosesc adesea, mai ales la marile lucrari de sinteza. Un asemenea model este Atlasul neoliticului european (aparut în 1993 la Liege, în Belgia) în care sunt prezentate harti horo - cronologice privind civilizatiile neolitice europene.
Acestea sunt documente primare în care sunt cuprinse datele de stratigrafie verticala si orizontala în spatiu european.
Un model de cartografie a complexelor (în acest caz bordeiele din diferite faze) si a datelor s-a realizat în statiunea de la Gura Baciului unde bordeiele au fost seriate pe calculator în functie de continutul sau intervalul lor (Lazarovici - Maxim 1995, p. 5 tabel cu cronologia absoluta si relativa a complexelor pe faze). Din aceasta cartografiere lipsesc locuintele de suprafata, iar, pe de alta parte, se mai gasesc gropi ,menajere, de lut sau de la complexe de suprafata, pe acelasi plan de sapatura.
2.1. PROSPECŢIUNI DE SUPRAFAŢĂ. Prospectarile de suprafata au menirea de a identifica activitati umane trecute, într-un spatiu sau într-o zona data. Scopul acestora este precizarea numarului siturilor arheologice, localizarea si natura lor. Acesteia îi sunt necesare arheologului pentru a justifica un program stiintific de cercetare pentru lucrari viitoare. Cercetarile de salvare nu necesita asemenea justificari, dar ele trebuie executate, cercetarea amanuntita de teren având aici o mai mare importanta.
2.1.1 Periegheza. Este una din metodele cele mai des folosite de arheolog si cea mai economicoasa. Aceasta presupune o anume experienta de teren privind orientarea, sistemul de cercetare, sistemul de notare, cunoasterea materialului si asocierile de materiale. Acestea sunt favorizate de existenta sau realizarea unei documentatii anterioare asupra zonei, de existenta unor harti si aerofotograme, o bibliografie a zonei (repertorii). Anomaliile de relief, vegetatie (pete de culoare sau cresteri diferite ale vegetatiei) si prezenta urmelor materiale (ceramica, obiecte, resturi de materiale de constructii), sunt indicii pe care arheologul si echipa de prospectare le retin si constituie marturii de identificare. Datele sunt cartate pe planuri obtinându-se harti privind dispunerea obiectelor pe categorii de obiecte, pe epoci, pe functionalitati.
Studiul terenului ofera date prin anomaliile de relief care dau informatii privind ruinele, santurile, valurile, telurile, tumulii, haldine de la spalarile de nisipuri aurifere (Valea Bocsitei, Bocsa - Cracul cu aur) si haladine de steril sau minereu. Blocurile mari pot indica morminte megalitice, dolmeni, morminte în ciste etc.
Analiza reliefului indica puncte de trecere, posibilitati de supraveghere, puncte de straja, puncte de semnalizare sau observare. Aglomerarile de pietre pot marca morminte megalitice sau tumuli cu mantaua din pietre sau ruine de biserici sau constructii. Urmele unei vegetatii de apa indica cursuri de râu în ale caror coturi sau "insule" este posibila depistarea unor asezari aparate natural sau prin usoare interventii umane. Explorarile de minereu lasa în vecinatatea lor guri de ocne, haldine de pamânt, iar în zona gropii doar mici albieri. Vechile rute sunt identificabile dupa vegetatie, rambleuri, vegetatie izolata sau abundenta, cazul cu drumul roman Centum Putea - Berzobis, care este marcat de o bogata vegetatie de tufarisuri si spini, ce indicau traseul si rambelul, drumul nu putea fi arat, datorita densitatii mari de pietre ale pavajului (observatii din anii 1962-1964). Atelierele de prelucrare a metalelor sunt marcate de mari aglomerari de zgura (uneori adevarate movile) cum sunt cele din Banat, în zona Bocsa - Berzovia - sosdia - Gataia.
Unele locuiri în pesteri sau grote indica existenta unui climat rece. Vestigiile arheologice se regasesc cel mai adesea în zona de intrare, în zona luminata sau cea ferita de aer. Existenta unor fenomene fizice pronuntate în pesteri, cum sunt desprinderile mari de blocuri, indica perioade glaciare si stadii interglaciare.
Cercetarea de suprafata, prin datele pe care le aduna, permite stabilirea colectivului de cercetare în functie de natura obiectivului, epocile si materialele descoperite. Cercetarea de suprafata trebuie sa adune date despre natura economica a zonei, demografia, ecologia culturala. Datele adunate trebuie sa se refere la sistemul în care se dezvolta comunitatile (geografia, geologia, flora, fauna, situatia pedologica), iar informatiile cuprind date despre distanta pâna la un nou complex sau sit arheologic, date care permit arheologului delimitarea spatiului unei statiuni.
Cercetarea presupune si efectuarea unor prospectari cu caracter etnoarheologic. Acestea pot oferi date despre mestesugurile traditionale din zona, despre folosirea spatiului de alte subsisteme (de la cele actuale la cele vechi care au lasat urme materiale).
Pentru evidenta cercetarilor de suprafata exista o fisa de sit arheologic FAE si un model de borderou pentru baza de date din sistemul ZEUS (fisa de tip Rezervatie) continând un minim de date culese pe teren (MAXIM 1990).
2.1.2.Prospectiunea aeriana. Preocuparile pentru studii de arheometrie au început din secolul trecut, dupa anii 1858 când Nadar obtine brevet pentru fotografii aerostatice. Primele studii sunt facute de italieni la Ostia si în Forum, iar mai apoi de germanul Stolze, la palatul din Persepolis. Limesurile roamne au fost studiate aerofotogrametic între anii 1925-1932, de catre parintele Poidebard în Siria sau colonelul Baradez pe limesul din Numidia. Mai recent se folosesc în mod curent fotografiile din satelit pentru prospectarea arheologica.

Fotografia aeriana permite, sub anumite unghiuri de lumina (lumina oblica) si umbre, sesizarea unor date de microrelief marunte denivelari, canale sau sisteme de irigare, santuri, valuri, tumuli deranjati, urme de colibe, ziduri scoase, determinabile dupa diferenta de culoare a vegetatiei sau solului. Tot astfel, determinarea obiectivelor arheologice este favorizata de primele ninsori, de inundatii, de ploile abundente etc.
Aerofotogramele permit sesizarea nuantelor de culoare ale vegetatiei în conditii date de seceta sau umiditate. Bogatia în fosfati, azotati, carbonati ori umiditatea din gropi, cu santuri si rambleuri favorizeaza cresterea vegetatiei sau determina nuante mai închise ale ei. Prezenta pietrei, varului, a zidurilor sau lutului galbel din valuri defavorizeaza cresterea vegetatiei ce apare de diferite înaltimi sau nuante de culoare, de obicei mai deschise.
Anumite plante, cum este lucerna, în cresterea si dezvoltarea lor sunt favorizate de prezenta calcarului de la pietrele de constructie. În anumite zone, bogatia în fosfati sau oxid de potasiu, din perimetrul unor statiuni, determina cresterea vegetatiei. Într-o statiune cresterea elementelor indicatoare (K2O sI P2O5) este în medie, de la 10 pâna la 200 de ori mai mare decât normalul din zona.
Din avion se pot observa trasee disparute, mari sisteme defensive, ruine, sisteme de semnalizare. Sesizarile din avion trebuie marcate pe rute si harti, trebuie precizate date privind lumina, locul, altitudinea, data, ora, conditiile atmosferice ale zborului s.a., date ce trebuie precizate si retinute pentru viitoare observatii. Odata cu dezvoltarea tehnicii aviatice (elicoptere) sau fotografierea din balon, conditiile de executarea fotografiilor aeriene s-au îmbunatatit considerabil. Totusi, acestea au diferite limite impuse de conditiile geofizice.
Pentru retinerea si prelucrarea imaginii se folosesc: fotografierea, filmarea si luarea imaginilor video din avion sau elicopter. Odata cu dezvoltarea tehnicii de prelucrare a imaginilor video pe computere s-au îmbunatatit posibilitatile de prelucrare a imaginilor si combinarea lor cu prospectarile prin alte metode.
Fotografiile aeriene presupun anumite conditii de fotografiere: sub un anume unghi, sub unghi de lumina, filmarea de la diferite altitudini, executarea fotografiilor stereoscopice s.a. Tehnica fotografiei aeriene trebuie adaptata la publicarea sau prelucrarea imaginii pentru nespecialisti.
2.2 PROSPECŢII sI DETECTĂRI DE ADÂNCIME. Metodele folosite sunt fie cu colectare de esantioane (pedologice), fie fara colectare, folosind posibilitati de sondare, de detectie sau teledetectie.
2.2.1 Prospectii cu colectare de esantioane. Prospectarea prin luarea de esantioane este o metoda folosita de diferite discipline din cadrul cercetarilor interdisciplinare. Dintre acestea le amintim pe cele mai des folosite: prospectarile pedologice, culegerea de probe litice, ceramice si osteologice, palinologice.
2.2.1.1 Prospectarile pedologice. Prin luarea de analize de sol se urmareste pe de o parte, delimitarea întinderii zonei arheologice, pe de alta parte, precizarea unei stratigrafii mai fine sau dispunerea straturilor si precizarea aspectului (natural sau artificial), calitatile de sol din statiune si din zona arheologica. Elementele indicatoare sunt: humusul, P2O5, K2O si Ph-ul, ale caror valori variaza în functie de adâncime si de activitatile antropice.
Prospectarile pedologice constau din luarea unor carote cu ajutorul sondei pedologice. Aceste carote sunt studiate atât de arheolog cât si de pedolog. Studiul microscopic si macroscopic urmareste:
a) definirea texturii: studiul la microscop care precizeaza proportiile relative de nisip si particulele sedimentare din argila sau din structura unor materiale. Aceasta analiza este importanta si pentru precizarile si analizele asupra tehnologiei ceramicii, a calitatilor si originii surselor de argila sau a celor din piatra, silex s.a.
b) precizarea granulometriei: cu precizarea elementelor si mineralelor din sol sau materiale de silex, precum si stabilirea modului de formare a straturilor interne (sedimentarea).

Studiul acesteia foloseste, uneori, la precizarea locului de
origine al ceramicii sau materialelor;
c) petrografia analizeaza mineralele din sol sau roci, permitând localizarea lor, a obiectelor (unelte, arme, podoabe), a originii lor sau a unor elemente componente ca de exemplu: prezenta unor micro-organisme ce contribuie la formarea rocilor (cazul silexului: BOBOs-AVRAM 1990: FREDERIC 1967/1985, 280 fig. 2;)
d) litologia analizeaza galetii din sol, mai mari de 2 cm, pentru precizarea naturii, a formarii solului, sau a depunerilor din acesta, a bulversarilor petrecute;
e) polenul si resturile de fosile aduc date despre flota si formarea solului, efectuarea unor date despre ambient;
f) analizele chimice permit precizarea metalelor sau elementelor indicatoare din sol (fier, magneziu, calciu, sodiu, potasiu, aluminiu s.a.) a oxizilor: carbonatilor (importanti pentru cunoasterea procesului de humificare), fosfatilor (P2O5 importanti pentru procesele de descompunere a resturilor vegetale sau osteologice), nitratilor (K2O pentru precizarea nivelelor de calcare, marcate de incendii, cenusa), aciditatea mediului (importanta în: chimia solului, pentru pastrarea polenului sau de descompunerea oaselor).


Analizele chimice ale solului pot fi cele standard, folosite curent (LAZAROVICI - PICIU 1990), fie cele care urmaresc evolutia unor elemente indicatoare mai sus precizate. Rezultatele pot fi deosebit de importante deoarece activitatile antropice determina variatii foarte mari ale unor elemente fizico-chimice (de ex. K2O sau P2O5 cresc pâna la 10 pâna la 200 ori fata de media zonei), variatii ce permit delimitarea zonei arheologice. Asemenea metode au fost folosite de exemplu la determinarea întinderii zonei arheologice a asezarii de la Parta sau a miscarilor de vatra de asezare în statiunea neolitica de la Iclod si Gura Baciului (GHERGEN - DOGARIU 1981; LAZAROVICI - PICIU 1990) sau la precizarea stratigrafiei mai fine a statiunilor de la Parta, Iclod, Baciu, Gura Baciului, Tureni (DOGARU - GHERGEN 1981; LAZAROVICI - PICIU 1990; 1994).
2.2.2 Prospectii fara colectare de esantioane. Asemenea prospectii sunt foarte variate din punctul de vedere al metodelor si al aparaturii folosite. Acestea s-au dezvoltat masiv în ultima jumatate de veac. Unele au fost doar precizate, altele au aplicatii în diferite domenii, în special în geofizica si au fost preluate de la geologi de catre arheologi.
2.3 PROSPECŢII sI DETECŢII GEOFIZICE
2.3.1 Seismice. Detectare prin propagarea undelor. Este o metoda preluata din cercetarile de geofizica. Este folosita la identificarea obiectivelor de mari dimensiuni, cu o masa mare (ziduri masive, morminte subterane cu pietre, mine, goluri subterane etc.)
Metoda
are la baza emiterea unei unde de soc ce se propaga în sol prin
vibratii elastice ce sunt apoi înregistrate de un seismograf sensibil care
primeste raspunsul. Variatiile din sol determinate de
existenta unor obiective arheologice subterane, rigide. Anomaliile
înregistrate permit realizarea unor diagrame. Metoda a fost aplicata în
cazul descoperirilor etrusce din

Tarquinia (FREDERIC 1967/1985, 114-118).
2.3.2. Georadarul. Este o metoda care foloseste instrumente specializate de detectie. Acesta se realizeaza cu un aparat bazat pe principiul emiterii unor unde în sol care sunt reflectate si receptionate de catre un receptor. Existenta unor anomalii în sol - determinate de densitatea diferita a solului, de existenta unor aglomerari de materiale de constructii (aglomerari de pietre, darâmaturi), constructii, ziduri grupari de chirpici (pamânt ars de la colibe sau locuinte) sau aglomerari de materiale - sunt detectate si înregistrate numeric, sau pe un ecran digitalizat. Datele obtinute sunt prelucrate matematic (prin diagrame sau modelari pe calculator) obtinându-se harti ale solului.
2.3.3. Prospectarile electrice se realizeaza cu o punte de masurare a rezistivitatii solului. Aceasta are la baza principiul masurarii rezistivitatii solului. A fost aplicata în prospectarile geofizice în anul 1916 (Werner), iar de catre arheologi abia în anul 1946.
Metoda consta în aplicarea, prin intermediul a 2 electrozi, A, D la o distanta de cca. 4 m unul de altul a unei tensiuni de curent alternativ. În sol circula un curent ce poate fi masurat cu ajutorul a doi electrozi introdusi în pamânt între cei doi cu un volmetru sensibil la caderea de tensiune provocata de rezistivitatea solului.

Comportamentul diferit al unor obiective arheologice, cu
rezistenta mare (la ziduri, darâmaturi, blocuri de
piatra, aglomerari de piatra) sau cu conductibilitate (gropi sau
straturi, aglomerari, santuri cu apa, cenusa,
carbune) este sesizat realizându-se profile sau masuratori în
retea, ce pot fi prelucrate manual sau pe computer, obtinându-se
harti cu anomalii ale rezistivitatii ce sunt apoi
interpretate de arheolog (FREDERICH 1967; DRAGOMIR - LAZAROVICI - TÂRNOVAN
1990).

Metoda are facilitati pentru identificarea adâncimii
obiectului. Prin marirea distantei dintre electrozii externi se
mareste adâncimea de prospectare si permite identificarea
obiectivului, masivitatea lui, eventual adâncimea, care poate fi
calculata.


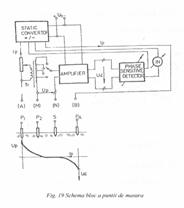
Aparatul este format dintr-o baterie de curent continuu, un convertor
static, un amplificator de tensiune pâna la 80 V, o punte pentru
masurarea intensitatii curentului sau a caderii de tensiune
si un potentiometru pentru echilibrarea puntii. Anomaliile de
rezistivitate, determinate de obiectivele arheologice din sol, provoaca
anomalii, ce duce la scaderea sau cresterea curentului electric (a se
vedea fig. 20).
2.3.4. Prospectiunile magnetice. Detectarea directiei liniilor de forta a câmpului magnetic terestru actual sau a celui trecut se poate face prin masurarea cu ajutorul unei busole a unor obiective. Acestea, prin ardere, au dus la remanenta câmpului magnetic din momentul arderii si a orientarii spre N a particulelor cu continut feromegnetic (mecanism termoremanent).
Pentru aceasta se foloseste o busola speciala cu cadru pralelipipedic de aluminiu. De obicei se masoara câmpul magnetic actual (Nm=nordul magnetic), iar de pe harti se citeste declinatia magnetica (d) a zonei fata de nordul geografic. Pe obiectiv apoi se masoara declinatia (D) ce reprezinta unghiul fata de nordul magnetic (Nm; a se vedea fig. 21-22).


În masuratorile magnetice se mai practica masurarea înclinatiei (I) ce reprezinta abaterea pe verticala prin axa EV spre nordul geografic. Aceste trei elemente: I=înclinatia, D=declinatia si d=unghiul, permit calcularea fortei câmpului terestru în punctul respectiv. Câmpul magnetic terestru a suferit variatii seculare. Exista harti cu privire la paleomagnetism.
Spre exemplu, prospectarea unor morminte da o harta cu anomalii de o anumita forma ce trebuie citite si interpretate de catre arheolog (fig. 23).
![]() |
2.3.5. Prospectiunile electromagnetice. Magnetometria s-a dezvoltat pe baza particularitatilor magnetice ale elementelor din sol (argile arse, pirotit, magnetit s.a). În magnetometrie cu: protoni, cesiu si rubidium (este în spatiu experimental) si magnetometru diferential. Masuratorile se realizeaza în linie, pe trasee, sau în suprafata, în sistem retea (fig. 24).
2.3.5.1 Magnetometria cu protoni. Magnetometrul cu protoni are la baza principiul comportarii protonului ce se orienteaza dupa liniile de forta ale câmpului magnetic local. Aparatul consta dintr-o bobina de înalta tensiune cu curent alternativ, aflata într-un lichid: apa cu continut de hidrogen-protoni sau lichid organic (alcool, hexan, heptan). Trimitând microcurenti în bobina se emite un câmp magnetic care actioneaza asupra protonilor din lichid emitând un fascicol de protoni. Emitatorul are rol. în acelasi timp, si de receptor, ce reprimeste impulsul de protoni reflectati de obiectivele arheologice subterane. Bobina se afla la o distanta standard de pamânt (între 0,60 la 1,30 m) fixata pe o tija. Impulsurile sunt emise din 8 în 8 secunde. O masuratoare dureaza 4 secunde (1 secunda inertia si 3 secunde necesare polarizarii), iar 4 secunde sunt pentru citire. Un contor receptioneaza protonii reflectati.
Masurând un sistem de coordonate se pot obtine profile magnetice ale anomaliilor din sol, marcate de obicei de un minim si un maxim, orientat pe liniile de forta ale nordului magnetic. Cu aceste profile se realizeaza o harta cu izoanomaliile, o diagrama a liniilor suspecte. Masuratoarea poate fi facuta si în retea, iar matricea de date poate fi prelucrata pe calculator obtinându-se o harta a anomaliilor din sol sau o redare în relief a acestor anomalii.
Comportamentul diferit al urmelor arheologice din sol depinde de permeabilitatea sau reflexibilitatea fata de fascicolul de protoni. Aceste date trebuie retinute de arheolog la citirea hartii si interpretate în functie de natura obiectivelor arheologice presupuse în sol.
Arheologului îi revine sarcina de a citi si interpreta aceste harti. Mai precizam ca exista o variatie diurna a câmpului magnetic, ceea ce poate produce anomalii. Pentru evitarea acestora este necesara efectuarea în paralel cu masuratoarea a unor masuratori la un punct de referinta, iar din datele reale se scad variatiile diurne. Limitele acestei metode sunt determinate de influenta pe care o exercita asupra aparatului masuratorilor obiectelor metalice din sol, obiectele metalice din vecinatatea masuratorilor, cele terestre sau subterane. De acesti factori trebuie sa se tina cont în orientarea masuratorilor.

2.3.5.2 Magnetometrul diferential. Acesta este compus din doua butelii detectoare fixate la 1,5 m distanta pe un stâlp vertical. Cele doua detectoare sunt cuplate în serie ele masurând diferenta de intensitate magnetica. Aparatul este folosit de catre arheologii din scoala de la Institutul Politehnic din Milano.
2.3.5.3 Detectoarele de mine sau metale. Aceste aparate au fost inventate în al doilea razboi mondial. Ele au la baza principiul schimbarii câmpului magnetic dintr-o bobina în forma de potcoava. Acestea detecteaza toate obiectele de metal (schimba magnetismul bobinei). Profunzimea pâna la care actioneaza depinde de puterea aparatului, marimea bobinei si alti parametri.
Alte detectoare mai putin utilizate sunt detectoarele cu radiofrecventa, magnetometrele cu rubin, cesium, (masuratori la Divostin, Serbia, Vinca C) s.a. Mai sunt si alte metode inductiv electromagnetice constând din ondularea liniilor echipotentiale, de înalta frecventa. Existenta unor anomalii din sol, determinate de corpuri conductoare (obiecte de metal, gropi cu carbune si apa), poate fi sesizata si redata grafic.

2.3.6 Magnetometrul cu radiatii gama. Metoda are la baza principiul masurarii densitatii solului. Magnetometrul este format dintr-o sursa de radiatii gama, folosind o sursa radioactiva de Cobalt+60 si un receptor care masoara reflectia radiatiilor. Sursa este asezata cu o înclinatie sub un anumit unghi fata de receptor. Radiatiile emanate de sursa penetreaza diferit straturile de sol care sunt reflectate diferit în functie de densitatea solului si de continutul lui. Metoda are la baza efectul Comton. Aceasta se bazeaza pe efectul bombardarii atomilor cu radiatii gama, radiatii cu neutroni din sursa. Prezenta hidrogenului în sol (în combinatiile cu apa) da în aparenta o mare densitate. Astfel, metoda este posibila în anumite conditii ale umiditatii solului, fiind necesara o anume umiditate constanta, de aceea metoda se recomanda sa fie folosita vara.

Receptorul este un densimetru nuclear conectat la un echipament
electronic ce are o scala nucleara portabila (NMERPORT 537 A)
care înregistreaza intensitatea radiatiilor reflectate.
Receptorul si sursa de radiatii se monteaza pe un sistem portabil cu unghiuri variabile. Distanta dintre sursa si receptor este între 50+100 cm. Distanta si unghiurile depind de natura obiectivelor arheologice ce poate fi reglata cel mai bine experimental. Pentru verificare si etalonare se poate face probe cu sonde pedologice, în zona unor obiective cu densitate medie sau mare. La etalonare urmareste unghiul cel mai potrivit dintre sursa si receptor, în functie de adâncimea obiectivului. Sursa si detectorul se plaseaza la o distanta de cca 20 cm deasupra solului.
Masuratori cu magnetometrul de radiatii gama s-au folosit experimental în statiunile neolitice de la Iclod, Parta, în tumulul de la Tureni si în asezarile, instalatii portuare, cimitire romane, romane târzii si post romane de la Sarmizegetuza sau Capidava.
Spre deosebire de magnetometru cu protoni, magnetometrul cu radiatii gama gama ofera o mai mare precizie în identificarea obiectului, în special la ziduri sau la constructii regulate, din caramida sau piatra, dar si aglomerari de chirpici, ceramica sau obiecte mari (DĂRABAN - CHEREJI - BRATU -MORARU 1988).
2.4. METODE PASIVE
Magnetice si gravimetrice. Acestea au la baza masurarea variatiilor intensitatii în sol a câmpurilor gravitationale a unor obiecte arheologice subterane (HEIZER - GRAHAM 1968, 19). Aceste metode au fost folosite si se refolosesc în prezent, dar numarul specialistilor care le aplica este restrâns. Anumite obiective arheologice mari (statui megalitice sau menhiri, blocuri uriase de piatra, obeliscuri) au un câmp gravitational care provoaca microcurenti în sol între diferite asemenea piese mari.
Masurarea acestuia permite extragerea unor interesante ipoteze. Aceste câmpuri magnetice sau electromagnetice au fost sesizate si au fost folosite pentru efectele curative.
Unele din aceste metode permit stabilirea unor orientari sau deviatii magnetice sau gravimetrice pe baza carora se pot lansa unele ipoteze îndraznete privind folosirea sensibilitatilor paranormale ale unor indivizi sau grupuri.
Asemenea ipoteze au fost lansate si se studiaza în legatura cu monumentele megalitice din Anglia legate de sanctuarul de la Stonehenge sau de alte constructii megalitice.
3. METODE sI TEHNICI MODERNE DE DATARE. DATĂRILE ABSOLUTE

stiintele naturale au pus la dispozitie
arheologiei numeroase metode de datare absoluta si relativa.
Dintre aceste metode amintim: metoda varvelor, metoda dendrocronologica,
metoda termoluminiscentei, metoda potasiu - argon, metoda C14, metoda
fluorologica s.a.
Aceste metode sunt folosite împreuna pentru calibrari si recalibrari, pentru corectarea si verificarea datelor. Primele metode sunt folosite, mai ales, pentru epoca paleolitica.
Metodele moderne de datare absoluta au fost determinate de rezultatele experientelor cu unul din izotopii carbonului radioactiv (C14) facute de Willard Libby si Aristide V. Grosse. Acestea au stimulat dezvoltarea datarilor absolute ale materialelor preistorice. Ulterior ele s-au aplicat si la materiale din perioade istorice pentru pulsul de exactitate pe care îl dau, uneori, datarilor.
|