|
| |||||||||||||||||||||||||||||||||||||||||||||||||||||||||||||||||||||||||||||||||||||||||||||||||||||||||||||||||||||||||||||||||||||||||||||||||||||
|
MANUAL DE MONTAJ INSTALATII DE INCALZIRE SOLARA www.instalatiisolare.ro |
- INSTALATII DE INCALZIRE SOLARA - EDITIA a II - a |
||||||||||||||||||||||||||||||||||||||||||||||||||||||||||||||||||||||||||||||||||||||||||||||||||||||||||||||||||||||||||||||||||||||||||||||||||||
|
MANUAL DE MONTAJ ECHIPAMENTE PENTRU INSTALATII SOLARE Cuvant Inainte Stimate partener al firmei , Prin prezentarea manualului de montaj, dorim sa va punem la dispozitie un indrumar pentru activitatea dvs. viitoare in domeniul instalatiilor solare. Am ales formatul unei carti de buzunar astfel incat dvs. sa-l aveti permanent la indemana. Speram ca acest manual sa va ajute in rezolvarea problemelor diverse ce pot aparea pe santier. Situatia pe santier se prezinta adesea altfel decat cea planificata, iar montatorul trebuie sa caute posibilitati noi de solutionare. Manualul contine instructiuni de montaj ale producatorilor de colectoare solare precum si date obtinute in urma experientei noastre de montatori de-a lungul a 2 ani de activitate in domeniu. O instalatie solara va da rezultatele asteptate numai daca a fost montata corect. Orientarea spre sud a acoperisului si o inclinatie de cca 450 vor conduce la obtinerea unui randament maxim al instalatiei. Daca dupa parcurgerea acestui manual vor rezulta intrebari fara raspuns in paginile sale, va stam cu placere la dispozitie in cadrul unei discutii directe. A dumneavoastra |
CUPRINS
|
||||||||||||||||||||||||||||||||||||||||||||||||||||||||||||||||||||||||||||||||||||||||||||||||||||||||||||||||||||||||||||||||||||||||||||||||||||
|
INSTALATII SOLARE |
|||||||||||||||||||||||||||||||||||||||||||||||||||||||||||||||||||||||||||||||||||||||||||||||||||||||||||||||||||||||||||||||||||||||||||||||||||||
|
GENERALITATI 1.1. DATE TEHNICE 1.1.1. DATE TEHNICE COLECTOARE SOLARE TIP TUBURI MAZDON
|
||||||||||||||||||||||||||||||||||||||||||||||||||||||||||||||||||||||||||||||||||||||||||||||||||||||||||||||||||||||||||||||||||||||||||||||||||||
|
INSTALATII SOLARE |
INSTALATII SOLARE |
||||||||||||||||||||||||||||||||||||||||||||||||||||||||||||||||||||||||||||||||||||||||||||||||||||||||||||||||||||||||||||||||||||||||||||||||||||
|
1.1.2. DATE TEHNICE COLECTOARE SOLARE TIP PANOURI HELIOSTAR
|
||||||||||||||||||||||||||||||||||||||||||||||||||||||||||||||||||||||||||||||||||||||||||||||||||||||||||||||||||||||||||||||||||||||||||||||||||||
|
INSTALATII SOLARE |
INSTALATII SOLARE |
||||||||||||||||||||||||||||||||||||||||||||||||||||||||||||||||||||||||||||||||||||||||||||||||||||||||||||||||||||||||||||||||||||||||||||||||||||
|
DIMENSIONAREA INSTALATIEI SOLARE Cunoasterea necesarului zilnic de apa calda este o conditie importanta pentru dimensionarea rezervorului de apa calda si respectiv a campului de colectori. Se va face diferentierea intre: * Incalzirea apei menajere; * Incalzirea apei menajere si aport la incalzirea casei; * Incalzirea apei din piscina. Se va acorda atentie la adaosurile la suprafata de colector in cazul devierilor de la conditiile ideale, in cazul umbririlor determinate de diverse obiecte, precum si din cauza necesarului ridicat de apa menajera! 1.2.1. INCALZIREA APEI MENAJERE * Calcularea necesarului de apa calda: O persoana are nevoie de aproximativ 70 litri / zi. * Stabilirea marimii (capacitatii) rezervorului (boilerului): Volumul rezervorului trebuie sa corespunda unui consum zilnic de apa calda de 1,1 - 1,2 ori mai mare decat este necesar (factor de risc). * Stabilirea dimensiunii campului colector (inclinatia colectorului: 45 grade; orientare: sud):
1.2.2. APORT LA INCALZIREA IN PARDOSEALA Aportul instalatiei solare la incalzirea in pardoseala a casei depinde in mare masura de izolatia casei, tipul de incalzire, profitul pasiv de energie solara etc. Simplificat, se poate spune ca la o suprafata locuibila de 180 m2, se poate utiliza un boiler bivalent de 500 l si 60 de tuburi, sau 6 panouri. Pentru o suprafata locuibila de 350 m2, pentru aport la incalzire se utilizeaza un rezervor bivalent de 750 l cu 80 de tuburi, sau 8 panouri. |
1.2.3. INCALZIREA APEI DIN PISCINA Suprafata de absorbtie a colectorului se obtine multiplicand suprafata piscinei (oglinda) cu factorul m = 0,30 - 0,45. Factorul "m" variaza in functie de tipul piscinei: interioara sau exterioara si de acoperirea / neacoperirea ei cu folie protectoare. Se recomanda utilizarea urmatoarelor valori pentru"m":
Exemplu de calcul: Piscina exterioara, neoperita cu folie, cu suprafata de 30 m2. a) Tuburi MAZDON 30 m2 * 0.35 = 10.5 m2 suprafata de absorbtie totala a colectorului solar Numarul de colectoare necesare: 10.5 m2 : 0.1 m2 (suprafata absorbanta / tub) = 105 tuburi Se va lua numarul imediat urmator, multiplu de 10, respectiv 110 tuburi. b) Panouri HELIOSTAR 30 m2 * 0.4 = 12 m2 suprafata de absorbtie totala a colectorului solar Numarul de colectoare necesare: 12 m2 : 1.76 m2(suprafata absorbanta / panou) = 6.8 panouri Se va lua numarul intreg imediat urmator, respectiv 7 panouri. Atentie! Niciodata nu se monteaza instalatia solara numai pentru incalzirea piscinei in aer liber. Prin golirea bazinului in anotimpul rece, instalatia solara ramane neutilizata. Se recomanda instalarea unui al doilea consumator solar, de exemplu un boiler univalent sau bivalent. |
||||||||||||||||||||||||||||||||||||||||||||||||||||||||||||||||||||||||||||||||||||||||||||||||||||||||||||||||||||||||||||||||||||||||||||||||||||
|
TUBURI MAZDON |
TUBURI MAZDON |
||||||||||||||||||||||||||||||||||||||||||||||||||||||||||||||||||||||||||||||||||||||||||||||||||||||||||||||||||||||||||||||||||||||||||||||||||||
|
2. INSTRUCTIUNI PRIVIND MONTAJUL COLECTOARELOR SOLARE 2.1. INSTRUCTIUNI PRIVIND MONTAJUL COLECTOARELOR SOLARE TIP TUBURI MAZDON 2.1.1. SCULE NECESARE LA MONTAJ scara reglabila (minim 4 m); prelungitor cablu electric (minim 30 m; 2,5 mm); franghie (minim 40 m; sarcina minima 150 kg) ; masina de gaurit cu percutie ; set chei fixe (6 - 32 mm); set chei cricket (4 - 24 mm) ; set chei imbus (2 - 12 mm) ; set surubelnite flex cu disc de taiere pentru metal ; chei reglabile (max. 1 ¼'') ; patent izolat ; cleste pt. taiat cablu electric ; cutter ; dispozitiv taiat tevi Cu ; trusa spirale pentru metal si beton ; lampa sudogaz ; cleste 1 ½'' ; trusa carota ; ruleta ; boloboc ; boloboc unghiular ; pompa umplere manuala. ECHIPAMENTELE INSTALATIEI SOLARE : colector MAZDON 20, MAZDON 30 : suporti montare pe acoperis inclinat, ventil aerisire, teaca senzor, doua teuri pentru racord tur - retur, cleme superioare si inferioare pentru fixarea tuburilor, suruburi+piulite+saibe+cleme pentru fixarea colectorului pe suport, pasta termoconductoare suporti pentru inclinare ; tuburi Mazdon (1 cutie=10 tuburi) |
pompa V0 : pompa Grundfos UPS 25/60, automatizare SMT 100, trei senzori, doua racorduri flexibile inox, vas expansiune 18 litri cu suport, debitmetru, supapa siguranta 5 bar, manometru, robinet incarcare, racord flexibil boiler : termometru, ornamente, flanse, picioare boiler camasa boiler MATERIALE DE MONTAJ teava Cu tip Yorkshire (18x1 mm, 22x1 mm, 28x1 mm); izolatie de vata minerala 30 mm grosime, cu folie de aluminiu banda autoadeziva de aluminiu ; fitinguri Cu, alama ; bride metalice cu surub ; supapa siguranta 6 bar ; supapa sens ; canepa, teflon ; pasta verde ; aliaj+pasta lipire ; bureti abrazivi pentru curatat cupru ; vas de expansiune pentru boiler ; dezaeratoare. SCHEME DE MONTAJ Instalatie solara pentru obtinere apa calda menajera - fig. 2.1.1. si fig. 2.1.2. Instalatie solara pentru obtinere apa calda menajera si aport la incalzire - fig. 2.1.3. Instalatie solara pentru obtinere apa calda menajera si incalzire apa din piscina - fig. 2.1.4 |
||||||||||||||||||||||||||||||||||||||||||||||||||||||||||||||||||||||||||||||||||||||||||||||||||||||||||||||||||||||||||||||||||||||||||||||||||||
|
TUBURI MAZDON |
TUBURI MAZDON |
||||||||||||||||||||||||||||||||||||||||||||||||||||||||||||||||||||||||||||||||||||||||||||||||||||||||||||||||||||||||||||||||||||||||||||||||||||
|
Fig. 2.1.1.
Fig. 2.1.2. |
Fig. 2.1.3.
Fig. 2.1.4. |
||||||||||||||||||||||||||||||||||||||||||||||||||||||||||||||||||||||||||||||||||||||||||||||||||||||||||||||||||||||||||||||||||||||||||||||||||||
|
TUBURI MAZDON |
TUBURI MAZDON |
||||||||||||||||||||||||||||||||||||||||||||||||||||||||||||||||||||||||||||||||||||||||||||||||||||||||||||||||||||||||||||||||||||||||||||||||||||
|
2.1.5. ORDINEA OPERATIILOR DE MONTAJ 2.1.5.1. AMPLASAREA BOILERULUI PE POZITIE SI ECHIPAREA ACESTUIA Amplasarea boilerului se recomanda a se face in camera tehnica, in apropierea centralei termice. Pasii ce trebuiesc urmati in vederea echiparii boilerului sunt : montarea picioarelor boilerului ; imbracarea boilerului cu husa speciala cu care acesta este livrat ; aplicarea ornamentelor si fixarea termometrului ; pe turul si returul ambelor serpentine (pe alimentarea cu apa rece, cat si pe iesirea de ACM) se vor prevedea robineti cu holender ; pe alimentarea cu AR se vor monta urmatoarele elemente de siguranta, de la sursa spre boiler: supapa de sens, vas de expansiune, robinet de golire (intre vasul de expansiune si boiler nu se admit elemente de inchidere sau izolare) ; dimensionarea vasului de expansiune al boilerului boiler 300 l - vas expansiune 18 l boiler 400 l - vas expansiune 24 l boiler 500 l - vas expansiune 40 l la iesirea de ACM boilerul va fi prevazut cu o supapa de siguranta de 6 bar ;
Fig. 2.1.5. |
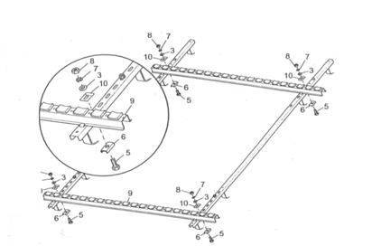
2.1.5.2. MONTAREA SUPORTILOR PE ACOPERIS Se va lua in calcul, la alegerea locului de amplasare a suportilor, traseul ulterior al tevilor de Cu, respectiv locul de strapungere a acoperisului. Se va acorda o atentie deosebita recomandarilor privind protectia muncii pentru lucrari pe acoperisuri. La lucrari pe acoperis se vor folosi centura de siguranta sau schele pentru protectia persoanelor. Pentru o buna functionare, colectorul MAZDON va fi orientat spre SUD si va avea un unghi de inclinare de cca. 350 - 500.
Fig. 2.1.6.
Fig. 2.1.7. |
||||||||||||||||||||||||||||||||||||||||||||||||||||||||||||||||||||||||||||||||||||||||||||||||||||||||||||||||||||||||||||||||||||||||||||||||||||
|
-13 313c224d - |
|||||||||||||||||||||||||||||||||||||||||||||||||||||||||||||||||||||||||||||||||||||||||||||||||||||||||||||||||||||||||||||||||||||||||||||||||||||
|
TUBURI MAZDON |
TUBURI MAZDON |
||||||||||||||||||||||||||||||||||||||||||||||||||||||||||||||||||||||||||||||||||||||||||||||||||||||||||||||||||||||||||||||||||||||||||||||||||||
|
Fig. 2.1.8.
|
|||||||||||||||||||||||||||||||||||||||||||||||||||||||||||||||||||||||||||||||||||||||||||||||||||||||||||||||||||||||||||||||||||||||||||||||||||||
Fig. 2.1.9.

Fig. 2.1.10.
Fig. 2.1.11.
TUBURI MAZDON
TUBURI MAZDON
2.1.5.3. MONTAREA CUTIEI COLECTOARE
Cutia colectoare (11) se prinde in clemele sinelor laterale 4) si se fixeaza cu clema plata (10).
Asigurati-va ca ambele sine portante (9) si cutia colectoare (11) sunt fixate corect una fata de cealalta, apoi strangeti toate imbinarile.

Fig. 2.1.12.

Fig. 2.1.13 313c224d .
DIMENSIONAREA SI POZAREA TEVILOR DE
CUPRU
Pentru un traseu de teava cu lungimea totala (tur - retur) de 30 - 50 m, se recomanda, in functie de numarul de tuburi ale colectorului, urmatoarele diametre de teava:
- pentru 20 - 40 tuburi, teava cupru 18x1 mm
- pentru 50 - 60 tuburi, teava cupru 22x1 mm
- pentru 70 - 150 tuburi, teava cupru 28x1 mm
- pentru 160 - 250 tuburi, teava cupru 35x1 mm
Colectoarele pe baza de tuburi cu vid sunt inseriate cu ajutorul unui sistem de piese "teu" (Fig. 2.1.13 313c224d ).
Racordarea la turul si returul instalatiei se face cu tuburi flexibile. Legarea la tuburile fexibile se face cu piesa "T".
Se va urmari ca traseul de tevi dintre boiler si colector sa fie cat mai scurt si cu cat mai putine schimbari de directie. Se va evita pe cat posibil montajul tevilor in exteriorul casei (pentru diminuarea pierderilor de caldura).
Tevile vor fi consolidate prin intermediul unor bride metalice cu surub si diblu. Acestea vor fi amplasate la distanta de max. 1,5 m una fata de cealalta.
Imbinarea tevilor se va face prin sudura cu aliaj de sudura.
Pentru realizarea unei astfel de imbinari vor fi urmariti urmatorii pasi :
curatarea cu ajutorul buretilor abrazivi pentru cupru a ambelor piese ce trebuiesc sudate ;
aplicarea pastei de lipit uniform pe suprafata ce a fost curatata ;
dupa imbinare, suprafata de lipit va fi incalzita cu ajutorul unei lampi de sudura, pana la atingerea temperaturii de topire a aliajului de sudura ;
aplicarea aliajului de sudura se va face pe toata circumferinta imbinarii;
nu se vor misca elementele sudate pana ce acestea nu s-au racit;
imbinarile vor fi curatate cu o laveta umeda;
se va verifica daca sudura prezinta porozitati.
Atentie! In cazul in care se va constata prezenta porozitatilor, se va relua procesul de sudura.
In zonele in care se pot forma perne de aer vor fi prevazute aerisitoare automate.
Atentie! Cablul senzorului de la colector va fi pozat pe langa conductele izolate de cupru, evitandu-se contactul direct cu acestea.
TUBURI MAZDON
TUBURI MAZDON
2.1.5.5. MONTAREA POMPEI SI A VASULUI DE EXPANSIUNE
pompa se va monta pe returul instalatiei de incalzire solara
pompa si vasul de expansiune se vor monta conform instructiunilor de montaj din cutia pompei. (Fig. 2.1.14.)
dimensionarea vasului de expansiune se face in conformitate cu tabelul de mai jos. Pentru dimensionarea unor sisteme mai mari se va consulta furnizorul de materiale.
|
Numar de tuburi |
Volumul vasului de expansiune, litri |
|
20 - 50 | |
2.1.5.6. MONTAREA AUTOMATIZARII (CABLAJUL ELECTRIC)
se va urmarii schema de montaj a automatizarii din cartea
tehnica a automatizarii.
se va lega obligatoriu la impamantare
functionarea completa a instalatiei se asigura numai cand sunt racordati toti senzorii si toate aparatele (ex. : pompa, vana, etc)
2.1.5.7. INCARCAREA INSTALATIEI CU AGENT TERMIC
Determinanta pentru stabilirea presiunii de lucru a instalatiei este precizarea ca la cota colectoarelor se dispune de o presiune de 1.5 bar in starea de functionare la rece a instalatiei. In mod corespunzator, trebuie avuta in vedere cota statica atunci cand se regleaza presiunea de lucru a instalatiei
Incarcarea instalatiei se face cu ajutorul unei pompe manuale de umplere, pana la obtinerea unei presiuni in sistem de :
p=1.5 + 0.1 x Hinst
unde: Hinst = diferenta de nivel boiler - colector)
Ventilele de aerisire trebuie sa fie deschise.
Incarcarea instalatiei se face dupa umplerea cu apa a boilerului.
Conform datelor tehnice, volumul estimat de agent termic in instalatie, pe componente, este :
- Colector Mazdon 20 0.48 litri
- Colector Mazdon 30 0.78 litri
- Boiler bivalent...........................conf. tabel
|
CAPACITATE BOILER, litri |
POZITIE SERPENTINA |
VOLUM LICHID IN SERPENTINA, litri |
|
SUS | ||
|
JOS | ||
|
SUS | ||
|
JOS | ||
|
SUS | ||
|
JOS |
- 1 m teava Cu Ø 18 x 1 - 0.20 litri
- 1 m teava Cu Ø 22 x 1 - 0.32 litri
- 1 m teava Cu Ø 28 x 1 - 0.53 litri
- 1 m teava Cu Ø 35 x 1 - 0.85 litri
Atentie! Umplerea instalatiei cu agent termic se face dupa incarcarea boilerul cu apa de la retea.
Umplerea cu agent termic a instalatiei in conditii de inghet este interzisa.
Instalatia nu se umple cand soarele este puternic. Este recomandat ca umplerea cu agent termic sa se efectueze in lunile cu radiatie solara mai putin intensa (perioada recomandata: 15 noiembrie - 15 martie).
Este interzisa completarea cu apa sau alti agenti termici a necesarului de lichid din instalatie; nerespectarea acestei interdictii duce la pierderea caracteristicilor agentului termic si mai ales a protectiei anticorozive.
2.1.5.8. IZOLAREA TEVILOR DE CUPRU
Izolarea tevilor se va face numai dupa verificarea etanseitatii sistemului.
Tevile se izoleaza cu cochilii din vata minerala cu banda de aluminiu.
Se vor izola cu banda adeziva din aluminiu tuburile flexibile de la iesirea din cutia colectoare.
Atentie! Nu se folosesc izolatii din burete sau din alte materiale.
TUBURI MAZDON
TUBURI MAZDON
Fig. 2.1.14
2.1.5.9. MONTAREA TUBURILOR MAZDON
Montarea tuburilor cu vid se va face cu pompa circuitului solar in functiune.
Atentie !
La montarea tuburilor vidate purtati in mod obligatoriu manusi si ochelari de protectie pentru a evita raniri la eventuale accidente.
Nu se va exercita presiune mecanica pe corpurile din sticla !
In condensatorul tuburilor vidate este atinsa rapid temperatura de repaos de 13 313c224d 0 0C, la raze solare slabe.
Pentru evitarea arsurilor se va face montarea tuburilor cu circuitul umplut si pompa in functiune, iar condensatorul nu va fi atins.

TUBURI MAZDON
TUBURI MAZDON

Fig. 2.1.16
Montarea tuburilor vidate presupune uramtoarea succesiune de operatii:
* Scoaterea capacului colectorului
Desfaceti suruburile din tabla colectorului.
Rabatati capacul spre inainte si extrageti-l. Indepartati buretii din colector.
* Introducerea pastei termoconductoare
Ungeti (incarcati) curbura profilului conductei colectoare cu pasta termoconductoare.
* Montarea tuburilor
Trageti saiba de cauciuc pe gatul tubului flexibil al condensatorului. Asezati tuburile vidate unul cate unul pe scaunul de cauciuc inferior si impingeti-le din partea de jos in colector. Pozitionati condensatorul in curbura profilului prevazuta in conducta colectorului (scaunul condensatorului). Garnitura din cauciuc de pe gatul racordului flexibil al condensatorului trebuie sa stea netensionata pe carcasa.
* Verificarea contactului condensator-conducta
Verificati contactul bun intre suprafata condensatorului si cea a conductei colectoare.
Sa fiti atenti, de exemplu, sa nu fie prinse marginile peretilor izolatori (buretele) si ca suprafetele sa fie curate.
* Pozitionarea tuburilor
Pozitionati tuburile vidate prin rotire stanga-dreapta astfel incat partea intunecata a placii absorbante sa stea in sus si paralel cu planul colectorului.
* Fixarea tuburilor
Ancorati tuburile cu clemele-semiluna pe sina portanta. Clemele-semiluna de jos, cat si cele de sus trebuie sa cuprinda tuburile si sa fie ancorate in crenelurile sinei portante.
* Asigurarea clemei condensatorului
Abia acum se va strange clema condensatorului cu ajutorul clestelui tip papagal. Acum tubul vidat este asigurat contra rotirii.
Sa nu incercati sa miscati tuburile atat timp cat sunt ancorate !
TUBURI MAZDON
2.1.5.10. REGLAJUL DEBITULUI
Reglajul se face in stare de functionare a instalatiei dupa ce aceasta a fost umpluta si aerisita si pompa de recirculare a fost pornita.
Prestabilirea debitului volumic se face actionand asupra comutatorului cu 3 pozitii al pompei (treptel I - III).
Debitmetrul amplasat sub pompa se regleaza pentru un debit volumic de 0,10 - 0,15 l / min pentru fiecare tub (se considera ca pentru 1 m2 - 10 tuburi, este optim un debit volumic de
1,3 l / min).
Ex.: Daca debitul ales este de 0,1 l /min /tub, atunci
debitul pentru fiecare ramura in serie va fi:
90 tuburi x 0,1 l/min/tub = 9 l/min
Debitul sistemului de 180 tuburi va fi de:
180 tuburi x 0,1 l/min/tub = 18 l/min

2.1.6. VERIFICAREA FINALA A INSTALATIEI
nivelul vidului in panou (citit pe manometrul adaptorului de vid) : 0,9 mbar;
presiunea agentului termic din instalatie (citita la manometrul amplasat langa carcasa pompei) :
min 3 bar;
debitul (citit pe debitmetrul amplasat sub pompa) va fi cel indicat la pct. 2.1.5.10 ; nu sunt admise oscilatii ale niveluli debitului;
automatizarea va indica parametrii setati si cei variabili.
|
AUTORI: Ing. Mihai Croitorescu Ing. Gabriel Marius Sofronie COORDONATOR: Ing. Catalina Vladescu |
||||
|