MINISTERUL EDUCATIEI CERCETARII SI TINERETULUI
GRUPUL SCOLAR „TRAIAN DEMETRESCU”
PROIECT PENTRU OBTINEREA CERTIFICATULUI
DE CALIFICARE PROFESIONALA DE NIVEL 3
CALIFICAREA PROFESIONALA
TEHNICIAN PROIECTANT CAD
TEMA PROIECTULUI
ARGUMENT
Inca de la primele lucrari de anvergura dezvoltate de civilizatii stravechi, a aparut necesitatea exprim 747e48h 59;rii grafice a unor obiecte ce trebuiau realizate. Astfel se poate spune ca radacinile notiunilor moderne de astazi, care fundamenteaza conceptele de CAD/CAM, isi au originea inca din antichitate.
Elemente de grafica inginereasca se pot intalni la toate marile civilizatii antice: cea egipteana, romana, greaca etc. Este unanim recunoscut, de cercetatorii care se ocupa cu istoria reprezentarilor grafice, ca primele desene tehnice din istoria umanitatii pot fi considerate unele reprezentari din criptele egiptene.
Fara a face o prezentare detaliata a evolutiei reprezentarilor de acest gen, primele elemente de grafica inginereasca moderna, se pot intalni in schitele ramase de la Leonardo da Vinci. Ca elemente de noutate el introduce reprezentarea izometrica si reprezentarea hasurata a sectiunilor prin diverse corpuri si an-samble.
O contributie decisiva la dezvoltarea tehnicilor ingineresti de reprezentare a adus-o matematicianul francez Gaspard Monge, care a introdus tehnica reprezentarilor bazate pe proiectii ortogonale. La vremea respectiva (sfarsitul secolului XVIII), ea a fost tinuta in secret de catre factori militari de raspundere, devenind accesibila ingineriei civile abia dupa 30 de ani de la definitivarea ei.
Cele mai spectaculoase progrese in acest domeniu al reprezentarilor grafice ingineresti, s-au inregistrat in a doua jumatate a secolului XX, odata cu introducerea calculatoarelor si a tehnicilor de imprimare si fotocopiere.
Evolutia calculatoarelor digitale programabile, in paralel cu dezvoltarea teoriei algoritmilor, a limbajelor de programare si a metodelor numerice de aproximare, a permis imbinarea notiunilor avansate de geometrie analitica si diferentiala, a notiunilor de analiza matematica si matematici speciale, oferind astfel puterea si facilitatile pe care le au sistemele moderne din ziua de azi.
Primele incercari de folosire a unui calculator programabil la reprezentari grafice s-au facut la inceputul anilor '50 cand in laboratoarele companiei MIT s-au produs imagini simple pe un tub catodic folosind un calculator Wirlwind. Aceste imagini statice si-au gasit utilitatea in rezolvarea unor aplicatii de comanda si control militar. Astfel s-a dat un impuls noilor concepte, aparand si primul periferic de punctare folosit in scopul realizarii dialogului cu masina: creionul optic.
Compania MIT a finalizat astfel primul proiect cu destinatie militara care folosea elemente de grafica interactiva: SAGE - ADS (Semi-Automatic Ground Environment Air Defence System). in paralel cu acest proiect in laboratoarele Servo Mechanisms si Lincoln ale aceleiasi companii s-au facut primele demonstratii de control numeric al unei masini de frezat in trei axe, ceea ce a pus bazele ulterior standardului APT (Automatically Programmed Tools).
La inceputul anilor '60, numeroase companii, printre care si General Motors au inceput sa manifeste interes pentru grafica computerizata. intr-o perioada marcata si de mult scepticism in privinta posibilitatilor de utilizare a calculatoarelor digitale in grafica, piatra de hotar a constituit-o realizarea sketchpad-ului de catre Ivan Sutherland care a demonstrat ca este posibil sa se creeze desene interactive pe un tub catodic si ulterior sa se intervina asupra acestora.
In 1964 General Motors anunta realizarea sistemului DAC-1 (Design Augmented by Computers), din categoria display remote system, dupa care Lockheed Aircraft si Bell Telephone Laboratories realizeaza si ele sisteme echivalente. Aceste sisteme combinau tehnicile interactive cu afisarea pe un tub catodic separat a informatiei, fiind precursoarele asa numitelor sisteme turnkey (sisteme la cheie).
Odata cu acestea din urma, care se prezentau utilizatorului ca un echipament unitar (desi ele inglobau elemente separate de software si hardware, insa putin flexibile), apare pentru prima data si termenul Computer Aided Design -CAD, (tradus in literatura noastra ca Proiectare Asistata de Calculator). Acest lucru nu este intamplator pentru ca deja cei care l-au folosit prima data au intuit ca avantajele oferite de calculatorul digital vor permite mai mult decat o simpla desenare mai eficienta, ca un substitut al muncii la planseta.
in anii 70 s-au creat in Statele Unite primele asociatii profesionale printre care si National Computer Graphics Association, care a avut un rol determinant in realizarea si promovarea standardelor care stau la baza tuturor reprezentarilor grafice si a transmiterii de informatii grafice din ziua de azi. Aceste standarde au pus ordine intr-un domeniu care tindea sa se dezvolte haotic, unde informatiile implementate pe diverse sisteme turnkey erau incompatibile. Acestea evoluasera pana la stadiul ca ofereau utilizatorilor pe langa posibilitati elementare de desenare (drafting) si biblioteci cu elemente predefinite. Unul dintre cele mai apreciate standarde in domeniu, care isi au originea in acea perioada este standardul IGES (Initial Graphics Excange Specification). Dupa dezvoltari succesive, acesta reglementeaza in momentul de fata pe langa structurile de date necesare descrierii entitatilor grafice simple sau complexe si informatii ce descriu corpuri tridimensionale, relatii dintre acestea, concepte abstracte care sunt atasate unui proiect, etc.
In aceasta perioada caracterizata de o marire a flexibilitatii in utilizarea sistemelor de calcul, s-a conturat una dintre cele mai importante grupe de aplicatii ingineresti, cea a programelor de calcul cu elemente finite. Desi initial ele nu au beneficiat de sprijinul aplicatiilor grafice, evoluand o perioada independent.
Progresele obtinute prin utilizarea lor in activitatea de proiectare a fost un puternic stimulent in integrarea mai multor aplicatii ingineresti. Aceasta grupa de aplicatii, care are in spate unul dintre cele mai laborioase aparate matematice utilizate in prezent, a putut apare datorita stabilirii unor forme algebrice echivalente principiilor variationale ce guverneaza diferite fenomene din tehnica. Aceste concepte fundamentate matematic de fapt inca din anii '40. au fost exprimate algoritmic cu sprijinul limbajului de programare Fortran, care a fost special dezvoltat pentru acest gen de aplicatii.
Anii '80 au fost poate cei mai prolifici pentru ingineria computerizata, cand numeroasele cercetari au urmarit sa integreze si sa automatizeze diferitele aspecte ale activitatilor de cercetare-proiectare, executie, prefigurand intreprinderile viitorului ca un ansamblu complex de subsisteme ce interactioneaza strans si care sunt centrate in jurul unui sistem informatic.
In aceasta perioada s-a diversificat considerabil paleta de aplicatii ingineresti, aparand astfel aplicatii de analiza si simulare a mecanismelor si robotilor, pentru proiectarea matritelor de injectie, a sculelor etc. Totodata pentru aplicatiile deja traditionale de grafica inginereasca, s-au imbunatatit continuu si posibilitatile de modelare, pe baza noilor tipuri de curbe si suprafete matematice de tip Coons, Bezier, Gordon, B-spline, care au fost special elaborate pentru reprezentari computerizate.
La sfarsitul anilor '80 teoria modelarii cu solide era deja bine conturata, indeplinind unul dintre cele mai dificile deziderate ale oricarui proiectant: vizualizarea cu rigoare matematica a unui corp tridimensional care nu exista decat in mintea unei persoane si posibilitatea ca alte persoane sa aiba acces direct la aceasta reprezentare si sa intervina in diferite moduri asupra ei. in momentul aparitiei lor, datorita volumului mare de calcule necesare, aplicatiile de acest gen erau implementate numai pe sisteme cu performante de varf, deosebit de costisitoare.
Datorita acestor evolutii a fost posibila integrarea aplicatiilor de grafica cu programele de analiza cu element finit, ceea ce a simplificat si imbunatatit considerabil activitatea de proiectare. Acest pas a fost primul de la CAD ca o activitate independenta la CAD ca un ansamblu de activitati si resurse care schimba informatii si comunica intre ele.
Aceste concepte au permis aparitia unor noi grupe de aplicatii ingineresti, cele destinate arhitecturii si cadastrului. Ele au impus elaborarea unor noi tipuri de algoritmi pentru reprezentarea realista a obiectelor tridimensionale, cu controlarea proprietatilor de material, a conditiilor de iluminat etc.
Dezvoltarea continua a limbajelor de programare, in special prin impunerea limbajului C pentru dezvoltarea de aplicatii profesionale, a permis la inceputul anilor '90 modificari substantiale ale interactivitatii aplicatiilor, calitatii reprezentarilor si integrarii aplicatiilor. Ca o completare fireasca s-au dezvoltat aplicatiile care permit animarea unor modele tridimensionale, pe baza noilor posibilitati oferite de tehnologiile multimedia. Aceste aplicatii au schimbat modul in care se prezinta un produs, cum se face instruirea personalului de service s.a.m.d.
Concomitent s-au dezvoltat asa numitele tehnologii de rapid prototyping, care au permis obtinerea intr-un interval de cateva ore de la finalizarea modelului virtual in calculator, a unui prototip real, cu caracteristici foarte apropiate de cele ale viitorului produs.
Astfel daca in 1964 s-a pornit de la Design Augmented by Computers (proiectare imbunatatita, dezvoltata cu calculatoare), cand practic se facea o automatizare a activitatii de planseta, s-a ajuns in aceasta perioada sa se contureze o intreaga arie de activitati care fac obiectul conceptului de CAD. Elementul de legatura intre toate aceste activitati il constituie modelul tridimensional, care odata definitivat in etapele succesive ale acestui concept este transmis mai departe in celelalte zone functionale. in acest context activitatile din aria CAD pot accesa informatii care nu sunt de natura inginereasca (cum ar fi stocuri de produse, furnizori de materii sau subansamble etc).
Vizualizare 2D
Vedere din fata
1. Realizarea liniilor ce contureaza corpul
: circle
2Point/3Point/RadTanTan/Arc/Multiple/<Center of circle>: 0,0
Diameter/<Radius> <18.000>: d
Diameter of circle <36.000>: 16
: arc
ENTER to use last point/Center/Follow/<Start of arc>: -15,0
Angle/Center/Direction/End/Radius/<Second point>: 0,15
End point: 15,0
: line
ENTER to use last point/Follow/<Start of line>: 15,0
Angle/Length/<End point>: 15,-17
: line
ENTER to use last point/Follow/<Start of line>: -15,0
Angle/Length/<End point>: -15,-23
: pl
ENTER to use last point/Follow/<Start of polyline>: -34,-43
Arc/Distance/Follow/Halfwidth/Width/<Next point>: -4,-43
Arc/Distance/Follow/Halfwidth/Width/Undo/<Next point>: -4,-32
Arc/Close/Distance/Follow/Halfwidth/Width/Undo/<Next point>: 47,-32
Arc/Close/Distance/Follow/Halfwidth/Width/Undo/<Next point>: 47,-43
Arc/Close/Distance/Follow/Halfwidth/Width/Undo/<Next point>: 82,-43
Arc/Close/Distance/Follow/Halfwidth/Width/Undo/<Next point>: 82,-23
Arc/Close/Distance/Follow/Halfwidth/Width/Undo/<Next point>: 53,-23
Arc/Close/Distance/Follow/Halfwidth/Width/Undo/<Next point>: 53,-17
Arc/Close/Distance/Follow/Halfwidth/Width/Undo/<Next point>: 7,-17
Arc/Close/Distance/Follow/Halfwidth/Width/Undo/<Next point>: 7,-23
Arc/Close/Distance/Follow/Halfwidth/Width/Undo/<Next point>: -34,-23
Arc/Close/Distance/Follow/Halfwidth/Width/Undo/<Next point>: c
: line
ENTER to use last point/Follow/<Start of line>: 67,-23
Angle/Length/<End point>: 67,-17
Angle/Length/Follow/Undo/<End point>: -7,-17
Angle/Length/Follow/Close/Undo/<End point>: -7,-23
Angle/Length/Follow/Close/Undo/<End point>:
: line
ENTER to use last point/Follow/<Start of line>: -29,-23
Angle/Length/<End point>: -29,-43
Angle/Length/Follow/Undo/<End point>:
Cancel
: offset
Parallel: Through point/<Distance> <10.000>:
Select entity: *se selecteaza linia anterior creata*
Both sides/<Side for parallel copy>: *se da un click in dreapta liniei*

: pl
Start of polyline: 82,-105.91
Arc/Distance/Halfwidth/Width/<Next point>: 82,-172.91
Arc/Distance/Follow/Halfwidth/Width/Undo/<Next point>: -34,-172.91
Arc/Close/Distance/Follow/Halfwidth/Width/Undo/<Next point>: -34,-105.91
Arc/Close/Distance/Follow/Halfwidth/Width/Undo/<Next point>: c
: fillet
Fillet (radius=10.000): Settings/Polyline/<Select first entity>: r
Fillet radius <10.000>: 10
Fillet (radius=10.000): Settings/Polyline/<Select first entity>: 1
Directional/Select second entity: 2
1 vertex was filleted.
:fillet
Fillet (radius=10.000): Settings/Polyline/<Select first entity>: 3
Directional/Select second entity: 4
:
:fillet
Fillet (radius=10.000): Settings/Polyline/<Select first entity>: 5
Directional/Select second entity: 6
:
:fillet
Fillet (radius=10.000): Settings/Polyline/<Select first entity>: 7
Directional/Select second entity: 8
Opposite corner:

: circle
2Point/3Point/RadTanTan/Arc/Multiple/<Center of circle>: -24,-161.91
Diameter/<Radius>: d
Diameter of circle: 10
: circle
2Point/3Point/RadTanTan/Arc/Multiple/<Center of circle>: -24,-116.91
Diameter/<Radius> <5.000>: d
Diameter of circle <10.000>: 10
: circle
2Point/3Point/RadTanTan/Arc/Multiple/<Center of circle>: 72,-116.91
Diameter/<Radius> <5.000>: d
Diameter of circle <10.000>: 10
:
:circle
2Point/3Point/RadTanTan/Arc/Multiple/<Center of circle>: 72,-161.91
Diameter/<Radius> <5.000>: d
Diameter of circle <10.000>: 10
:
Cancel
: c
2Point/3Point/RadTanTan/Arc/Multiple/<Center of circle>: 30,-142.91
Diameter/<Radius> <5.000>: d
Diameter of circle <10.000>: 74
:
Cancel
: trim
Select cutting entities for trim <ENTER to select all>:
Using all entities as trim boundary.
Edge mode/Fence/Projection/<Select entity to trim>:
Edge mode/Fence/Projection/Undo/<Select entity to trim>:
: circle
2Point/3Point/RadTanTan/Arc/Multiple/<Center of circle>: 30,-142.91
Diameter/<Radius> <37.000>: d
Diameter of circle <74.000>: 46
: pl
ENTER to use last point/Follow/<Start of polyline>: -15,-105.91
Arc/Distance/Follow/Halfwidth/Width/<Next point>: -15,-76.91
Arc/Distance/Follow/Halfwidth/Width/Undo/<Next point>: 15,-76.91
Arc/Close/Distance/Follow/Halfwidth/Width/Undo/<Next point>: 15,-105.91
Arc/Close/Distance/Follow/Halfwidth/Width/Undo/<Next point>:
: line
ENTER to use last point/Follow/<Start of line>: -15,-94.91
Angle/Length/<End point>: 15,-94.91
Angle/Length/Follow/Undo/<End point>:
Cancel
: trim
Select cutting entities for trim <ENTER to select all>:
Using all entities as trim boundary.
Edge mode/Fence/Projection/<Select entity to trim>:
Edge mode/Fence/Projection/Undo/<Select entity to trim>:
2. Dimensionarea piesei.
Command: _dimdiameter
Select arc or circle:
Dimension text = 16
Command: _dimdiameter
Select arc or circle:
Dimension text = 30
Command: _dimlinear
Specify first extension line origin or <select object>:
Specify second extension line origin:
Specify dimension line location or
[Mtext/Text/Angle/Horizontal/Vertical/Rotated]:
Dimension text = 34
Command: _dimlinear
Specify first extension line origin or <select object>:
Specify second extension line origin:
Specify dimension line location or
[Mtext/Text/Angle/Horizontal/Vertical/Rotated]:
Dimension text = 43
Command: _dimlinear
Specify first extension line origin or <select object>:
Specify second extension line origin:
Specify dimension line location or
[Mtext/Text/Angle/Horizontal/Vertical/Rotated]:
Dimension text = 30
Command: _dimlinear
Specify first extension line origin or <select object>:
Specify second extension line origin:
Specify dimension line location or
[Mtext/Text/Angle/Horizontal/Vertical/Rotated]:
Dimension text = 51
Command: _dimlinear
Specify first extension line origin or <select object>:
Specify second extension line origin:
Specify dimension line location or
[Mtext/Text/Angle/Horizontal/Vertical/Rotated]:
Dimension text = 15
Command: _dimlinear
Specify first extension line origin or <select object>:
Specify second extension line origin:
Specify dimension line location or
[Mtext/Text/Angle/Horizontal/Vertical/Rotated]:
Dimension text = 20
Command: _dimlinear
Specify first extension line origin or <select object>:
Specify second extension line origin:
Specify dimension line location or
[Mtext/Text/Angle/Horizontal/Vertical/Rotated]:
Dimension text = 26
Command: _dimlinear
Specify first extension line origin or <select object>:
Specify second extension line origin:
Specify dimension line location or
[Mtext/Text/Angle/Horizontal/Vertical/Rotated]:
Dimension text = 30
Command: _dimlinear
Specify first extension line origin or <select object>:
Specify second extension line origin:
Specify dimension line location or
[Mtext/Text/Angle/Horizontal/Vertical/Rotated]:
Dimension text = 18
Command: _dimlinear
Specify first extension line origin or <select object>:
Specify second extension line origin:
Specify dimension line location or
[Mtext/Text/Angle/Horizontal/Vertical/Rotated]:
Dimension text = 11
Command: _dimlinear
Specify first extension line origin or <select object>:
Specify second extension line origin:
Specify dimension line location or
[Mtext/Text/Angle/Horizontal/Vertical/Rotated]:
Dimension text = 96
Command: _dimradius
Select arc or circle:
Dimension text = 5
Specify dimension line location or [Mtext/Text/Angle]:
Command: _dimradius
Select arc or circle:
Dimension text = 10
Specify dimension line location or [Mtext/Text/Angle]:
Command: _dimdiameter
Select arc or circle:
Dimension text = 46
Command: _dimdiameter
Select arc or circle:
Dimension text = 74
Command: _dimlinear
Specify first extension line origin or <select object>:
Specify second extension line origin:
Specify dimension line location or
[Mtext/Text/Angle/Horizontal/Vertical/Rotated]:
Dimension text = 54
Command: _dimlinear
Specify first extension line origin or <select object>:
Specify second extension line origin:
Specify dimension line location or
[Mtext/Text/Angle/Horizontal/Vertical/Rotated]:
Dimension text = 42
Command: _dimlinear
Specify first extension line origin or <select object>:
Specify second extension line origin:
Specify dimension line location or
[Mtext/Text/Angle/Horizontal/Vertical/Rotated]:
Dimension text = 116
Command: _dimlinear
Specify first extension line origin or <select object>:
Specify second extension line origin:
Specify dimension line location or
[Mtext/Text/Angle/Horizontal/Vertical/Rotated]:
Dimension text = 67
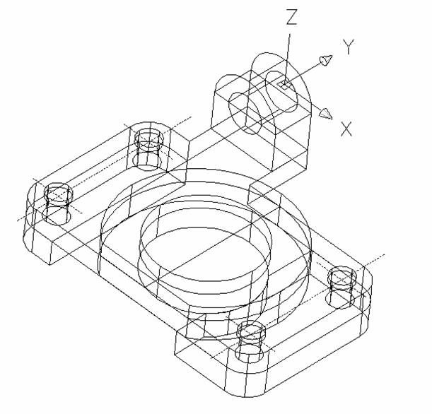
3. Proiectare 3D
Command: extrude
Current wire frame density: ISOLINES=4
Select objects: Se selecteaza toata piesa
Specify height of extrusion or [Path]: -9
Specify angle of taper for extrusion <0>:
Command: extrude
Current wire frame density: ISOLINES=4
Select objects *se selecteaza cele doua cercuri cu diametre de 74 respectiv 46*
Specify height of extrusion or [Path]: 6
Specify angle of taper for extrusion <0>:

fig. 3
Command: extrude
Current wire frame density: ISOLINES=4
Select objects: *se selecteaza dreptungiul din fig 4*
Specify height of extrusion or [Path]: 17
Specify angle of taper for extrusion <0>:
Command: ucs
Current ucs name: *TOP*
Enter an option [New/Move/orthoGraphic/Prev/Restore/Save/Del/Apply/?/World]
<World>: x
Specify rotation angle about X axis <90>: 90
Command: circle
CIRCLE Specify center point for circle or [3P/2P/Ttr (tan tan radius)]: 14.92,17
Specify radius of circle or [Diameter] <15.0000>: d
Specify diameter of circle <30.0000>: 16
Command: arc
Specify start point of arc or [Center]:-0.08,17
Specify second point of arc or [Center/End]: 14.92,32
Specify end point of arc: 29.92,17
Command: extrude
Current wire frame density: ISOLINES=4
Select objects: *se selecteaza arcul si cercul anterior creat*
Specify height of extrusion or [Path]: -18
Specify angle of taper for extrusion <0>:[enter]

fig. 4
Command: ucs
Current ucs name: *NO NAME*
Enter an option [New/Move/orthoGraphic/Prev/Restore/Save/Del/Apply/?/World]
<World>: x
Specify rotation angle about X axis <90>: -90
Command: extrude
Current wire frame density: ISOLINES=4
Select objects: *se selecteaza liniile din fig. 5*
Specify height of extrusion or [Path]: -11
Specify angle of taper for extrusion <0>:

fig. 5


5. Norme de protectia muncii in timpul
lucrului cu calculatorul
Se pot enumera cateva dintre problemele de sanatate cauzate de
lucrul cu calculatorul:
oboseala
slabirea vederii
probleme cu spatele
dureri de umeri
dureri de cap.
In aceasta categorie sunt cuprinse acele elemente care duc la crearea unui mediu sanatos de lucru, si anume:
pastrarea unei distante optime fata de monitor (recomandat 60 de cm), pentru a
evita afectarea ochilor;
pozitionarea adecvata a monitorului, mouse-ului si tastaturii;
utilizarea unor scaune reglabile;
distanta adecvata pentru genunchi si coapse de
la birou la terminal;
tastatura ergonomica cu un design ce permite o
pozitionare corecta a mainilor;
luminozitate si aerisire buna a incaperii;
pauze de 10 minute dupa fiecare 50 de
minute in fata calculatorului;
antebratele
si coapsele trebuie sa fie orizontale, coatele apropiate de corp astfel incat
sa formeze un unghi de 90° cu antebratul. Spatele se tine drept si
talpile sprijinite in intregime pe podea;
degetele
se tin usor curbate pe tastatura iar tastele se ating usor, far a
brutalitate;
ecranul
monitorului se va curata eliminandu-se orice pata, reflexie sau
stralucire. Contrastul si luminozitatea monitorului se vor regla
convenabil. Se vor elimina sursele de zgomot.
cablurile
de alimentare sa fie bine reglate si protejate;
dotarea ferestrelor cu
jaluzele pentru a evita stralucirea sau reflexia luminii;
asigurarea existentei unei
surse de lumina pentru a evita oboseala ochilor;
Intreruperi frecvente ale lucrului la calculator (se recomanda privitul unei plante sau iesirea la aer curat).
BIBLIOGRAFIE
1. BRANA, M., CENTEA, D., LIHTETCH1, I., CIIALAPCO, V. AutoCAD. Ghid practic. Vol. I-2D. Editura Tehnica, Bucuresti 1994. ISBN973-31-0660-7.
2. COHN’ S, D. AutoCAD ® 14 Essentials. A concise reference A ddison- Wesley Longman, Inc., 1999.
3. DOGARIU, M, LIHTETCHI I., VELICU, D., s.a. Desen tehnic industrial. Partea I-a si Partea a Il-a. Universitatea 'Transilvania' Brasov, 1990.
4. DUICU, S.S, Computer Graphics 2D, Editura universitatii Transilvania, Brasov, 2004, ISBN 973-635-320-6.
5. FINKELSTEIN, E. AutoCAD 2004. Editura Teora, Bucuresti, 2004.
6. HARRINGTON, D. AutoCAD 2005. Editura Teora, Bucuresti, 2005.
7. LIHTETCHI, I., s.a. Grafica pe calculator (curs pentru sectiile de ingineri cu profil electric si mecanic). Universitatea 'Transilvania' Brasov, 1996.
8. LIHTETCHI, I. Infografica tehnica. Culegere de lucrari. Editura Universitatii 'Transilvania' din Brasov, 2005, ISBN 973 -635-558-6.
IVAN, M.C. Grafica industriala asistata de calculator. Procesoare CAD pentru proiectare de repere si de ansamblu. Editura Universitatii „ Transilvania' Brasov, 2002. ISBN
PAUNESCU, R. Outils pour le dessin et la conception mecanique assistee par ordinateur. Editura Universitatii „Transilvania” Brasov, 2005 ISBN 973 – 635 – 489 – X.
11. PAUNESCU, R. Grafica asistata de calculator. Curs si aplicatii pentru invapamant la distanta. Editura Universitatii 'Transilvania' din Brasov, 2003.
12. SIMION, I. AutoCAD 2004 pentru ingineri. Editura Teora, Bucuresti, 2004.
13. STANCESCU, C. AutoCAD. Manual de initiere. Editura FAST Impex, Bucuresti, 1993.
14. TALU, ST. Reprezentari grafice asistate de calculator. AutoCAD 2000. Editura 'Osama ' Cluj-Napoca, 2001.
15. URDEA, M., PAUNESCU, R. 'Grafica asistata 2D - 3D. Curs si aplicatii. AutoCAD - SolidWORKS'. Editura Universitatii „ Transilvania' Brasov, 2005.
ISBN 973-635-477-6.
|