ARBORI, OSII, PIVOTI SI FUSURI
Miscarea cea mai frecvent intalnita in functionarea sistemelor tehnice este cea de rotatie. Ea se realizeaza prin intermediul organelor miscarii de rotatie care pot fi:
-de forta (arbori, osii) ;
-de cuplare (cuplaje) ;
-de sustinere si ghidare (lagare).
Arborii sunt organe de masini care transmit miscarea de rotatie si momentul de torsiune organelor cu care sunt asamblati prin solidarizare, prin articulare sau prin cuplare si care se caracterizeaza printr-o axa de rotatie.
Osiile sunt organe de masini care sustin alte organe ale miscarii de rotatie (scripeti, roti de transmisie, roti de rulare), fara sa transmita momente de torsiune (fig 6, fig 7).
Fig 6 - osie rotitoare folosita la boghiurile vagoanelor.
Fig 7 - scripete ( 1 - osie fixa ; 2 - roata de cablu)
Ø &n 151e46b bsp; Calculul arborilor
Ø &n 151e46b bsp; Calculul osiilor
· &n 151e46b bsp; Calculul de dimensionare
· &n 151e46b bsp; Fusuri intermediare
Ø &n 151e46b bsp; Dupa directia fortelor in raport cu axa de rotatie
· &n 151e46b bsp; Fusuri radiale (fig 10 a, b, c, d)
· &n 151e46b bsp; Fusuri axiale (fig 10 e, f, g, h, i)
· &n 151e46b bsp; Fusuri radial - axiale (fig 10 j, k)
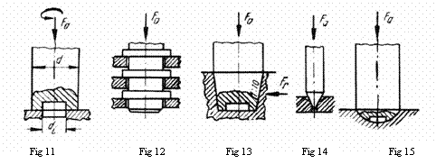
Pivotii sunt fusuri axiale sau axial - radiale, la care forta principala din lagar este paralela cu axa de rotatie.
Acestia pot avea diferite forme :
- Cilindrica inelara (fig 11)
- Gulerata (fig 12)
- Tronconica scobita (fig 13)
- Conica (fig 14)
- Convexa (fig 15)
Fusurile si pivotii sunt confectionati din acelasi material cu arborii sau osiile carora le apartin.
Se recomanda o prelucrare cat mai buna a suprafetelor fusurilor, astfel incat sa se asigure o aderenta cat mai buna a lubrifiantului.
Imbunatatirea caracteristicilor fizice si mecanice ale acestor zone se poate realiza prin:
-aplicarea unor tratamente mecanice, termice sau termochimice;
-aplicarea pe suprafata fusului a unei pelicule subtiri de material plastic, care prezinta caracteristici deosebite de rezistenta la presiunea de contact, uzura si aderenta.
1. Alegeti denumirea corecta a pivotilor din imagine :
-pivot gulerat (fig 3)
-pivot conic (fig 1)
-pivot convex (fig 2)

2. Calculul de dimensionare al arborilor se face pe baza conditiei de rezistenta la :
a) incovoiere b) torsiune c) intindere d) solicitari termice
3. Fusurile asigura transmiterea sarcinilor de la arbore catre lagar.
A F
|