Contributii privind realizarea unui opritor de flacari tip fagure de constructie speciala
Opritoarele de flacari sunt echipamente stationare folosite pentru a impiedica propagarea unor flacari sau patrunderea unor scantei intr-o incinta tehnologica de tip conducta, rezervor, gazometru, cisterna etc. Principiul lor de functionare are la baza mecanismul stingerii flacarilor la patrunderea in canalele inguste, de stingere (de laminare).
In principal, eficacitatea tehnologica a opritoarelor de flacari depinde de diametrul asa-ziselor canale de stingere, fiind mai putin influentata de lungimea canalelor respective. Totusi, in cazul opritoarelor de flacari prin care trebuie sa treaca o cantitate mai mare de produse de ardere, lungimea canalelor de stingere poate avea o semnificatie determinata.
Opritoarele de flacari pot fi clasificate dupa urmatoarele criterii:
Prezentarea actualelor opritoare de flacari
Fig. 2. Caseta opritorului de flacari: 1 - inelul superior al casetei; 2 - grila superioara; 3 - grila inferioara; 4 - inelul inferior al casetei; 5 - element distantier; 6 - piulita; 7 - prezon.
Calculul tehnologic si de proiectare al unui nou tip de opritor de flacari tip fagure de constructie speciala
Conceperea si proiectarea noului tip de opritor de flacari tip fagure de constructie speciala montat pe conducta de facla s-a realizat considerand:
datele tehnologice furnizate de I.P.I.P. S.A. Ploiesti;
utilizarea pentru reperele cu rol functional a rezolvarilor existente si verificarea lor practica;
realizarea regimului de viteze prin opritor identice opritoarelor standard;
acomodarea debitului de descarcare maxim al conductei de facla la debitele creditate pentru grilele standard folosite (grilele de la opritoarele Dn 200);
pentru montarea si exploatarea acestor opritoare de flacari tip fagure se vor respecta indicatiile din caietul de sarcini pentru opritoarele tip U.P.G. Ploiesti.
Datele necesare realizarii calculului de dimensionare tehnologic sunt:
debitul de gaze prin conducta de facla QT = 60000 m3/h;
diametrul grilei de la opritorul de flacari standard Dn 200 este DIG = 0,254 m;
viteza medie de trecere a gazelor prin grila, conform [3], wm = 14,0 m/s;
conducta de facla are diametrul nominal Dn 400.
Aria unitara a grilei de la opritorul de flacari standard se determina conform relatiei:
(1)
Debitul de gaze prin opritorul de flacari va fi:
(2)
Aria ocupata de toate grilele ce se vor monta pe opritorul de flacari, va fi:
(3)
Numarul necesar de grile standard pe opritor, va fi:
(4)
Numarul de grile ce se vor monta pe un rand:
(5)
unde:
nR = 4,0, este numarul ales de randuri.
Lungimea circumferintei corpului port grile:
(6)
unde:
ss - este distanta dintre doua cordoane de sudura.
Se alege ss = 0,04 m (7)
Diametrul necesar al corpului port grile, va fi:
(8)
Corpul port grile se va executa din teava standardizata conform SR ISO 4200, care are diametrul exterior De = 610 mm, grosimea s = 6,35 si diametrul interior Di = 597,30 mm.
Diametrul interior al corpului opritorului de flacari se determina cu relatia:
(9)
Corpul opritorului de flacari se va executa din teava standardizata conform
SR ISO 4200, care are diametrul
exterior standardizat
, grosimea
si diametrul interior
.
Restul dimensiunilor se aleg constructiv.
Conceperea unui nou tip de opritor de flacari tip fagure de constructie speciala
Avand in vedere conditiile in care gazele trec prin conducta cu diametrul nominal Dn 400 ce duce la facla, se propune o solutie constructiva de opritor de flacari tip fagure special ce se va monta pe aceasta conducta.
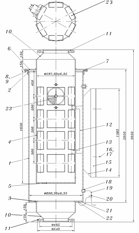
Noul tip de opritor (fig. 3) se compune din corpul opritorului (1) ce are flansa (2) si capacul (3). Sustinerea grilelor este realizata de corpul port grile (4) avand fundul (5) si flansa de sustinere (6) ce asigura etanseitatea prin garnitura (7). Pentru fixarea corpului port grile (4) la corpul opritorului (1) sunt folosite suruburile M12 (8) si piulitele M12 (9). Reductiile Dn 600 la Dn 400 (10) si flansele Pn 6, Dn 400 (11) asigura posibilitatea montarii opritorului de flacari pe conducta de facla. Sustinerea opritorului pe structura de sustinere (stalp) este asigurata de creasta (12), saua (13), crestele suport (14), cornierele talpa (15), suruburile de prindere (16) si piulitele (17). Scurgerea condensului rezultat se face prin mufa de 1" (18), teava de 1" (19) si ventilul (20) de scurgere protejat de lantul de siguranta (21) cu lacatul (22). Gazele spre facla trec prin casetele (23), (fig. 2), ce sunt in numar de 24 asezate pe patru randuri (fig. 3). Acestea sunt grilele standard utilizate la opritoarele de flacari Dn 200 tip U.P.G. Ploiesti.
Noul tip de opritor de flacari (fig. 3), se realizeaza in constructie sudata utilizand urmatoarele materiale:
pentru casete, grilele se vor executa din banda de otel inoxidabil h x s = 10 x 0,2 mm
semicorpurile casetelor din aluminiu turnat;
pentru elementele tubulare, tevi din otel carbon standardizate conform SR ISO 4200;
pentru restul reperelor, table si profile standardizate;
pentru racorduri, flanse plate din otel Pn 6, Dn 400;
pentru protectia anticoroziva la interiorul si exteriorul orpitorului de flacari se va folosi vopsea speciala recomandata de "Intreprinderea Anticoroziva" Bucuresti

Fig. 3. Opritor de flacari tip fagure
Pavel, A., Voicu, I., Dumitru, Gh., Nicolae, V. Inginerie mecanica in petrochimie, vol. II, Editura Universitatii din Ploiesti, 2001.
Italon, Th. Echipamentul respirator al rezervoarelor atmosferice, stand pentru studiul experimental, Lucrarea de laborator nr. 5, I.P. Ploiesti, 1973.
Iordache, Gh, s.a. Utilajul industriei chimice si petrochimice, Editura Didactica si Pedagogica, Bucuresti, 1982.
|