ALTE DOCUMENTE
|
||||||||||
Diagnosticarea generala - motor
3.2.1. Diagnosticarea, dupa putere
Trei sunt procesele prin care se poate executa diagnosticarea motorului dupa puterea efectiva: prin determinarea directa a puterii, prin suspendarea functionarii cilindrilor si prin metoda accelerarii.
3.2.1.1. Stabilirea directa a puterii efective
Stabilirea directa a puterii efective a motorului se bazeaza pe masurarea puterii la roata Pr cu ajutorul standurilor cu rulouri.
Dependenta dintre aceasta marime si puterea efectiva nominala P^n se face prin intermediul randamentului transmisiei t]tn a unor coeficienti care tin seama de abaterile in procesul de fabricatie Cj-si, respectiv, de uzura normala produsa in exploatare Ce, astfel incat:
Cf = 0,95 1,0,
Cr = 0,85 0,9,
ηtr = 0,88 0,92 pentru autoturisme si
ηtr = 0,82 0,88 pentru camioane.
Asadar:
Pr = (0.65 0.78) Pen ,
adica la un automobil cu stare tehnica buna, la roata ajunge numai cota din puterea efectiva nominala, indicata de fabrica constructoare, precizata de relatia precedenta. Daca valoarea puterii la roata Pr determinata pe standul cu rulouri se incadreaza in limitele indicate de relatie, inseamna ca motorul este bun. in caz contrar, si daca s-a verificat ca transmisia este in stare buna, este necesara diagnosticarea motorului pe elemente.
Dupa cum se poate constata din cele de mai sus, procedeul, fiind bazat pe valorile generale statistice ale factorilor mentionati, are un grad de precizie precar, masurarea exacta a valorilor acestor factori nefiind practic posibila.
3.2.1.2. Diagnosticarea in regim variabil
Determinarea puterii efective a motorului se poate face cu mai multa exactitate folosind rezistentele intime ale motorului (frecari, pierderi prin pompaj, antrenarea organelor si instalatiilor auxiliare ale motorului, inertia pieselor) atunci cand motorul functioneaza in gol. Se deosebesc doua procedee de acest fel diferentiate intre ele prin regimul de viteza al motorului la care se efectueaza testarea: la turatie variabila (regim variabil) si la turatie costanta (regim stabilizat).
'La primul procedeu exista doua variante: la una dintre ele motorul este incercat la mersul in gol cu toti cilindrii in functiune iar la cealalta cu un singur cilindru, ceilalti fiind inactivi. La ambele variante se observa ca tot ce produce motorul accelerat in gol se consuma pentru invingerea inertiei si acoperirea pierderilor sale interne, deci se poate scrie ca:
Pig = Pa + Pr
in care:
Pig = puterea indicata la mersul in gol,
Pa = puterea necesara pentru invingerea inertiei pieselor mobile ale
motorului, ambreiajului si arborelui primar al cutitei de viteze,
Pe = puterea corespunzatoare rezistentelor interne din motor.
Se mai observa ca in cazul cercetat puterea efectiva a motorului Peg se consuma numai pentru invingerea inertiei, deci:
Pa= Peg
Transpunand bilantul de puteri in unitati de cuplu si scriind cuplul de acceleratie sub forma diferentiala, se obtine:
J(dω/dτ) =Mig-Mc, (3.1)
in care:
J = momentul de inertie (masa) redus la axa arborelui motor
al tuturor maselor mobile mentionate;
ω = viteza unghiulara a arborelui motor;
Mig si Mc = cuplul motor indicat la mersul in gol si, respectiv, cuplul corespunzator rezistentelor interne ale motorului.
Prin urmare acceleratia ε = dω/dτ reprezinta masura cuplului motor efectiv mediu la mersul in gol si o pulsatie sau turatie medie m respectiv nm.
Pentru ca la actualele motoare regimul de accelerare brusca in gol a motorului se face foarte rapid, determinarea acceleratiei 414j95e este dificila. Pentru a rezolva problema mai usor se poate recurge la masurarea numarului de cicluri accelerare-decelerare pe care motorul este capabil sa le efectueze intr-un interval de timp standard in acest scop, motorul este ambalat si decelerat in gol succesiv de mai multe ori intre doua niveluri de turatie prestabilite, n1 si n2(respectiv si ) mentinand organele de reglare a sarcinii in pozitia de sarcina maxima. Procedeul este aplicabil numai la motoarele cu aprindere prin scanteie si se face actionand asupra aprinderii. Aparatura folosita in acest scop efectueaza automat intreruperea aprinderii cand motorul atinge turatia finala n2, reface circuitul la aprindere cand turatia coboara la nivelul n1 si contorizeaza numarul Z de intreruperi in functionare efectuat in intervalul de timp Acceleratia medie pe interval este, deci:
m ) Z/Δτ = π (n1 n2 ) Z/ 30 Δτ k1Z.
Stiind ca la turatia medie de incercare acceleratia medie este proportionala cu puterea efectiva medie dupa cum rezulta din relatia (3.1), se poate scrie ca:
Peg=kZ.
Asadar frecventa Z poate fi utilizata ca parametru de diagnosticare generala a motorului dupa putere. Se observa ca, pentru marirea preciziei, trebuie ca intervalul de variatie a turatiei n1 n2 sa fie cat mai mic, astfel incat variatia de putere sa poata fi considerata ca fiind liniara.
Folosind procedeul descris, se poate folosi si un alt parametru de diagnosticare, si anume, timpul a necesar pentru cresterea pulsatiei de la la In acest caz acceleratia medie m este
ε m a=dω/dτ
iar din relatia (3.1) se poate deduce
a =J Mig-Mc)
in aceasta expresie numaratorul reprezinta o marime constanta pentru un anumit tip de motor, iar valoarea numitorului scade pe masura uzarii motorului. Asadar, cand valoarea a scade sub limita admisibila precizata de fabricant pentru tipul de motor testat, se poate considera ca starea tehnica a acestuia nu este corespunzatoare, fiind necesare investigatii pentru localizarea defectiunii.
Diagrama derularii testului este prezentata cu linie continua in figura 3.1.
Pornind de la viteza unghiulara minima de mers in gol mg in momentul 1 de pe diagrama se apasa brusc si complet clapeta de acceleratie. Turatia motorului va
incepe imediat sa creasca si cand se atinge valoarea se declanseaza automat cronometrul electronic (punctul 2), care va inregistra timpul scurs pana la atingerea valorii (punctul 3).
Turatia continua sa creasca pana la turatia admisibila permisa de fabricant sau de regulatorul de turatie. Sesizand atingerea turatiei maxime admisibile, operatorul va elibera pedala de acceleratie (punctul 4), ceea ce va duce la revenirea turatiei la valoarea corespunzatoare regimului de ralanti. Timpul masurat de cronometrul electronic automat, a va fi comparat cu valoarea de referinta si, in functie de rezultatul obtinut, se va decide diagnosticul testului.
Daca starea tehnica a motorului este necorespunzatoare, diagrama derularii testului va fi de tipul celei reprezentate prin linia intrerupta din figura 3.1. Se observa ca 'a este mult mai mare decat a, intregul proces de accelerare avand o durata substantial mai mare.
La cea de a doua varinata se determina direct acceleratia unghiulara, metoda bazandu-se pe accelerarea motorului in intervalul de turatie n1 n2 folosind in acest scop doar cuplul efectiv produs de un singur cilindru la sarcina nula, ceilalti cilindri fiind scosi din functiune prin taierea aprinderii la motoarele cu aprindere prin scanteie sau a alimentarii injectoarelor la motoarele diesel.
Metoda este aplicabila mai ales in cazul motoarelor mici, unde, ca urmare a dimensiunilor reduse ale pieselor mobile, momentul de inertie J are valori foarte coborate, fapt care conduce la timpi de accelerare extrem de mici, a caror masurare precisa este foarte dificila.
Cand din cei i cilindri ai motorului nu functioneaza decat cilindrul j, acesta acopera intregul consum intern al motorului, exprimat prin momentul Mcj-, precum si cel necesar procesului de accelerare Maj.
Mij=Mc + Maj
Momentul indicat total reprezinta insumarea momentelor indicate ale tuturor cilindrilor motorului:
Mi= ΣMij = J Mc + ΣMaj
Pe de alta parte, cand functioneaza cu toti cilindrii motorul dezvolta un moment indicat
Mi=Mc + Ma
cum insa in regim de accelerare libera momentul motor efectiv serveste numai pentru accelerare
Ma=Me
din cele doua relatii precedente rezulta:
Me=(i-l)Mc + ΣMaj
Determinarea momentului Mc se face suspendand, de la o anumita turatie, functionarea tuturor cilindrilor si masurand deceleratia εc ce rezulta in acelasi interval cuprins intre ω1 si ω2
Cunoscand momentul de inertie J, expresia precedenta devine:
Me=(i-l)J c + JΣ aj
unde aj este acceleratia unghiulara a arborelui cotit la functionarea numai cu cilindrul j.
Tinand seama ca toate valorile aj precum si εc se determina intre si ω2 relatia (3.3) mai poate fi scrisa sub forma:
Me = (i-1) J[ )//τc]+ J )Σ(1/τaj),
in care τc este timpul in care viteza unghiulara a scazut de la ω1 la ω2, motorul avand arderea suspendata la toti cilindrii.
Se observa ca experimentul se reduce la cronometrarea timpilor τaj si τc
Cum testerele care efectueaza acest gen de diagnosticare sunt asistate de calculator, acestea rezolva automat problema calculelor, operatorul primind direct valoarea momentului efectiv determinata experimental.
Deoarece intereseaza in primul rand valoarea momentului efectiv maxim, se alege, de regula, ca media aritmetica a vitezelor unghiulare si ω2 sa fie tocmai aceea la care se obtine acest moment.
Diagrama evolutiei vitezei unghiulare in timp in cazul masurarii timpilor de accelerare τaj este prezentata in figura 3.2,a iar diagrama testului de determinare a timpului de decelerare τc este prezentata in figura 3.2,b.
Determinarea momentului de inertie J. Momentul de inertie J se determina experimental, calea teoretica fiind prea laborioasa si insuficient de precisa.
in acest scop, un exemplar dintr-un anumit tip de motor, aflat in buna stare de functionare, este amplasat pe standul de incercare a motoarelor, unde i se ridica, printr-una din metodele clasice, caracteristica de pierderi mecanice (fig. 3.3).

Apoi, acelasi motor este montat pe automobil si supus secventei de masurare a timpului τc intre ω1 si ω2 . Cunoscand valoarea momentului Mc din caracteristica pierderilor mecanice corespunzatoare vitezei unghiulare ( ) /2, rezulta:
J = Mc τc
Aceasta valoare ramane practic constanta pentru tipul respectiv de motor, indiferent de gradul de uzura al acestuia. Este de retinut observatia ca masurarea celor doi timpi τaj si τc este de preferat sa se realizeze cu ambreiajul decuplat. in acest fel, rezultatele determinarilor nu vor fi influentate de cutia de viteze a carei constructie poate diferi de la o varianta de automobil la alta, chiar daca se utilizeaza acelasi tip de motor

Spre deosebire de procesul descris, in care efortul rezistent opus celui motor este creat inertial de fortele de accelerare, in acest caz diagnosticarea se bazeaza pe rezistentele interne care se creeaza atunci cand este scos din functie unul din cilindri, prin intreruperea aprinderii la motoarele cu aprindere prin scanteie sau a alimentarii cu combustibil la cele cu aprindere prin comprimare.
La mersul in gol si regim de turatie stabilizat, se realizeaza egalitatea dintre cuplul motor indicat Mi si cuplul corespunzator consumului intern Mc, starea de functionare a motorului fiind reprezentata in diagrama de cuplu prin punctul 0, precizat de turatia stabilizata n (fig. 3.4,a).
Daca se intrerupe functionarea cilindrului 1 prin intreruperea aprinderii sau a alimentarii cu combustibil, cuplul motor indicat se va reduce, fapt care va atrage dupa sine reducerea turatiei pana la stabilirea unui nou punct de echilibru, intre cupluri, 1, realizat la o turatie mai mica, n1.
Refacand functionarea cilindrului 1 si intrerupand-o pe cea a cilindrului 2, se va produce un nou dezechilibru de cupluri iar regimul de functionare stabil se va reface numai in punctul 2, turatia scazand deci de la n la n2. in cazul cilindrilor cu productivitati de cuplu diferite, caderile de turatie sunt diferite. Astfel in exemplul citat caderea de turatie la suspendarea primului cilindru, Δ n1 = n - n1 este mai mica decat cea din cazul cilindrului 2, Δ n2 = n - n2 , adica n1 < n2 .
De aici rezulta ca primul cilindru participa mai putin la producerea de energie mecanica, in timp ce ultimul functioneaza mai productiv.
Criteriul stabilit, cadereade turatie, poate fi acceptat ca un parametru de diagnosticare in acest caz. Daca variatiile procentuale de turatie intre cilindri nu depasesc 4%, motorul se considera bun.
Nivelul de turatie la care se desfasoara masuratorile trebuie sa se situeze deasupra turatiei corespunzatoare cuplului maxim la mersul in gol, adica pe ramura coboratoare a curbei de cuplu; la actualele motoare cu aprindere prin scanteie regimul de testare poate fi cuprins intre limitele 1600-2000 min-1.
Diagnosticarea pe aceasta cale a motorului diesel intampina unele dificultati deoarece, pe de o parte turatia nu poate fi masurata stroboscopic, ci numai mecanic, iar pe de alta pentru ca nu se pot explora decat domeniile de turatie in care regulatorul devine activ, deoarece numai la aceste regimuri motorul functioneaza stabil. La un regulator cu doua regimuri, de pilda, procedeul nu poate fi aplicat decat domeniile ng - ng' sau nmax- n 'max (fig. 3.4,b). Mai avantajoasa este folosirea domeniului turatiilor ridicate, deoarece datorita aiurii cuplului rezistent Ma precizia determinarilor este superioara (de altfel, ca si in cazul motorului cu aprindere prin scanteie).

in acest caz procesul de diagnosticare se poate efectua fara citirea turatiei. Pentru aceasta pe capatul organului de reglare a debitului de combustibil de la pompa de injectie se adapteaza un dispozitiv cu grad ridicat de multiplicare a deplasarii, care sa indice pozitia acestui organ.
Pentru diagnosticare se stabileste turatia motorului in intervalul nmax- n 'max in punctul 1, de exemplu, in care se regleaza echilibrul dintre cuplul motor indicat Mi si cel rezistent Mc. Prin suspendarea injectorului cilindrului 1, cuplul motor indicat s-ar reduce pana la valoarea corespunzatoare starii 1' daca turatia s-ar mentine constanta, adica acolo unde se reface echilibrul dintre cuplul motor realizat prin suspendarea cilindrului 1, M1, si cel rezistent. Dar reducerea cuplului motor provoaca si micsorarea turatiei, astfel incat, sporind debitul de combustibil refulat, regulatorul mareste cuplul motor, stabilind, de fapt, echilibrul functional in starea 2. Deplasarea organului de reglare al pompei se citeste pe dispozitivul de indicare adaptat si serveste drept criteriu de diagnosticare si de apreciere a neuniformitatii functionarii cilindrilor.
3.2.2 Diagnosticarea dupa consumul de combustibil
Aparatele folosite pentru masurarea consumului de combustibil se deosebesc dupa tipul testarii: de parcurs sau de stand. Exista o sumedenie de solutii constructive folosite in ambele tipuri de testari: debitmetre cu rotor, cu membrana, cu jicloare, cu pistonase sau electrice.
Cele mai raspandite debitmetre, atat pentru diagnosticarea pe parcurs, cat si pentru cea de stand, sunt cele cu pistonase, a caror schema de principiu este prezentata in fig. 3.5.
In corpul aparatului evolueaza radial patru pistonase 1, actionate de presiunea creata de pompa de combustibil a autovehiculului. Deplasarea liniara a pistonaselor este transformata in miscare de rotatie cu ajutorul bieletelor 2 si a arborelui cotit 3. Combustibilul patrunde in aparat prin partea centrala si este dirijat spre carburator sau pompa de injectie prin canalizatiile 5 si 6. Arborele dispozitivului actioneaza un generator electronic de impulsuri care se transmit unui calculator programat sa ofere, automat si rapid, cu o toleranta de ± 5%, consumul litric la suta de kilometri, dupa introducerea in calculator a distantei parcurse de vehicul (pe stand sau pe traseu) sau consumul orar dupa o functionare de un minut.

Bransarea debitmetrului Ia instalatia de alimentare se face intre pompa de benzina si carburator (la motoarele cu benzina) si intre rezervor si pompa (la motoarele diesel), la acestea din urma avandu-se grija ca conducta de drenare de la injectoare sa fie conectata nu la rezervor, ci in avalul aparatului, deci inaintea pompei de motorina.
Debitmetrele cu jicloare au particularitatea de a oferi valoarea instantanee a consumului de combustibil si sunt raspandite mai ales la standurile cu rulouri. Aparatul se alimenteaza cu combustibil din rezervorul 1 (fig. 3.6) pe care il trimite in motorul 5 cu ajutorul pompei 2.
inainte de inceperea probelor, vasul gradat 4 al aparatului se umple cu combustibil cu ajutorul pompei electrice 9. in timpul stabilirii regimului de viteza al masinii pe stand, supapa electromagnetica 6 sta inchisa iar supapa 3, tot de natura electromagnetica, este deschisa, astfel incat pompa alimenteaza motorul direct. Pentru inceperea masuratorilor, pozitiile celor doua supape se inverseaza: 6se deschide iar 3 se inchide. Acum motorul se alimenteaza din vasul de masura 4 a carui scala este gradata in cm3. Cand plutitorul 7 ajunge in dreptul reperului zero al scalei, aflat in partea superioara a acestuia, contactele cupleaza dispozitivul standului care inregistreaza distanta echivalenta parcursa de autovehicul pe stand. Dupa parcurgerea a o suta de metri de rulare echivalenti, acelasi dispozitiv repune supapele 3 si 6 in pozitiile lor initiale.Pe scala vasului de masura 4 se citeste nivelul la care a coborat lichidul, si cum scala este gradata in cm3 iar distanta parcursa a fost de 100 m, indicatia aparatului reprezinta consumul in litri la 100 km.

3.2.3. Diagnosticarea dupa gradul depoluare
Aspecte generale
Stabilirea starii tehnice generale a motorului folosind ca parametru de diagnosticare densitatea substantelor poluante din gazele de evacuare prezinta un aspect mai degraba ecologic, deoarece chiar daca emit gaze cu concentratii ridicate de noxe, un motor ramane functionabil in continuare.
Determinarea concentratiei unor noxe din gazele de evacuare, cum sunt oxidul de carbon sau hidrocarburile, are si menirea de a contribui la imbunatatirea performantelor de consum, stiut fiind ca consumurile specifice de combustibil sunt minime in jurul concentratiilor minimale ale acestor substante poluante.
Valorile limita ale parametrilor de diagnosticare folositi sunt dictati insa nu de considerente tehnice sau economice, ci de normele de protectie a mediului si ele sunt stabilite prin conventii internationale care se ajusteaza periodic.
Gazele evacuate de motoarele cu ardere interna contin cantitati importante de oxid de carbon, hidrocarburi nearse sau oxidate partial, oxizi de azot, fum si produsi ai plumbului.
Pentru motorul cu aprindere prin scanteie este specifica testarea dupa emisia de oxid de carbon, noxele de plumb fiind limitate, de regula, prin restrictii cu caracter international privind intensitatea aditivarii benzinelor cu etil fluid, Pentru motorul diesel importanta este masurarea gradului de fum, a concentratiilor de oxid de azot si de hidrocarburi. in unele cazuri, in care se urmareste verificarea perfectiunii arderii ori diagnosticarea convertorului catalitic, se mai determina si concentratiile de bioxid de carbon si de oxigen.
Masurarea concentratiei de oxid de carbon
Masurarea concentratiei oxidului de carbon in gazele de evacuare se face cu analizoare de natura electrica sau cu raze infrarosii.
Analizoarele electrice pot fi cu sau fara ardere. Ultimele au o contributie foarte simpla, a carei schema de principiu este prezentata in figura 3.7.
in compunere intra o punte Wheatstone, echipata cu un volt-metru V si un ampermetru A, care este alimentata de bateria de acumulatoare B prin intermediul po-tentiometruiui P pentru reglarea alimentarii.
Fig. 3.7
Rezistentele R1 si R2 sunt de valori egale iar un potentionietru P' serveste pentru echilibrarea puntii. Celelalte doua rezistente R3 si R4 sunt tot de valori egale, numai ca, in timp ce R3 se afla in aer liber, R4 este baleiata de un-curent de gaze de evacuare, care traverseaza caseta in care se afla rezistenta (dupa ce gazele au fost racite iar condensul de apa a fost separat). inainte de inceperea testarii, alimentarea puntii se aduce la tensiunea nominala cu ajutorul potentio-metrului P si puntea se aduce la echilibru folosind potentiometrul P', astfel incat acul voltmetrului sa fie adus la zero. Pentru masurari, prin caseta rezistentei R4 se trece un flux de gaze de ardere. Din cauza diferentei dintre conductivitatea termica a gazelor care baleiaza rezistenta R4 si cea a aerului cu care se afla in contact R3, temperaturile acestor doua rezistente nu vor mai fi egale, fapt careva determina o diferentiere a valorilor lor electrice. Ca urmare, puntea se va dezechilibra, iar volt-- metrul Fva indica o diferenta de potential proportionala cu gradul de dezechilibrare. Ca parametru de diagnosticare se poate folosi chiar indicatia voltmetrului, a carui scala se gradeaza in acest caz direct in procente de CO, sau deplasarea organului de reglare a rezistentei potentiometrului P'.
Dintre gazele a caror concentratie depinde de dozajul amestecului, bioxidul de carbon prezinta cea mai mare diferenta fata de aer in ceea ce priveste coeficientul de conductivitate (marile diferente pe care le prezinta hidrogenul sibioxidul de sulf sunt neimportante, deoarece concentratia acestora in gazele evacuate-nu depinde de dozajul amestecului). Rezulta deci ca determinarea concentratiei de oxid de carbon se poate face indirect, afland continutul de bioxid de carbon din gazele evacuate. Deoarece o astfel de determinare sufera prin precizie, astfel de aparate nu sunt agreate pentru masurarea concentratiei de CO, fiind insa larg utilizate pentru determinarea dozajului, datorita simplitatii lor si costului redus.
Pentru marirea sensibilitatii analizoarelor electrice fara postardere uneori se monteaza pe acelasi brat al puntii cate doua rezistente etalon R3 si doua rezistente de masura R4, in rest aparatul avand aceeasi structura ca cea prezentata
|
|
Analizoarele electrice cu postardere permit determinarea mai exacta a concentratiei de oxid de carbon. Si ele contin o punte Wheatstone, la care insa rezistentele etalon 12 (fig. 3.8) si cea de masura 10 sunt incalzite la o temperatura de 700-800 °C.
in camera rezistentei etalon, care este confectionata din platina, intra din atmosfera aer filtrat de filtrul 14 si dozat de jiclorul 13. Gazul supus analizei este adus de la sonda de prelevare, montata in teava de esapament, prin conducta 1 de unde urmeaza un traseu de retinere a apei condensate in separatoarele 3 si de racire in serpentina 2. Din conducta 4 o parte din gaze sunt aspirate in camera rezistentei de masura 10, dupa ce au fost curatate in filtrul 5 si dozate de orificiul calibrat 6; restul gazelor sunt evacuate in atmosfera prin conducta 7 cu ajutorul pompei 8. Pompa cu membrana 9 aspira, pe de o parte, gaze de esapament, iar pe de alta aer din camera rezistentei etalon prin canalizatia 11. Pe rezistenta etalon 12 ard eventualele substante combustibile aflate in aer, care insa sunt atat de. reduse cantitativ, incat efectul lor termic este practic nul. Aerul incalzit este dirijat din camera rezistentei etalon in cea a rezistentei de masura 10, in care se produce arderea substantelor combustibile continute in gazele de evacuare, si anume, CO, si H2. Deoarece valoarea ohmica a rezistentei 10 se mareste odata cu temperatura, iar aceasta creste proportional cu cantitatile de oxid de carbon si de hidrogen arse, aparatul de masura 15, care marcheaza dezechilibrarea puntii, indica concentratia de CO in gazele de ardere.
Precizia masuratorilor cu analizoarele electrice depinde de viteza de curgere a gazelor pe langa rezistenta de masura, de gradul de oxidare partiala a hidrocarburilor prezente in gazele de evacuare si de variatiile de temperatura ale rezistentelor 10 si 12. Reactiile de oxidare sunt promovate in camerele rezistentelor 10 si 12 numai daca temperatura initiala atinge un anumit prag, fapt care mareste timpul de raspuns al aparatului. De aceea se foloseste un catalizator al carui rol este de a reduce temperatura initiala a reactiei pana la 200 °C. El este constituit dintr-o structura granulara de A12O3, cu finetea de 2-3 mm, care se depune pe peretii camerei de reactie, direct sau prin intermediul unui suport ceramic. Mai scump este procedeul care foloseste drept catalizator platina simpla sau acoperita cu un strat subtire de oxid de aluminiu.
Analizoarele cu absorbtie nedispersiva in spectrul de radiatii infiarosii au o precizie mai ridicata si se sprijina pe observatia ca gazele poliatomice cu structuri eterogene absorb in mod selectiv energia radianta in infrarosu, in functie de lungimea de unda specifica radiatiilor din acest spectru in interiorul domeniului 2 15 im. Analiza in infrarosu se bazeaza pe compararea energiei transmise unei membrane elastice pe doua cai diferite: printr-o coloana din gazul analizat si printr-o alta formata dintr-o substanta care nu retine radiatia infrarosie (de exemplu aer).
in figura 3.9 este prezentata schematic alcatuirea unui astfel de analizator, in care intra doua tuburi inchise la ambele capete cu pereti transparenti. Tubul 6 contine un gaz care nu retine radiatiile infrarosii, iar celalalt 5 este intercalat in circuitul de gaze de evacuare din motor, supuse analizei.
Din acest circuit face parte sonda de prelevare 1, separatorul de apa 2, filtrul 3 si pompa 4 care asigura un debit de gaz constant prin tubul de masura 5.
Cele doua tuburi sunt incadrate la o extremitate de cate un bec 8, de la care lumina se transmite prin filtre ce lasa sa treaca numai radiatiile cu lungimi de unda cuprinse in plaja 2 10 μm (becurile 8 sunt identice din punct de vedere al puterii emisiei luminoase). Pentru usurinta masurarii, radiatiile sunt trimise catre cele doua tuburi sub forma unor impulsuri cu frecventa de 6-10 Hz, realizate cu ajutorul discului cu fante 15, care este rotit de motorul electric 9.
|
|
La celalat capat al celor doua tuburi este prevazut un detector 7, format din doua camere despartite intre ele de membrana elastica 13. Aceasta, impreuna%rila fixa 14, formeaza un traductor capacitiv, introdus in circuitul amplificatorului 10; rezultatele masurarilor sunt expuse pe scala aparatului 11 si pe un inregistrator 12. Detectorul este umplut cu oxid de carbon cu un foarte inalt grad de puritate.
Gazele emise de motor sunt preluate de sonda 1, de unde, curatate de apa in separatorul 2 si de particulele solide in filtrul 3, sunt introduse la presiune constanta in tubul 5 de catre pompa 4. in tubul de masura se stabileste un curent de gaze in regim permanent. Razele infrarosii care strabat acest tub ajung partial absorbite de coloana de gaz, gradul de absorbtie fiind proportional cu concentratia de CO. Radiatia care patrunde in tubul 6 il va traversa practic nestingherita, astfel incat cele doua compartimente ale detectorului vor primi cantitati diferite de energie.
Gazele din aceste compartimente se vor incalzi inegal si se vor dilata inegal, producandu-se astfel o diferenta de presiune intre cele doua camere; aceasta va conduce la deformarea membranei 13, modificandu-se pe aceasta cale capacitatea traductorului. Variatia capacitatii este proportionala cu concentratia de CO din gazele care circula prin tubul de masura 5, fiind citita pe aparatul de indicare 11 sau pe cel de inregistrare 12.
Principalul dezavantaj al analizei in infrarosu consta in faptul ca spectrul de absorbtie al oxidului de carbon interfereaza cu cel al bioxidului de carbon si cel al apei si de aceea este necesara o reducere a campului radiatiilor aplicate tubului de masura. in acest scop, in serie optica cu tubul de masura si cu cel de referinta se introduce cate un filtru care contine bioxid de carbon saturat cu vapori de apa.
Razele infrarosii care strabat filtrele ajung la detector fara a mai contine componentele din banda pe care oxidul de carbon interfereaza cu bioxidul de carbon si cu apa, astfel incat variatia concentratiei de CO2 din gazele de evacuare nu va mai influenta citirile.
Metodica testarii motoarelor cu aparatul analizoarelor electrice sau cu anali-zoarele cu radiatii infrarosii presupune indeplinirea a doua conditii preliminare: instalatia de aprindere a motorului sa fie in stare tehnica buna iar traseul gazelor de la motor pana la toba de esapament sa fie etans.
Inainte de inceperea diagnosticarii, motorul se incalzeste pana la temperatura normala de regim (uleiul sa se afle la min. 60 °C), iar analizorul se etaloneaza pentru aducerea acului indicator la zero. Se introduce apoi sonda de prelevare in teava de evacuare a vehiculului pe o adancime de min. 30 cm, pentru a preveni eventualele imixtiuni de aer produse de pulsatia gazelor, dupa care se face legatura dintre sonda si aparat si se pune analizorul in functiune..
Analizoarele descrise permit verificarea calitatii amestecului si a concentratiei de CO la ralanti, la turatii mijlocii si in regim de accelerare. La ralanti testarile se efectueaza pornind motorul cald si lasandu-1 sa functioneze la turatia prescrisa de fabricant, pana cand indicatiile analizorului se stabilizeaza (in general dupa 90 -120s). La acest regim concentratia de CO indicata de analizor nu trebuie sa depaseasca fie nivelul maxim indicat de fabricant, fie limita legala admisa de 4,5%.
Concentratii superioare sunt indiciul unor amestecuri prea bogate in benzina, rezultat al reglajului defectuos al amestecului la ralanti, al uzurii jicloarelor, al infundarii canalelor de aer ale circiutului de mers in gol, al nivelului prea ridicat al benzinei in camera de nivel constant, al presiunii prea mari a benzinei refulate de pompa sau al filtrului de aer extrem-de murdar. Daca analizorul este dotat si cu o scala de indicare a dozajului, acul indicator se va deplasa in acest caz in zona 'amestec bogat', aratand valori mai mari de 13.
Se creste apoi progresiv turatia la 2000 - 3000 min-1, observand daca indicatiile analizorului se indreapta spre zona amestecurilor sarace in raport cu valoarea citita la ralanti, respectiv spre reducerea concentratiei de CO. Stabilizarea indicatiilor la valori ale dozajului mai mici de 12, indica un amestec bogat livrat motorului la regimuri mijlocii de turatie, iar daca indicatiile analizorului se stabilizeaza la valori ale dozajului mai mari de 14, aceasta inseamna ca amestecul este prea sarac.
Dupa aceasta verificare, se reduce turatia motorului la 1000 -1400 min si se accelereaza brusc. Procentul de CO trebuie sa creasca rapid, deci indicatiile aparatului sa se deplaseze spre zona amestecurilor bogate, la un motor care functioneaza corect. Dupa incetarea regimului de accelerare, indicatiile analizorului trebuie sa revina la nivelurile normale pentru regimul de ralanti, revenirea facandu-se mai repede sau mai lent in functie de caracteristicile constructive ale carburatorului.
La motoarele in doi timpi este necesar ca dupa sonda de prelevare sa se prevada un filtru de carbune activ, care sa retina hidrocarburile intens evacuate de aceste motoare si a caror prezenta viciaza masurarile atat la analizoarele electrice, cat si la cele cu raze infrarosii.
Masurarea concentratiei de hidrocarburi
Metodele folosite in prezent pentru masurarea concentratiilor de hidrocarburi din gazele de evacuare se bazeaza pe analiza in infrarosu si ionizarea in flacara. Ultimul procedeu are o sensibilitate superioara mergand pana la detectii de 1 ppm (parte pe milion), este sigur in functionare, are domeniu de masurare larg (1 100.000 ppm) si are un timp de raspuns sub 0.5 s, permitand determinari atat in regim continuu, cat si intermitent. Deoarece analizoarele cu ionizare au costuri ridicate, ele nu sunt raspandite in practica diagnosticarii automobilelor, fiind preferate acolo unde se cere o mare precizie, adica in domeniul cercetarii.
Determinarea concentratiei de hidrocarbon prin analiza spectroscopica in infrarosu foloseste un analizor asemanator constructiv cu cel prezentat in figura 3.9., numai ca detectorul este umplut cu un gaz care absoarbe energia radianta in infrarosu pe aceeasi lungime de unda ca aceea a hidrocarburilor din gazele de evacuare. Deoarece varietatea acestor hidrocarburi este foarte larga, pentru stabilirea concentratiei de hidrocarburi de diverse clase ar trebui folosit cate un analizor al carui detector sa fie umplut cu o substanta de calitate corespunzatoare, fapt care ar complica testarea. De aceea s-a convenit ca detectorul sa fie umplut cu hexan normal (n - CgH^), asa incat aparatul masoara numai concentratia de hidrocarburi echivalente n-hexanului. Daca, de exemplu, in gazele de evacuare dominanta va fi prezenta parafinelor de ordin apropiat de cel al hexanului, atunci indicatiile aparatului vor fi mai apropiate de realitate. Pentru hidrocarburi saturate si mai ales pentru aromate al caror grad de absorbtie este mai mic, aparatul indica valori mult mai mici. in afara de aceasta, s-a constatat ca in domeniul de radiatie folosit se produce interferenta cu spectrul de absorbtie al vaporilor de apa, fenomen ce poate insa fi prevenit prin aplicarea unor filtre optice adecvate.
Masurarea concentratiei oxizilor de azot
Pentru masurarea concentratiei oxizilor de azot se pot folosi analizoare cu raze infrarosii sau cu chemiluminiscenta; in operatiile de diagnosticare sunt preferate primele, deoarece analizoarele cu chemiluminiscenta, desi foarte sensibile, precise si cu domeniu larg de masura (0,1 10.000 ppm), au costuri prohibitive.
Analizoarele cu raze infrarosii se bazeaza pe principiile descrise mai inainte si sunt utilizate pentru masuratori si domenii de masura de pana la 500 ppm. Pentru marirea preciziei de masurare, vaporii de apa continuti in gazele de evacuare sunt retinuti, inainte de introducerea in aparat, prin racire si filtrare deoarece apa interfereaza in spectrul de absorbtie al NO.
Masurarea concentratiei de bioxid de carbon
Masurarea concentratiei de CO2 din gazele de evacuare devine utila atunci cand se efectueaza teste care privesc determinarea perfectiunii arderii in motor.
Alura in clopot a curbei care exprima dependenta concentratiei de CO2 in functie de dozaj, face ca raportul intre aceste doua marimi sa fie biunivoc, putandu-se obtine aceeasi valoare a concentratiei de CO2 pentru doua valori ale dozajului, una plasata in zona amestecurilor bogate si alta in cea a amestecurilor sarace. Numai masurarea inca a cel putin unei componente poate arata in ce domeniu al dozajului se afla amestecul: bogat sau sarac. Aceasta a doua componenta poate fi CO sau, mai de graba, oxigenul. in mod obisnuit, concentratia de bioxid de carbon in gazele de evacuare sta intre 12 15%; cu cat mai mare este aceasta proportie, cu atat mai buna este arderea. in afara de aceasta, analizorul de CO2 mai poate servi la aprecierea starii postarzatorului catalitic, masurand concentratia acestei substante inainte si dupa iesirea din epurator. Metoda are un caracter de aproximatie, deoarece in controalele de poluare se urmareste de fapt, stabilirea concentratiei de CO la emisie.
Pentru masurarea concentratiei de CO2 in gazele de evacuare se folosesc analizoare cu radiatii infrarosii in regim nedispersiv, la care filtrele optice sunt umplute cii CO, iar cele doua camere ale detectorului contin CO2.
3.2.3.6. Masurarea concentratiei de oxigen
Determinarea concentratiei oxigenului in gazele de evacuare se deovedeste necesara atunci cand se urmareste stabilirea starii tehnice a senzorului X din compunerea convertoarelor catalitice, ca si in cazul determinarii concentratiei de CO2, asa cum s-a aratat.
Constructiile analizoarelor de oxigen se bazeaza pe metoda susceptibilitatii magnetice, plecand de la observatia ca acest element chimic are proprietati paramag-netice. Gazul supus analizei este introdus in aparat prin racordul 1 (fig. 3.10), de unde patrunde intr-o camera circulara 2 din care este evacuat prin canalizatia 7.
Perpendicular pe directia fluxului gazos se afla tubul de sticla 4 pe a carui extremitate din stanga este dispus un puternic electromagnet 3. Moleculele din gazul analizat sunt atrase de campul electromagnetic in interiorul tubului 4. Pentru a iesi de sub actiunea campului magnetic, oxigenul trebuie sa fie incalzit pana la 13 il 12 10minimum 80 °C, temperatura la care susceptibilitatea sa magnetica devine apropi ata de cea a substantelor diamagnetice; astfel moleculele de oxigen sunt respinse de magnet si vehiculate mai departe prin tubul 4 spre extremitatea dreapta a acestuia. incalzirea se face prin conventie de catre rezistentele 6 si 13, care, totodata, intra in compunerea unei punti impreuna cu rezistentele 9, 10 si 11 (prima servind pentru aducerea la zero a aparatului de masura 8).
Viteza 'vantului magnetic' provocat de electromagnet este proportionala cu densitatea oxigenului continut in gazul analizat si va determina o racire proportionala a celor doua rezistente 6 si 13 ale puntii Wheatstone, a caror valoare ohmica se va modifica din aceasta cauza dezechilibrand puntea. Valoarea dezechilibrului, indicata de aparatul 8, reprezinta, asadar, masura concentratiei de oxigen in gazele de evacuare cercetate.
3.2.3.7. Masurarea gradului de fum
A. Generalitati
Culoarea si nuanta fumului emis de motorul diesel pot servi drept criterii de apreciere a existentei unor defectiuni care deterioreaza procesul normal de ardere in cilindrii motorului sau mijlocesc patrunderea lubirifiantului in camera de ardere.
Astfel, fumul de culoare neagra sau cenusiu-neagra este urmarea prezentei in gazele de evacuare a mari cantitati de carbon nears, generat de arderea incompleta in zone ale camerei de ardere in care s-au acumulat mari concentratii de combustibili; fumul de nuanta albastruie este datorat patrunderii uleiului in camera de ardere, iar cel albicios, care apare deseori la pornirea motoarelor diesel pe timp rece, indica deranjarea sistemului de racire, care nu permite atingerea temperaturii normale de regim a motorului, dar se mai poate datora si patrunderii apei in cilindri.
in tabelul 3.2 sunt prezentate cauzele care pot duce la aparitia in gazele de evacuare a fumului cu diverse coloratii.
Dupa cum rezulta din tabel, analiza fumului din gazele de evacuare ale motorului diesel constituie un parametru de diagnosticare generala cu grad de informati vi tate relativ redus, deoarece el depinde de mai multi parametri de stare ce se pot localiza fie la instalatia de alimentare, fie la mecanismul motor, fie la cel de distributie, fie la cel de racire. De aceea investigatia trebuie continuata printr-o diagnosticare pe elemente pentru a se localiza defectiunea la unul din subansamblurilamotorului.
B. Masurarea gradului de fum
Exista trei procedee principal diferite pentru masurarea densitatii fumului in gazele de evacuare ale motoarelor diesel, pretabile la diagnosticarea motoarelor: prin filtrare, absorbtie si reflexie, pe baza carora au fost construite aparate destinate stabilirii cifrei de fum, numite fumetre.
Furoetre cu filrrare.La fumetrele bazate pe metoda filtrarii, gazele evacuate sunt fortate sa strabata un filtru care retine funinginea. Aprecierea cantitatii de funingine retinute se poate face pe cale vizuala, prin fotometrie, prin cantarire sau prin ardere.
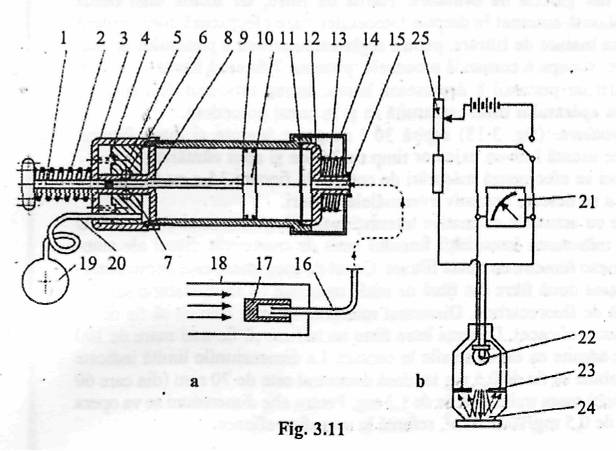
Fumetrul Bosch EFAWse, bazeaza pe citirea fotoelectrica a gradului de inegrire a unei hartii filtrante, care a fost traversata de gazele evacuate de motor. Aparatul comporta o pompa (fig. 3.1 l,a) cu un volum de lucru de 330 cm3. La unul din capetele cilindrului 9 exista un capac mobil 12, in care se fixeaza hartia de filtru 11 (Whatmann nr. 4). Capacul se fixeaza cu ajutorul arcului 13 si al capacului 14. Prin stutul 15, pompa este pusa in legatura, prin racordul 16, cu sonda de prevelare 17, care se plaseaza in teava de evacuare 18a motorului. in cilindrul 9 se deplaseaza pistonul 10, a carui tija 1, este incarcata de arcul 2; extremitatea stanga a cilindrului este obturata de discul 8 si capacul 3. Prelungirea cilindrica 7 a discului 8 este este prevazuta cu bilele de blocare 6, iar piesa 5 este impinsa spre dreapta de arcurile 4. Spatiul etans dintre piesele 5 si 8 este pus in legatura cu para de cauciuc 19, prin racordul 20.

inainte de efectuarea masurarii, pistonul 10 se impinge spre dreapta, pana cand canalul circular al tijei 1 ajunge in dreptul bilelor. Prin patrunderea bilelor in canalul tijei piesa 5 este eliberata, iar arcul 4 o impinge spre dreapta, blocand tija si pistonul in aceasta pozitie. Pentru prelevarea probei se actioneaza energic para 19. Aerul pompat de aceasta impinge spre stanga piesa 5; cand locasul acesteia ajunge in dreptul bilelor, ele sunt impinse spre exterior, sub actiunea arcului 2, care trage tija si pistonasul spre stanga, efectuand aspiratia gazelor de ardere prin hartia de filtrare, ce se va innegri prin retinerea funinginii.
Stabilirea cifrei de fum se face pe cale fotoelectrica. Pentru aceasta, aparatul dispune de microampermetrul 21 (fig. 3.11,b), potentiometrul 25, pentru reglarea punctului de nul, becul 22 si celula fotoelectrica circulara 23. Dupa conectarea aparatului la o sursa de 12 V, se aseaza elementul fotoelectrie pe hartia de filtru innegrita 24; o parte din lumina emisa de lampa 22 va fi reflectata de filtru pe celula, si anume, intr-un raport invers proportional cu gradul ei de innegrire. Celula fotoelectrica emite un curent care excita mi-croampermetrul 21, a carui scala este impartita in zece unitati: gradatia zero corespunde reflexiei hartiei albe, iar gradatia zece, absorbtiei totale a luminii.
Fumetrul AVL 412 lucreaza pe acelasi principiu ca fumetrul Bosch, dar procesele sunt automatizate, in cilindrul de lucru (fig. 3.12) se aspira 990 cm3 de gaze.
Initial, grupul de pistoane 3 si 4 se deplaseaza spre stanga, asa incat aerul aflat in cilindrul de lucrul strabate filtrul 2 si iese pe langa supapa 1 in sonda de prelevare si de acolo in galeria de evacuare, proces prin care sonda este degajata de funinginea ramasa de la masuratorile precedente. Prin actionarea supapei 5, pistoanele se intorc in pozitia de la inceput, efectuand aspiratia de gaze. Cand se atinge pozitia limita din dreapta a pistonului 3, supapa 1 se inchide, evitand suprainnegrirea filtrului datorita presiunii gazelor din galeria de evacuare. Hartia de filtru, de forma unei benzi continue, este deplasata automat in dreptul fotocelulei, care efectueaza concomitent doua masurari: una inainte de filtrare, pentru reglarea automata a punctului de nul, si alta dupa filtrare; supapa 6 comanda procesele, pistonul 7 fixeaza hartia in timpul filtrarii si masurarii iar pistonul 8 deplaseaza hartia. intreg procesul de masurare dureaza 15 s, scala aparatului fiind construita ca si in cazul precedent.
Fumetrul gravimetric (fig. 3.13) aspira 30 1 de gaze; inainte si dupa filtrare, hartia de filtru este uscata intr-un exicator timp de 24 ore si apoi cantarita.
In timpul probei se efectueaza masurari de control la fiecare 15 s cu fotometrul tip Bosch, pentru a se detecta operativ eventualele abateri.
In conformitate cu actualele normative internationale (Regulamentul ECE - ONU nr. 49.02), pentru masurarea intensitatii fumului emis de motoarele diesel ale autovehiculelor se folosesc fumetre cu dubla filtrare. Gazul de esapament este trecut printr-o camera care contine doua filtre din fibra de sticla umectate cu fluorocarbon sau din membrane pe baza de fluorocarbon. Diametrul minim al filtrelor trebuie sa fie de 47 mm (37 mm diametru eficace). Distanta intre filtre nu trebuie sa fie mai mare de 100 mm dar nici nu se admite ca ele sa se afle in contact. La dimensiunile limita indicate masa unui filtru trebuie sa fie de 0,5 mg iar daca diametrul este de 70 mm (din care 60 mm diametru eficace) masa trebuie sa fie de 1,3 mg. Pentru alte dimensiuni se va opera cu masa specifica de 0,5 mg/1075 mm2, referita la suprafata eficace.

Fumetre cu absorbtie. Dintre acestea face parte fumetrul Hartridge (fig. 3.14) creatie a laboratorului de cercetari British Petroleum. Gazele evacuate circula in flux continuu tubul 3, lung de 407 mm, deschis la capete si incadrat de becul 4 si celula fotoelectirca 7; gradul de fum este apreciat prin absorbtia luminii in gaz.
Pentru aducerea la zero a aparatului indicator, care este un ampermetru, exista tubul de aer 5 in dreptul caruia pot fi aduse, prin rotire, sursa luminoasa si celula. Separatorul de apa 2 si supapa de presiune 1 impiedica patrunderea apei in aparat si evita erorile care s-ar putea produce datorita suprapresiunii gazelor din colectorul de evacuare (presiunea limita 50 mm H7O). Suflanta 6 realizeaza, circulatia aerului prin tubul de aer si limiteaza difuzia de gaze catre sursa luminoasa si celula fotoelectrica, asigurand o permanenta stare de curatenie a acestora.

Fumetre cu reflexie Dintre fumetrele cu reflexie face parte aparatul Bosch EFEP (Rg. 3.15), la care un jet de gaze evacuate traverseaza un fascicul de lumina. Intensitatea luminii reflectate este proportionala cu continutul de funingine si se masoara pe cale fotometrica.
Sectiunea fasciculului luminos este limitata de ferestrele 1 si 2 iar murdarirea acestora este impiedicata de un curent de aer care mansoneaza jetul de gaze. Aparatul are o pozitie de tarare (fig. 3.15,a), cand celula nu este iluminata, o pozitie de alegere a intensitatii sursei de lumina (fig. 3.15,b) si o pozitie de masura (fig. 3.15,c). Scala este gradata direct in continutul de funingine.
Evident ca in randul acestor aparate nu trebuie sa fie incluse instrumentele, bazate tot pe reflexia luminii, al caror scop este de a determina densitatea suspensiilor de nuanta alba (asa-numitul fum alb), ce apar, in unele situatii, in gazele de evacuare.
C. Privire comparativa si unitati de masura
Stabilirea unitatii de masura a densitatii de fum trebuie corelata atat cu efectul urmarit, cat si cu aparatura adoptata.
Pe arterele rutiere fumul devine jenant datorita reducerii vizibilitatii si, intr-o oarecare masura, mirosului. Cum pentru evaluarea acestui din urma efect nu exista o tehnica adecvata, rezulta ca aparatele pentru determinarea gradului de fum se pot baza numai pe efectele optice. in privinta unitatii de masura apar dificultati serioase deoarece aparatele inregistreaza altfel decat oamenii efectele optice ale fumului. Observatorii sunt sensibili mai mult la cantitatea fumului si mai putin la intensitatea acestuia; astfel, un fum de aceeasi densitate deranjeaza mai putin daca este emis de o sursa cu sectiune redusa, iar o masa de fum emisa de un vehicul devine obiectio-nabila cand este privita din spatele masinii si tolerabila cand este observata lateral.
Marimea absoluta care caracterizeaza participarea unei surse la impurificarea atmosferei este cantitatea de funingine emisa in unitatea de timp (mg/s; g/s; g/min) sau densitatea de particule exprimata in (g/m3). Aprecieri cantitative in astfel de unitati de masura se pot face numai prin utilizarea unui fumetru bazat pe metoda filtrarii. in aceasta privinta trebuie sa se observe insa ca un filtru nu retine decat aproximativ o treime din continutul total de funingine, ceea ce referit la greutatea proprie a hartiei filtrante duce la un raport care implica operatii fine de laborator pentru determinarea diferentei dintre greutatile hartiei inainte si dupa filtrare. De aceea un astfel de procedeu este incompatibil cu testarea rutiera.
De asemenea fumetrele de acest gen nu permit efectuarea de masuri in regimuri tranzitorii, deci ele nu pot fi luate in considerare la intocmirea unor norme legislative.
Fumetrele care folosesc drept principiu absorbtia luminii, ca si fumetrele cu filtrare, care masoara cantitatea de funingine retinuta prin fotometrie au scari si unitati de masura proprii. Cele mai raspandite unitati sunt cele ale scarilor Bosch si Hartridge. Corelarea dintre cele doua scale se poate realiza teoretic, prin raportarea ambelor la unitatea de masura (g/m3) (fig. 3.16).
Se vede ca valorile obtinute pentru cifra de fum Hartridge, NH, sunt superioare cifrelor Bosch, Ng. Explicatia acestei neconcordante este complexa, in principal avandu-se in vedere ca:
♦particulele cele mai fine de funingine din gazele evacuate nu sunt retinute de filtru, dar impresioneaza fumetrele bazate pe absorbtia luminii in gaze;
♦combustibilul nears si evacuat sub forma lichida, picaturile de ulei, vaporii de apa lichefiati in tubul de masura nu sunt sesizate de fumetrele cu filtre, dar influenteaza transparenta gazelor.
Daca se coreleaza cele doua curbe din fig. 3.16 intr-un grafic care sa reprezinte NB =/(NH), se obtine curba trasata cu linie continua in fig. 3.17.
Verificarea experiementala pe un mare numar de motoare a acestui rezultat scoate in evidenta existenta unui mare domeniu de imprastiere, fapt care ridica unele semne de intrebare privind reproductibilitatea rezultatelor ce se obtin cu cele doua tipuri de fumetre.
Zona de imprastiere este plasata in domeniul cifrelor Hartridge mari si este cu atat mai intinsa, cu cat numarul si varietatea motoarelor incercate sunt mai importante, ceea ce ofera unele indicii asupra cauzelor fenomenului, in primul rand se observa ca aparitia imprastierii este determinata de toti factorii enumerati mai inainte (care se manifesta cu diverse intensitati de la un motor la altul). La aceste cauze se mai pot adauga urmatoarele:
♦plasarea sondei de gaze poate produce variatii ale citirilor cu 30-50%; daca priza de gaze este luata imediat dupa coturi, adica in zona in care se formeaza vartejuri, sau dupa toba de amortizare, transparenta gazelor este redusa in raportul mentionat, fata de cazul in care priza este inainte de cot sau de toba. Tot astfel, prelevarea de gaze de la capatul deschis al tevii de evacuare (cum se practica de obicei la incercarile pe parcurs) poate introduce abateri datorita pulsatiilor din tevarie. Acestea pot crea fie o supraumplere a fumetrului, fie diluarea probei de gaz cu aer ceea ce face ca rezultatele sa fie greu reproductibile. La fumetrele cu absorbtie a luminii, plasarea sondelor in zone cu presiune mica, iar la fumetrele cu filtrare in zona cu presiuni mari afecteaza citirile;
♦la aparatele de tip Hartridge, gradul de reflexie al peretilor tuburilor de gaz si aer poate suferi modificari in cursul experimentarilor; depozitele de funingine formate reduc reflexibilitatea, in timp ce condensatul de apa o amplifica. Este posibil ca aceste influente sa afecteze amandoua tuburile sau unul singur; in ambele cazuri insa calitatea citirilor sufera (cand este afectat numai tubul de aer, citirile sunt afectate de etalonare). La acelasi efect conduce murdarirea geamurilor limitatoare de protectie la aparatele prevazute cu astfel de elemente, dar fara stergatoare. Fumetrele cu filtrare pot introduce neexactitati datorita modificarii in timp a etanseitatii, precum si datorita abaterilor in calitatea hartiei filtrante. Cand estimarea gradului de fum se face gravimetric, rezultatele obtinute prezinta fluctuatii din cauza dificultatilor legate de determinarea exacta a maselor;
♦regimul la care se efectueaza masurarea poate afecta in gradul cel mai inalt rezultatele obtinute. Se stie ca cifra de fum creste pe masura majoraii sarcinii motorului iar in functie de turatie dupa o curba care are un minim. Prin urmare, mici variatii ale regimului, imprecizia stabilirii sale sau fluctuatii in timpul probelor pot provoca inexactitati care altereaza reproductibilitatea incercarilor. In regimuri tranzitorii fumetrele cu filtrare devin practic neutilizabile. in aceste cazuri dimensiunile tobei de amortizare pot avea influente sensibile asupra citirilor prin efectul de omogenizare diferita a masei gazelor evacuate. De aceea, la incercarile in regim variabil, sondele de gaz trebuie plasate inaintea tobei de amortizare. Modificarea regimurilor functionale determina mutatii in spectrul dimensional al particulelor de funingine. De acest fenomen sunt influentate mai ales fumetrele cu filtrare, insensibile la particule cu dimensiuni sub o anumita limita.
In sfarsit, fumetrele cu absorbtie permit aprecierea densitatii fumului cu ajutorul coeficientului de absorbtie k, rezultat din exprimarea cantitatii de lumina ф care ajunge la celula fotoelectrica:
unde este fluxul emisiv de lumina iar L distanta dintre sursa luminoasa si celula fotoelectrica. Intrucat si L sunt constante ale aparatului, rezulta ca se modifica numai datorita variatiei lui k, deci ca urmare a schimbarii gradului de absorbtie in masa gazoasa din tubul de masura. Unitatea de masura a coeficientului de absorbtie este m
|