Durificarea elementelor active ale stantelor si matritelor prin deformare plastica īn cāmp ultrasonic
5.1 Principiul metodei:
Pentru a mari durabilitatea placilor active si a poansoanelor se poate folosi o d 24524g617y urificare superficiala a acestora īn cāmp ultrasonic. Procesul de deformare plastica la rece a stratului superficial de metal are ca rezultat nu numai īmbunatatirea macro si micro geometriei suprafetei, a preciziei dimensionale si de forma, ci simultan cu acestea, are loc si o īmbunatatire a proprietatilor fizico-mecanice si fizico-chimice ale elementelor active prelucrate. Durificarea superficiala se poate face prin rulare, alunecare, lovire etc.
Dezavantajul acestei metode consta īn faptul ca fortele de apasare aplicate placilor si poansoanelor sunt mari, sculele si utilajele sunt complicate si greu de realizat, necesita masini specializate, procesele sunt complexe.
Este o metoda eficace, īn timpul deformarii plastice a metalelor sa se aplice oscilatii ultrasonore, energia ultrasonora aducānd o contributie deosebita īn desfasurarea acestui proces.
Prin aplicarea ultrasunetelor apar o serie de fenomene complexe cum sunt existenta unor forte dinamice variabile ca semn suprapus peste fortele statice precum si o absorbtie locala a energiei ultrasunetelor ce duce la modificarea conditiilor de curgere a metalului si o deformare mai usoara.
Pe lānga acestea actiunea ultrasunetelor conduce la o activitate a miscarii dislocatiilor mentinute pe loc de obstacole si la aparitia dislocatiilor īn interiorul surselor existente, usurānd īn acest mod procesul de deformare plastica. Ţinānd seama de aceste argumente si ipoteze s-a realizat o instalatie pe care se pot efectua o serie de durificari complexe.
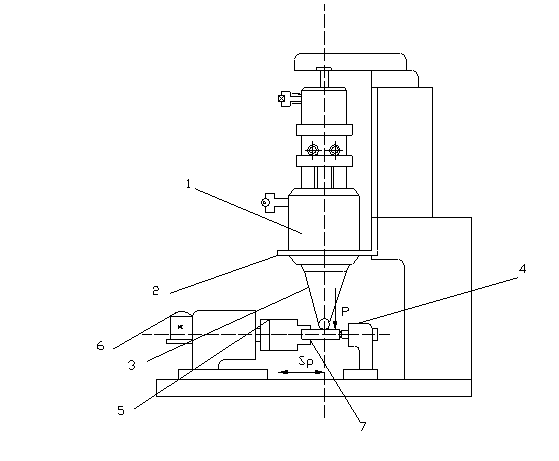
Pe o masina
universala s-a montat un cap special de ultrasunete A, excitat de un
generator G,cu frecventa variabila cuprinsa īntre 15.8 si
28 kHz care are puterea motorului de 0,6 KW. Concentratorul bila care este
apasat cu o forta statica p prelucreaza piesa care se roteste cu turatia
si se
deplaseaza cu avansul
. Reglarea si mentinerea fortei necesare p se face cu ajutorul unui bloc
pneumatic C care face corp comun cu blocul acustic.

Figura 16
Instalatia prezinta urmatoarele parti componente:
Traductor;
Flansa;
concentratorul bila;
dispozitiv de prindere si antrenare a piesei format din papusa mobila;
universal;
motor de antrenare;
piesa supusa durificarii.
Īn cazul durificarii elementelor active realizate din
OSC 8 ( S235 ) forta statica P = 5 daN. Īn functie de forta
statica P se determina tabelar rugozitatea suprafetei
durificate: Rz= 0,8
fata de prelucrarea conventionala din
care rezulta o rugozitate de 3,2
.
Pentru durificarea placii matritei de
stantat se foloseste o amplitudine a oscilatiilor de 15
pentru OSC 8 ( S235 ).
Astfel prin durificare, folosind energia ultrasonica
s-a obtinut o rugozitate de 0,8
fata de rugozitatea initiala de 3,2
, folosind adāncimea de duritate superficiala de: h=
0,1mm, iar avansul
.
Daca se alege un regim optim de durificare cu ultrasunete se obtine o īmbunatatire neta a calitatii suprafetelor active concomitent cu cresterea duritatii, astfel:
rezistenta la uzura:
32..40daN/![]()
iar dupa durificare creste cu 69%; adica
54..67 daN/![]()
.
rezistenta la
oboseala: 29 daN/![]()
iar dupa durificare
creste cu 100%,
58 daN/![]()
5.2 Influenta parametrilor de lucru asupra rugozitatii si microduritatii elementelor active ale stantelor si matritelor prelucrate
Un foarte mare numar de factori influenteaza
calitatea suprafetei prelucrate si duritatea stratului superficial:
rugozitatea initiala
, forta statica P, avansul
, viteza periferica a placilor sau poansoanelor īn
stare bruta
, numarul de treceri i,
amplitudinea oscilatiilor sonore A, raza bilei de deformare
, natura materialului din care sunt realizate elementele
active ale stantelor si matritelor, natura materialului din
care este confectionat concentratorul, frecventa oscilatiilor
ultrasonore etc.
Eficacitatea actiunii ultrasunetelor poate fi apreciata cu niste coeficienti corespunzatori:
Dupa gradul de asperitate

![]()
![]()
Dupa rezistenta la oboseala
![]()
![]()
Dupa rezistenta la uzura
* 100 (%) ![]()
Raza
bilei de deformare
se calculeaza īn
functie de suprafata durificata:
pentru placa activa: L = 100 mm; l = 90mm, numarul de treceri : i = 10 treceri;
Pe
latimea l = 90 mm rezulta diametrul bilei 9 mm, iar
= 4,5 mm
Pentru
un strat aplicat de 0,2
pe trecere se
proiecteaza placa la dimensiuni mai mici:
g = 30 - 2 = 28 mm.
- pentru poanson cu lungimea de: L = 70 mm se proiecteaza la L = 68 mm.
|