|
|
|
|
INTRODUCERE IN TEORIA ERORILOR DE MASURARE SI PRELUCRARE A REZULTATELOR DETERMINATE PE CALE EXPERIMENTALA Scopul lucrarii De a prezenta studentilor cauza aparitiei erorilor de masurare si a elementelor de calcul necesare prelucrarii acestor erori. Generalitati Erori de masurare Masuratorile experimentale realizate pentru determinarea unei marimi fizice implica folosirea unor aparate si tehnicii de lucru date care influenteaza in mod diferit rezultatele finale ale acestora. Acest lucru este apreciat prin intermediul erorilor de masurare. Dupa caracterul acestora erorile de masurare pot fi erori: -grosolane(eg) -sistematice(es) -accidentale(ea) Erorile grosolane,reprezinta masuratori cu abateri mari fat 545d34f a de sirul masuratorilor experimentale realizate si sunt datorate manipularii gresite ale aparatelor sau aplicarii incorecte ale metodelor de calcul alese. Erorile sistematice pot fi erori: constante sau variabile,care variaza dupa legi cunoscute ale aparatelor de masura. Ele pot fi corectate prin tararea instrumentelor de masura sau prin intermediul altor metode de control. Erorile accidentale,pot avea la baza cauze multiple si pot fi: erori datorate aparatelor,mediului in care se face masurarea,subiectivismului operatorului uman,etc. |
|
|
|
|
|
DETERMINAREA UNOR PROPRIETATI FIZICO-MECANICE ALE FLUIDELOR L2.1 DETERMINAREA DENSITATII Scopul lucrarii Sa se determine densitatea si greutatea specifica a unor uleiuri minerale precum si a variatiei acestor marimi fizice cu temperature. Principiul metodei Metoda de determinare are la baza principiul fundamental al hidrostaticii: P+ g z=ct Schita instalatiei
|
|
|
Instalatia este compusa din doua tuburi de sticla in forma de U,montate pe un panou De-a lungul ramurilor verticale ale tuburilor de sticla sunt fixate pe panou 4 rigle gradate cu ecartul diviziunilor distantate la 1mm, folosite pentru masurarea lungimii coloanelor de lichid aflate in ramurile tuburilor de sticla. Robinetele Rb1 si R b3 permit golirea lichidelor aflate in ramurile tuburilor in timpul si dupa realizarea masurilor experimentale,iar prin inchiderea robinetului Rb3 se da posibilitatea mentinerii unei coloane de aer cu rol de tampon intre lichidele aflate in ramurile tuburilor de sticla,pentru aevita amestecul acestora. In tubul U1din ramura din stanga,se introduce lichidul de referinta a carui densitate cunoscuta este r ,iar in tubul U2 din ramura din dreapta,lichidul supus studiului la care urmeaza sa i se determine densitatea r Relatii de calcul :
|
|

|
UNIVERSITATEA
DIN FACULTATEA DE MECANICA ANUL II LABORATOR HIDRAULICA GRUPA: LUCRAREA NR 3 1221 TC L3.MASURAREA PRESIUNII L3.1 MASURAREA PRESIUNII CU AJUTORUL MANOMETRULUI CU MAI MULTE LICHIDE Scopul lucrarii Calculul erorii de masurare a presiunii pentru manometrul cu mai multe lichide in raport cu un aparat etalon. Principiul metodei Metoda de masurare are la baza principiul fundamental al hidrostaticii: P+ g z=ct Plecand de la faptul ca la suprafata de separare a doua fluide nemixcibile presiunea are aceeasi valoare pentru fiecare lichid.
|
Relatii de calcul:


L3.2 MASURAREA PRESIUNII CU AJUTORUL MANOMETRULUI DIFERENTIAL
Scopul lucrarii
Calculul erorii de masurare a presiunii diferentiale determinate cu manometrul diferential in raport cu un aparat etalon.
Principiul metodei
Metoda de masurare are la baza principiul fundamental al hidrostaticii:
g z=ct
Schita instalatiei


|
UNIVERSITATEA DIN FACULTATEA DE MECANICA LABORATOR HIDRAULICA LUCRAREA NR 4 |
STUDENT: ANUL II GRUPA: 1221 TC |
|
|
dp) si a a(Re) a al clapetei de obturare a sectiunii 9, deoarece in acest caz este singura modalitate practica de modificare a debitului de aer ; Motorul electric avand o
turatie de antrenare UNIVERSITATEA DIN FACULTATEA DE MECANICA LABORATOR HIDRAULICA LUCRAREA NR7 |
STUDENT: ANUL II GRUPA: 1221 TC |
|
|
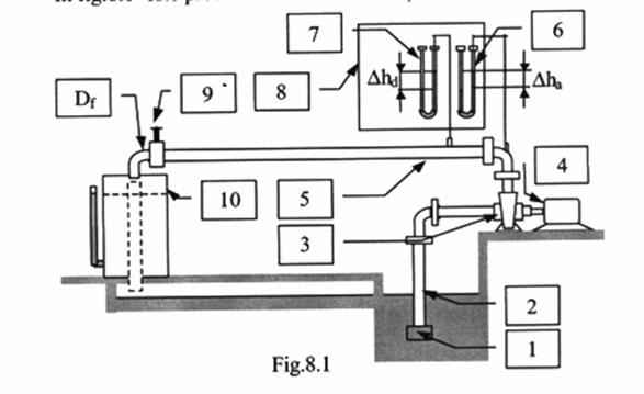
L7. DETERMINAREA CARACTERISTICILOR ENERGETICE ALE UNEI POMPE CENTRIFUGE Scopul lucrarii: Obtinerea pe cale experimentala a principalelor caracteristici energetice ale unei pompe hidrodinamice,respective dependentele functionale : H=H(Q),Pa Pa (Q) si h h(Q),la n=ct. Principiul metodei Determinarea se face conform reglementarilor STAS 5738/75(incercarea pompelor radiale sau axiale). Schita instalatiei
|
||
|
Motorul electric 4 ,antreneaza pompa centrifuga 3,care aspira apa din bazin prin intermediul sorbul 1,montata pe conducta de aspiratie 2. Fluidul este refulat in circuitul hydraulic prin conducta 5. Presiunea de refulare se poate determina cu ajutorul piezometrului cu mercur 6 iar cea de aspiratie a pompei cu ajutorul piezometrului 7. Piezometrele sunt montate pe panoul metalic 8, iar denivelarile: Dhr si Dha de la aceste piezometre sunt citite cu ajutorul unor rigle gradate milimetric ,care sunt montate pe panoul 8. Conducta de refulare deverseaza in vasul etalonat 10,care este folosit pentru determinarea debitului;conducta se termina cu o sectiune mobile,un deflector Df,iar curgerea prin conducta a fluidului este controlata cu ajutorul robinetului 9. Puterea electrica absorbita de motorul 4 este masurata cu ajutorul unui Wattmetru iar turatia motorului se masoara cu un tahometru portabil. Relatii de calcul
|
||
|