Vehiculele echipate cu motoare Diesel ocupa un loc din ce în ce mai important în vânzarile de vehicule noi. Motivele alegerii acestui tip de motorizare, de catre clienti, sunt multiple:
Carburantul utilizat este înca mult mai ieftin decât cel pentru motoarele cu benzina,
Randamentul motoarelor Diesel este superior celui de la motoarele cu benzina, consumul este deci mai scazut,
Usurinta în conducere si performantele motoarelor Diesel le fac sa fie folosite de catre constructorii de automobile si la echiparea cabrioletelor.

Diferit de motorul cu benzina unde aprinderea este comandata, motorul Diesel functioneaza datorita aprinderii spontane a carburantului în timp ce este injectat în camera de ardere. Pentru aceasta, mai multe conditii sunt necesare:
Temperatura aerului în momentul injectiei trebuie sa fie de aproximativ 600° C (400° C minimum). Aceasta temperatura este atinsa prin comprimarea aerului admis în motor.
Motorina este injectata sub presiune înalta (de la 130 la mai mult de 1000 bars) pentru a obtine o pulverizare care sa permita arderea completa a carburantului.
Exemplu de motor F9Qt.
|
|
|
|
|
|
Admisie. |
Compresie. |
Injectie. |
Injectie (vazuta de sus). |
Pentru motoarele Diesel rapide, se utilizeaza un ciclu care permite arderea în doi timp: o parte se face la volum constant, cealalta se face la presiune constanta (ciclul lui Sabathé).
|
|
P Presiune. V Volum. PMS Punct Mort PMI Punct Mort Inferior. A Admisie. B Compresie. C Ardere. D Destindere. E Evacuare. |
Compresia aerului admis trebuie sa permita obtinerea temperaturii necesare la finele compresiei odata cu începerea injectarii de carburant.
Mai multi factori influenteaza aceasta temperatura:
Presiunea la sfârsitul compresiei. Trebuie sa fie de 20 bari minimum cu o diferenta de maximum 4 bari între cilindrii. Rapoartele volumetrice utilizate sunt de aproximativ 15/1 pentru motoarele cu injectie directa la 22/1 pentru motoarele cu injectie indirecta.
Temperatura aerului admis. În anumite cazuri de functionare este necesara încalzirea aerului admis (pre-postîncalzire).
Suprafata de schimb de caldura între camera de ardere si exterior (motoarele cu injectie directa au un raport volumetric mai scazut).
Carburantul patrunde în camera, fiind pulverizat prin injector. Fiecare particula de motorina intra în contact cu aerul supraîncalzit.
Fiecare molecula de carburant gazos începe sa se amestece cu aerul, fazele de ardere fiind urmatoarele:
Oxidarea motorinei si formarea de peroxizi. Particulele fine de carburant care se formeaza în momentul injectiei se oxideaza prin contact cu oxigenul din aerul comprimat pentru a forma peroxizi
Descompunerea peroxizilor. Separarea moleculelor de motorina si oxigenarea provoaca zgomotul caracteristic motorului diesel.
Cracarea. Caldura degajata realizeaza o cracare a picaturilor ramase în stare initiala. Continutul în carbon a moleculelor de carburant este puternic diminuat prin aceasta cracare si antreneaza o diminuare a vitezei de ardere.
|
|
TIMPI MOTOR. |
DIESEL. |
BENZINĂ. |
|
|
ADMISIE. Presiune (P). (mini - maxi). Dozaj. |
Aer aspirat. 0,95 bar la P supraalimentare (nu are clapeta de acceleratie). 1 la 15,84. (1 la 20 ; 1 la 30 în practica). |
Amestec aer-benzina aspirat. 0,35 bar la P atmosferica (P este în functie de sarcina) sau supraalimentare. 1 la 14,8. |
|
|
COMPRESIUNE. Raport volumetric. (V+v)/v P la sfârsit de compresie. |
18/1(Injectie Directe) la 22/1(Injectie Indirecta). 35 la 40 bari. |
8/1 la 10/1. 8 la 12 bari. |
|
|
ARDERE. Aprindere. P la sfârsit de ardere. Temperatura la sfârsit de ardere. |
Aprindere spontana. 50 la 90 bari. 1800 la 2000°C. |
Aport energetic comandat. 35 la 50 bari. 2000 la 2500°C. |
|
|
EVACUARE. Poluare. Temperatura de evacuare. |
NOx. CO, HC, Particule (sarcina mare 450 la 750°C. |
CO, HC (în amestec bogat). NOx (în amestec sarac si sarcini mari). 600 la 900°C. |
|
|
CARBURANT. |
Motorina (Cetan C16H34). Indicele cetanic caracterizeaza capacitatea carburantului de a se autoaprinde. Motorina are o anumita capacitate de lubrefiere. |
Benzina (Octan C8H18). Indicele octanic caracterizeaza capacitatea carburantului de a rezista la autoaprindere. |
|
|
REGIM MAXIM. |
Aproxim. 5000 tr/mn. |
De 5000 la 8000 tr/min aproxim. |
Exista doua tipuri de motoare Diesel :
|
Motoarele cu injectie directa. Injectia este realizata direct în camera de ardere, care se gaseste de regula în piston. Se utilizeaza pentru aceste motoare injectoare cu gauri care necesita presiuni de injectie ridicate pentru pulverizarea carburantului. |
|
|
|
Motoarele cu injectie indirecta. Injectia este realizata într-o antecamera care poate fi de trei tipuri: Camera de preardere, Camera de turbulenta ("Ricardo" folosite pe motoarele Renault), Camera auxiliara. Constructorii aleg un anumit tip de motor potrivit cu aplicatia respectiva. |
|
Injectia directa. |
Injectia indirecta. |
|
Consum mai mic de combustibil. Zgomot la regimuri scazute. Presiune de injectie ridicata. Greu de depoluat (NOx). Necesitatea supraalimentarii (crestere randament). |
Consum mai ridicat de combustibil. Mai putin zgomot. Usor de depoluat. Necesitatea preîncalzirii aerului. |
Parametrii fundamentali pentru gestionarea dozajului de carburant sunt turatia si sarcina motorului. În anumite cazuri, se considera si alti parametri.
Gestionarea electronica permite integrarea mai multor parametri si deci obtinerea unui debit injectat mai precis:
Viteza vehiculului: permite calculul raportului angajat(optimizarea performantelor).
Temperatura motorinei: Permite calculul masei volumice de motorina (emisiile de fum).
Debitul de aer : Permite calculul masei de aer admis în motor (dozaj).
Presiune atmosferica: Permite corectia altimetrica.
Temperatura apei : Permite calculul debitului la pornire (suprasarcina)
Stare decodor : Interdictie debit si antidemaraj activ.
Constrângerile cu privire la depoluare si exigentele clientilor face imposibila gestionarea mecanica asa cum a fost realizata pâna în prezent.

Avansul la injectie este necesar pentru compensarea întârzierilor:
Întârzierea injectiei: timpii care se scurg între debutul injectiei la pompa si debutul injectiei la injector (timpi constanti).
Întârzierea arderii: timpii necesari pentru aprinderea motorinei (timpi variabili).
Este necesar sa se compenseze aceste întârzieri începând injectia la pompa înaintea Punctului Mort Superior al motorului.

Evolutia avansului trebuie, în principal, sa tina cont de viteza motorului, deoarece pentru o aceiasi întârziere, unghiul efectuat de arborele cotit variaza în functie de regim.
În functie de aplicatie, alti parametrii pot fi considerati cum ar fi:
Sarcina motor Corectiile sunt necesare în functie de principiul de pompaj. La pompele rotative cu pistoane radiale se constata o variatie naturala a avansului în functie de sarcina care trebuie sa fie considerata pentru evitarea emisiilor de fum si a zgomotelor de motor. Adica, începutul injectiei este variabil deoarece galetii ataca inelul cu came în functie de cantitatea de motorina (sarcina) care patrunde între cele doua pistoane plonjoare.
Temperatura apa În cazul functionarii la rece, întârzierea arderii este mai importanta, fiind necesara o compensare printr-o corectie a avansului.
Temperatura aer Temperatura aerului are o influenta directa asupra temperaturii sfârsitului de compresie si deci întârzierea arderii.
Presiune atmosferica Daca presiunea de admisie scade, presiunea la sfârsitul compresiei scade. Temperatura la sfârsitul de compresiei devine mai mica si întârzierea arderii creste.
Viteza vehicul Permite calculul raportului de cutie pentru a efectua corectiile în scopul ameliorarii performantelor si a usurintei de a conduce.
Informatie debut injectie: La un Common Rail calculatorul comanda direct începutul deschiderii injectoarelor în functie de pozitia cilindrilor.
Atunci când la o pompa rotativa avansul este gestionat electronic, calculatorul defineste avansul real la transmiterea informatiei PMH motor si informatiei începutului de injectie livrata printr-un injector instrumentat sau un captor de cursa rotor. Daca avansul comandat este diferit de avansul real, se efectueaza o corectie a comenzii de actuator.
|
|
|
Functionarea sistemului de injectie impune alimentarea continua, cu carburant joasa presiune si fara aer, a elementului de pompaj înalta presiune.
Motorina este aspirata din rezervor printr-o pompa de joasa presiune (motorina din conducta de alimentare se gaseste sub depresiune; datorita rezistentelor interne create prin conducte si filtre, pompa de joasa presiune aspira cu dificultate) apoi filtrata, apoi utilizata de pompa de înalta presiune. Returul la rezervor se face odata ce regularea joasei presiuni a fost efectuata si injectoarele au fost alimentate.
Ca si rezervorul de benzina, rezervorul de motorina utilizeaza mai multe supape.
Principalele supape sunt:
Supapa de securitate a depresiunii instalata în rezervor prin care se evita crearea depresiunii în rezervor datorita obturarii supapei de punere la aerul liber.
Punerea la aerul liber a rezervorului.
Supapa anti-scurgere la rasturnare instalata la busonul de umplere.
Zona de admisie a motorinei în rezervor este de regula închisa pentru a evita emisiile (buson etans).
|
Precizia mare de realizare a elementelor componente ale sistemelor Diesel impune alimentarea cu motorina a motorului printr-un filtru care poate opri particule foarte fine de la 2 la 3 microni. Motorina este aspirata din rezervor printr-o pompa interna pompei de injectie. Circuitul functioneaza sub depresiune. Un defect de etanseitate genereaza o priza de aer si deci o dezamorsare a circuitului. |
|
|
|
Principalele functii ale filtrului sunt: Filtreaza impuritatile de ordinul micronului, Decanteaza apa, Scoaterea aerului din motorina, Încalzirea motorinei. Elemente componente filtru Amonte de filtru venind de la rezervor Aval de filtru mergând catre pompa. surub de purjare apa. surub de purjare a circuitului amonte. Conexiune încalzitor motorina. |
Exista mai multe tipuri de filtre:
Fara încalzire,
Cu încalzire electrica,
Cu regulator.
Pentru temperaturi negative, variabilele conforme calitatii carburantului si aditivii, parafina continuta în motorina se cristalizeaza si colmateaza filtrul.
Încalzirea are un rol preventiv, de încalzire a motorinei care circula în tot circuitul si de a împiedica parafina sa cristalizeze în conductele care trec pe sub vehicul.
|
|
Pompa de joasa presiune (pompa de transfer) este de tip volumetric. Aceasta permite, pe de o parte, aspirarea motorinei din rezervor si pe de alta parte, de generare a unui debit catre pompa de înalta presiune. Presiunea este controlata printr-un regulator fie mecanic (cu ajutaj la capat de circuit pentru o pompa rotativa) fie electric (Common rail). 1 - regulator 2 - pompa 3 - filtru 4 - rezervor A - presiune de transfer B - joasa presiune |
Controlul unui circuit este realizat prin masurarea presiunii în aval si amonte de filtru. Valorile obtinute dau o imagine asupra pierderii de sarcina din circuit permitând apoi diagnosticarea.
Pentru a fi relevante, controalele trebuie sa fie efectuate în timp ce debitul în circuit este maxim. În acest scop, este necesar sa se masoare presiunea când motorul este la regim maxim (atentie la precautii).
|
|
|
|
|
|
Presiunea din amonte si aval sunt semnificativ inferioare presiunii atmosferice.
|
|
Conditii de control: |
Interpretare: |
|
|
Circuit aval: |
Valoare normala de - 0,1 Bar. Valoare maxima de - 0,2 Bar. |
|
|
|
Circuit amonte: |
Valoare normala de -0,05 Bar. Valoare maxima de - 0,1 Bar. |
Daca valoarea este inferioara la "- 0,1 Bar" (de exemplu - 0,3 Bar) : |
Circuitul amonte este colmatat. Conducta este obturata sau comunicarea rezervorului cu atmosfera este blocata. |
|
Diferenta între presiuni: |
De exemplu: Aval = - 0,3 Bar. Amonte = - 0,05 Bar. Pierdera de sarcina este: 0,3 - 0,05 = 0,25 bar. |
Daca diferenta între presiunea în aval si cea în amonte este superioara valorii de 0,15 Bar : |
Cartusul este colmatat sau circuitul de retur nu este conform (calibrare sau clapeta de retur a unei pompe rotative dau prea mult debit). |
|
Debit retur: |
Pentru determinarea cauzei unei presiuni aval necorespunzatoare, va fi necesara masurarea debitului de retur. |
Presiunea în aval si debitul de retur normal sau scazut: Presiunea în aval scazuta si debitul de retur important: |
Filtrul este colmatat. surubul sau clapeta de retur de la pompa defecte sau neconforme. |
Aceste valori se iau cu motorul cald fiind în aproape sarcina maxima (debit important).
Carburantul trebuie sa fie dozat cu exactitate. Trebuie sa fie supus la o presiune bine determinata (înalta presiune) si pulverizat în conditii precise: finete, viteza de penetrare si forma jetului adaptat tipului de motor (cu sau fara antecamera de ardere).
Începutul de injectie trebuie sa fie declansat la un anumit moment pentru fiecare cilindru. De asemenea, durata de injectie terbuie sa fie foarte precisa pentru a optimiza energia furnizata prin fiecare picatura de motorina.
|
|
|
|
Circuit de alimentare clasic de înalta presiune. |
|
Pompa de înalta presiune trimite la fiecare injector motorina sub înalta presiune.
4.1.1. Schema de principiu a pompei Bosch cu element de pompare axial
1- platou cu came
2- platou port galeti
3- partea de aspiratie a pompei
4- pompa de transfer
5- fulie de antrenare
6- presiunea de transfer
7- sertaras de avans
8- levier de sarcina
9- regulator de turatie
10-levier regulator de turatie
11-inel de sfirsit de injectie
12-element de pompaj
13-partea de alimentare a capului
hidraulic
14-refularea catre injectoare
a) Functionare

Platou port-galeti (fix).
Platou cu came (se roteste).
Alimentare.
Cap hidraulic.
Bucsa de sfârsit de injectie.
PMI Punct Mort Inferior (piston).
Platou portgaleti.
Platou cu came.
Bucsa de sfârsit de injectie.
X Cursa piston.
PMS Punct Mort Superior (piston).
|
În timp ce pistonul pompei este la punctul mort inferior, orificiile de alimentare ale pistonului comunica cu intrarea motorinei din capul hidraulic. Camera de compresie se umple. |
Alimentare.
|
|
|
|
|
Rotirea pistonului permite închiderea admisiei si punerea în comunicare cu refularea. Translatia pistonului antreneaza de asemenea comprimarea volumului camerei de ardere. Pompa debiteaza. |
Debut de refulare.
|
|
Pistonul continua cursa sa catre PMS pâna ce orifciul de punere la iesire este întâlnit. Sfârsitul de injectie si deci debitul pompei, sunt determinate prin pozitionarea inelului de sfârsit de injectie. Controlul pozitiei inelului de sfârsit de injectie permite gestionarea debitului. |
Sfârsit de injectie.
|
|
|
|
|
Rotatia finala permite coborârea pistonului catre PMI ca si o noua corespondenta pentru admisia de motorina. O rotatie de pompa trebuie sa permita atâtea injectii câti cilindrii exista (6 maximum la Bosch). |
Debut de alimentare.
|
|
|
|
Acest sistem de pompaj permite un debut de injectie fix (debut de injectie la trecerea PMI-ului pistonului de pompa) si un sfârsit de injectie variabil (functie de pozitia inelului de sfârsit de injectie) oricare ar fi debitul injectat.
Parametrii de care se tine cont pentru gestionarea mecanica sunt urmatorii :
turatia motorului prin intermediul unui regulator centrifugal
sarcina motorului prin intermediul pozitiei levierului de sarcina
presiunea din colectorul de admisie, când motorul este supraalimentat
presiunea atmosferica, când motorul este prevazut cu corector altimetric
Pozitia inelului de sfârsit de injectie depinde de echilibrul levierului de reglare. Pozitia levierului depinde de intensitatea fortelor exercitate pe de o parte prin regulator ( informatia de turatie a motorului ) iar pe de alta parte prin levierul de sarcina prin intermediul arcurilor de reglare.

Gestionarea electronica a dozajului.
Gestionarea dozajului poate fi efectuata si electronic, de data aceasta luîndu-se în calcul mult mai multi parametrii. Comanda pozitiei inelului de sfârsit de injectie se realizeaza prin intermediul unui electromagnet comandat în semnal de tip R.C.O.. Calculatorul este informat în permanenta de pozitia inelului de sfârsit de injectie .
2- levier de reglare
3- levier de relanti accelerat
4- arc de reglare
5- actuator de avans
6- levier de sarcina
7- supapa de dozaj
8- STOP electric
9- pompa de transfer
10- conexiune pentru inalta presiune
11-sertaras de suprasarcina
12- inel cu came
13- maselote
14- coaja maselotelor
a) Principiul de pompare radiala în rotatie.
|
1 - inel cu came 2 - galet 3 - port galet 4 - rotor |
5 - piston plonjor 6 - orificiu de refulare 7 - stator (cap hidraulic) 8 - orificiu de alimentare |
|
|
|
|
|
Pistoanele sistemului de pompare sunt montate pe directie radiala. Odata ce orificiile de alimentare ale rotorului comunica cu intrarile de motorina, pistoanele plonjoare se departeaza proportional cu debitul reglat în amonte. În momentul rotirii ansamblului pistoane rotor, alimentarea este întrerupta si orificul de refulare al rotorului este pus în comunicare cu o iesire catre injectorul statorului. Galetii întâlnesc camele inelului cu came. Pistoanele plonjoare se aproprie între ele generând un debit catre injector. Particularitatea acestui sistem este ca debutul injectiei este variabil în functie de debit. Cu cât debitul la injector este mai mare, cu atât galetii ataca camele. |
Debitul este controlat prin pozitia supapei de dozaj care se poate asimila cu un robinet. Acest control consta într-un echilibru dat de forta centrifuga a unui regulator de turatie (informatia de turatie) si forta arcului levierului de sarcina, echilibru ce determina pozitia supapei de dozaj.
În timpul functionarii la rece a motorului temperatura din camera de ardere nu atinge intotdeauna valoarea necesara autoaprinderii amestecului carburant, si de aceea perioada arderii creste existând posibilitatea ca debutul arderii sa se produca dupa P.M.S. al motorului. Pentru a compensa acest efect se apeleaza la cresterea avansului la injectie procedeu numit supracalare.
Doua tipuri de corectii sunt posibile :
- corectia avansului pe cale mecanica
- corectia avansului pe cale hidraulica
Corectia pe cale mecanica consta în actionarea unui sertaras sau asupra unei piese legata de acesta. Comanda poate fi mecanica sau electrica, iar informatia necesara este temperatura motorului. Acest tip de corectie prezinta inconvenientul ca actioneaza în timpul fazei de pornire a motorului, când un avans prea mare poate impiedica demararea acestuia. Pentru anumite aplicatii este necesara dezactivarea acestui sistem inainte de controlul calajului initial).

Corectia hidraulica (sistem numit KSB) consta în cresterea avansului la injectie prin cresterea presiunii de transfer în timpul functionarii la rece. Informatia despre temperatura lichidului de racire a motorului este determinata prin intermediul unei sonde termostatice aflata în circuitul de apa sau a unui termocontact, atunci când comanda este electrica:
ax levier
buson
levier de comanda
pistonas
arc de intârziere

Atunci când motorul este rece se comanda elementul ce permite cresterea presiunii de transfer ce actioneaza asupra sertarasului în sensul cresterii avansului la injectie.
Pentru anumite aplicatii elementul de comanda este închis (nu lucreaza) atunci când motorul nu este pornit.
La atingerea temperaturii normale de functionare se comanda iesirea din functiune a acestui element, iar avansul la injectie trece la valoare de referinta. Acest sistem de corectie al avansului în perioada de functionare la rece a motorului poate fi comandat astfel :

Corectia avansului în functie de sarcina
Principiul pompei radiale prezinta inconvenientul de a avea un avans variabil în functie de sarcina (cu cat debitul aspirat este mai mare cu atat cama ataca mai devreme galetii). Pentru anumite regimuri de functionare ale motorului este necesar a corija avansul pentru a înlatura acest dezavantaj natural. Crestere avansului pentru sarcinile mici ale motorului este realizata prin cresterea, progresiva sau nu, a presiunii de transfer. Informatia de sarcina permite comanda scaderii presiunii de transfer la sarcini mari ale motorului, informatia fiind luata de pe levierul de sarcina al pompei de injectie. Acest sistem se numeste AFC (avans pentru sarcini mici) sau ACP (avans pentru sarcina progresiva). Atunci când avansul este gestionat electronic aceasta corectie este cartografiata.

Pentru a avea un motor mai suplu si mai putin zgomotos se impune diminuarea avansului la injectie pentru sacinile mici. Presiunea în timpul arderii scade atunci când debitul de combustibil se reduce. Maximul presiunii în camera de ardere este avansat în raport cu P.M.S. al motorului.

Pentru pompele rotative BOSCH sistemul consta în diminuarea presiunii de transfer (si deci a avansului) atunci cand se revine la relanti, si se numeste initiator de refulare L.F.B. El utilizeaza pozitia mansonului regulatorului de turatie în aceasta faza de functionare pentru a reduce presiunea de transfer.

Gestionarea electronica a avansului
Acest tip de gestionare permite optimizarea reglajului de debut al injectiei . Oricare ar fi tipul pompei se actioneaza la nivelul presiunii de transfer care se aplica pe sertarasul de avans.
Pentru pompa Bosch
B - descarcarea catre alimentarea pompei
C - canal de gestiune a presiunii
1 - sertaras de avans
2 - electrovana de avans
3 - resort de avans automat
1 - electrovana de avans
2 - sertaras de avans
3 - rotula de legatura
4 - resort de avans automat
5 - inel cu came
Cresterea debitului în timpul fazei de pornire este realizata datorita maririi cursei pistoanelor plonjoare. Aceasta variatie a cursei este obtinuta prin decalajul axial al suportilor de galeti. Suprasarcina este anulata atunci când presiunea de transfer este transmisa catre sertarasul de suprasarcina.

La pompele BOSCH suprasarcina se realizeaza cu un resort de tip lama integrat levierului de sarcina ce permite deplasarea mansonului de sfârsit de injectie catre debite mari atunci când regulatorul nu este antrenat.

4.1.6 Regulatorul de turatie
Motorul DIESEL functioneaza cu exces de aer. Oricare ar fi sarcina motorului, o variatie a regimului de turatie nu va putea fi obtinuta decât prin variatia debitului de carburant injectat. Reglarea turatiei unui motor DIESEL consta în reglarea automata a dozei de combustibil injectat pentru a obtine un regim fix de turatie. În functie de aplicatie va trebui reglata turatia motorului pe întreaga plaja de functionare (cazul motoarelor statice) sau numai pentru anumite regimuri (cazul motoarelor de autoturisme).
Informatia de turatie a motorului este preluata prin intermediul regulatorului centrifugal. Efortul regulatorului asupra levierului este contracarat prin efortul arcurilor apasate la rindul lor de levierul de sarcina. In cazul unei reglari minim-maxim se disting trei faze :
- reglarea relantiului
- faza intermediara
- reglarea regimului maxim
Reglarea pentru toate regimurile de turatie ale motorului se face indiferent de sarcina motorului si se aplica in special la masinile agricole sau de santier, precum si la motoarele statice.
4.1.7. Corectia debitului la motoarele supraalimentate
La motoarele supraalimentate este necesara adaptarea debitului injectat în functie de masa de aer aspirata de motor, masa ce depinde in principal de presiunea de admisie .
In fig. de mai jos este prezentat un exemplu pentru pompa BOSCH.

Corectia mecanica a debitului la supraalimentare - Pompa Lucas
Principiul consta in transmiterea presiunii in spatele sertarasului de suprasarcina proportional cu cresterea presiunii de supraalimentare.

1 - intrare presiune de supraalimentare
2 - piston de pierdere
3 - membrane cu sectiuni diferite
4 - antretoaza
5 - surub crestat
Corectia pe cale electronica
Atunci cand gestionarea debitului este realizata pe cale electronica, masa de aer este masurata direct prin intermediul unui debitmetru volumetric sau masic. In toate cazurile de functionare calculatorul cunoaste sau calculeaza masa de aer aspirata si poate deci sa adapteze doza de combustibil injectat functie de necesitatile motorului.
4.1.8. Functia de pre-postincalzire
Scopul pre-postincalzirii este acela de a creste temperatura aerului admis in motor pentru a diminua intarzierea combustiei in faza de pornire si de functionare la rece a motorului. Functia de preincalzire este indispensabila pentru pornirea la rece a motoarelor DIESEL cu injectie indirecta. Rolul postincalzirii este acela de a diminua gradul de poluare al motorului. Pre-post incalzirea se efectueaza prin intermediul unor bujii cu incandescenta comandate de catre o cutie de pre-postincalzire sau chiar de calculatorul de injectie.
Principiul de functionare :
Preîncalzirea se descompune in doua faze, si anume ;
Preincalzirea variabila functie de temperatura lichidului din sistemului de racire al motorului ( martor aprins )
Preincalzire fixa, dupa stingerea martorului, bujiile raman alimentate un timp de cateva secunde.
Faza de pornire: bujiile ramân sau nu alimentate in functie de temperatura lichidului din sistemul de racire
Postîncalzirea se compune din urmatoarele doua faze :
-postîncalzirea fixa: bujiile raman alimentate simultan sau nu, timp de citeva secunde
-postîncalzirea variabila: bujiile sunt alimentate simultan sau nu, timp de mai multe minute.
Alimentarea bujiilor poate fi taiata daca:
temperatura apei depaseste un anumit prag
sarcina motorului depaseste un anumit prag
Catre fiecare injector motorina comprimata prin elementul de pompaj,
Într-o anumita ordine si la un moment bine precizat.
Clapetele de reaspirare (la iesirea de înalta presiune): permit mentinerea unei anumite presiuni reziduale în conductele de înalta presiune (scurteaza întârzierea injectiei) si asigurarea unei închideri ferme a acului de injector (pentru evitarea stropilor).
De asemenea se gasesc clapete de:
Reaspirare cu debit variabil: variaza volumul de reaspirare a volumului în functie de debitul injectat.
Frânare a reaspiratiei: rolul lor este de a amortiza undele de presiune la închiderea injectoarelor. Fara acest dispozitiv, aceste unde de presiune creaza o redeschidere a injectorului având drept consecinta un exces de fum.
Controlul calajului initial trebuie sa se faca obligatoriu dupa desfacerea sau demontarea pompei ca si dupa orice interventie asupra distributiei oricare ar fi tipul de pompa (total mecanica sau pilotata electronic).
Calajul pompelor BOSCH
Acest calaj consta in masurarea deplasarii pistonului pompei de la punctul sau mort inferior pana cind P.M.S. al motorului a fost atins:
-se monteaza un ceas comparator
-se cauta punctul mort inferior al pistonului pompei rotind motorul in sensul sau de rotatie
-se pune comparatorul la zero
-se roteste motorul pana cand dispozitivul MOT. 1054 pozitioneaza motorul in P.M.S.
-se citeste valoarea pe ceas


Valorile de reglaj difera de la motor la motor si sunt impuse de constructor, de aceea ele trebuiesc respectate cu strictete.
Daca valoarea nu este cea corecta, trebuie ajustata. Sunt posibile doua cazuri:
a) Corpul pompei are gauri ovale de prindere. Reglajul pompei se face modificand pozitia corpului pompei, deci a platoului port- galeti, in raport cu motorul.
b) Daca fixarea pompei nu se face prin gauri ovale, reglajul pompei se face prin fulie, aceasta fiind o fulie cu reglaj micrometric RAM
Calajul pompelor LUCAS
Pompele LUCAS au un debut de injectie variabil în functie de debit . Fiecare pompa poseda propria valoare de reglaj ce poate fi luata de pe o agrafa din plastic care este fixata pe levierul de sarcina al pompei. Verificarea calajului se face astfel:
se pune comparatorul la zero dupa ce tija dispozitivului MOT 1079 este apasata pe ghidul ei
- se roteste motorul pâna când dispozitivul MOT. 1054 pozitioneaza motorul în P.M.S.
se citeste valoarea pe comparator
daca valoarea nu este corecta se procedeaza la ajustarea ei, astfel :
daca fixarea pompei se face în gauri ovale reglajul se efectueaza modificând pozitia corpului pompei ( inelului cu came ) în raport cu motorul
daca fixarea pompei nu se face în gauri ovale reglajul se efectueaza cu ajutorul unei fulii cu reglaj micrometric RAM


|
Injector cu stift. |
Injectorul este elementul major al sistemului Diesel. Calitatea injectiei si deci calitatea arderii sunt direct legate de caracteristicle si reglajele lui. Acesta participa la adaptarea ratei de introducere (cât se injecteaza în cât timp). |
|
Rolul injectorului este de a pulveriza fin motorina la o presiune bine determinata si un jet adaptat la tipul de motor. |
Injector cu gauri. |
Acest cod permite cunoasterea caracteristicilor de injector (tip de injector, unghiul jetului.....). Este important de respectat preconizarile si de controlat conformitatea injectoarelor în caz de disfunctionalitati ale motorului (fum, lipsa de putere, zgomote.....).
|
|
|
Injectoarele cu stift conic sau cu strangulare sunt utilizate pentru motoarele cu injectie indirecta. Injectorul cu strangulare prezinta particularitatea de a permite o injectie cu debit variabil (pre-jet, apoi jet principal).

Injectorul cu gauri este utilizat la motoarele cu injectie directa. Sectiunea mica a gaurilor permit o pulverizare buna, dar necesita o presiune de injectie ridicata. Numarul si dispunerea gaurilor sunt variabile în functie de aplicatie.
Scopul injectorului cu dublu etaj este de a permite cresterea duratei de injectie injectând o parte de motorina în timp ce primul etaj se deschide (aprox. 200 bari), si restul atunci când presiunea a atins 450 bari.
Arderea este mai putin brutala si se constata o diminuare a nivelului de zgomot.
Nivelul de presiune a primului etaj este controlabil cu o pompa de taraj, dar nu este posibila controlarea celui de-al doilea etaj dupa vânzare.
|
|
|
|
|
Repaus. Resortul superior mentine acul injector pe scaunul sau. |
La pre - injectie. La trecerea de 200 bari, presiunea pe ac exercita o forta mai mare decât arcul superior. Acul se deplaseaza si vine în contact cu inelul rosu. |
Injectia. Presiunea creste pâna la 450 Bari, ca si forta pe arc. Forta celor doua arcuri este insuficenta pentru mentinerea acului injectorului. Acesta se ridica si împinge inelul rosu în locasul sau. |
|
|
Anumite pompe pilotate electronic pentru injectia directa sau indirecta au nevoie de informatia de început de injectie. În acest caz, un port-injector se va echipa cu o bobina si un miez mobil. Injectorul instrumentat permite calculatorului de injectie sa determine avansul real prin compararea semnalului PMS motor si a semnalului de ridicare a acului. Acest captor este de tip inductiv si este integrat în injector. În aplicatia urmatoare, captorul poate fi alimentat sau nu. Ax de reglaj. Bobina. Tija-împingatoare. Cablu. Conector. |
Port-injectoarele însurubate în chiulasa sunt utilizate numai pentru injectia indirecta.
Port-injectorul bridat pe chiulasa este utilizat pentru injectia directa sau indirecta.
Pentru injectia directa, injectorul nu trebuie sa aiba decât o anumita pozitie, unghiul de jet, diametrul gaurilor, care au fost stabilite la fabricarea motorului (pozitia injectorului în chiulasa) si punerea la punct a motorului.
|
Controalele unui injector se efectueaza cu ajutorul unei pompe de taraj. Sunt în numar de 5 si trebuie obligatoriu sa fie efectuate cu un lichid specific (de ex. INJECT ELF ED |
|
|
Injector bun
Injector defect |
Controale Presiunea de taraj. Fara o presiune corecta, celelalte controale nu mai sunt concludente. În functie de aplicatie, reglajul este realizat printr-un surub sau prin interpunerea unei cale (variatia de la 10 la 12 bari printr-o zecime de mm a calei interpuse). Forma jetului. Se apreciaza în functie de caracteristicile injectorului (unghiul de jet). Pulverizarea trebuie sa fie uniforma si fara jet concentrat. Etanseitatea externa (între piulita port-injectorului si injector) se apreciaza în timp ce injectorul este mentinut câteva secunde exact sub presiunea lui de taraj. Etansaitatea interna. Se apreciaza observând caderea de presiune de la 100 la 50 bari. Un timp de cadere a presiunii mai mare de 6 secunde indica ca ansamblul injector-portinjector este în buna stare (totusi, atentie la starea pompei de taraj). Daca presiunea cade foarte încet, etanseitatea între injector si port-injector este corecta, dar nu mai exista trecere de motorina între ac si corpul injectorului. În consecinta, acul se va gripa, deoarece lubrifierea nu mai poate fi asigurata. Sforaitul injectoarelor. Injectoarele au un sforait lin, perceptibil numai la cadenta de 1 la 2 pompari pe secunda. Pentru o cadenta mai ridicata, sforaitul se transforma în suierat. |
|
Precautii Motorina sub presiune care intra în sânge prezinta un risc ridicat de îmbolnavire (leucemie). Nu se atinge (cu mâinile goale) acul injector, în caz contrar existând riscul de coroziune a acestuia. Dupa fiecare demontare a injectorului, este necesara înlocuirea garniturii de etansare între port-injector si chiulasa precum si a saibei antiflacara (atentie la sensul de montaj). |
|
|
|
1 - Pompa înalta presiune 2 - Injector 3 - Conducta înalta presiune 4 - Rampa de injectie A - Circuit de alimentare de joasa presiune B - Circuit retur la rezervor |
Circuitul de înalta presiune este echipat cu o pompa de înalta presiune care are rolul de a alimenta rampa de injectie cu motorina sub înalta presiune.
|
|
1 Arbore cu came. 2 Piston. 3 Inel cu came. |
Un arbore cu came (1) antrenat de un motor, care actioneaza alternativ cele trei pistoane (2) prin intermediul inelului cu came (3).
Detaliul unui element de pompare (3 pistoane).
|
În timp ce pistonul coboara, alimentarea de joasa presiune care intra prin orificiul B deschide clapeta (4). Carburantul umple cilindrul. În momentul reurcarii pistonului, clapeta se închide, carburantul este pus sub presiune si evacuat prin orifciul A. A Orifciul de refulare. B Orificiu de admisie.
|
Pompa de transfer.
Pompa înalta presiune.
Captor de temperatura.
Actuator joasa presiune.
Cap hidraulic.
Orificii de fixare.
Intrare motorina.
Retur motorina.
Iesire înalta presiune.
1 Came rotative. 2 Element de pompaj cu pistoane radiale. 3 Electrovana.

Motorul antreneaza cama rotativa (1). În timp ce electrovana (3) se deschide, carburantul sub presiune de alimentare intra în cilindrul de pompaj si departeaza pistoanele (2).
Electrovana se închide în timp ce cantitatea de carburant necesar este admisa.
Apoi, cama rotativa respinge pistoanele care refuleaza carburantul catre rampa.
Atentie: Este interzisa demontarea interiorului pompei sau separarea regulatorului.
|
|
1 Iesirile înaltei presiuni catre injectoare. Captor de presiune. Intrare înalta presiune venind de la pompa. |
|
|
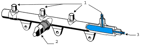
Motorina comprimata prin elementul de pompaj este acumulata sub înalta presiune în rampa comuna. Aceasta rezerva de motorina este apoi distribuita la injectoare prin conductele de înalta presiune. 1 Rampa comuna. 2 Captor de presiune. 3 Intrare înalta presiune. 4 Iesiri înalta presiune. |
|
|
Atentie: Se verifica înaintea fiecarei interventii ca rampa de injectie nu mai este sub presiune si ca temperatura carburantului nu este prea ridicata. Din aceleasi motive este strict interzisa desurubarea unui racord al conductei de înalta presiune atunci când motorul este pornit.

|
1 Gauri de injectie 2 Ac injector 3 Intrare înalta presiune. 4 Conector electric. |
5 Retur de motorina. 6 Bobinaj de comanda. 7 Camera inferioara. 8 Camera superioara. |
9 Arc supapa. 10 Supapa. 11 Arc ac injector. |
Injectoarele sunt comandate individual de catre calculator. Astfel, port injectorul are integrat un sistem de comanda prin bobinaj permitând comandarea electrica a presiunilor de injectie importante.
|
|
Pozitia de repaus: Acul injector (2) este mentinut în pozitia închis prin echilibrarea presiunilor în camera superioara (8) si camera inferioara (7) precum si prin forta arcului de ac injector (11). |
|
Deschidere injector: Când calculatorul comanda deschiderea supapei (10) prin alimentarea alimentarea bobinei (6), camera superioara (8) este pusa la retur (5). În acest caz echilibrul fortelor se pierde, presiunea se exercita în camera inferioara (7) ducând la ridicarea acului injector; injectia începe. Injectia dureaza atât cât bobina este alimentata. |
|
Închidere injector:
Pentru terminarea injectiei, calculatorul înceteaza alimentarea bobinei (6). Forta arcului de supapa (9) reînchide supapa (10). Presiunea în camera superioara (8) reurca la nivelul presiunii de alimentare.
La acest moment echilibrul este restabilit între camera superioara si camera inferioara, acul injectorului se reînchide.
|
|
Înlocuirea garniturii este obligatorie la demontarea injectorului. 1 Injector electromagnetic Common Rail. 2 Brida injector. 3 saiba de etansare. 4 Chiulasa. |
|
Atentie: Acest tip de injector nu necesita tarare. Pentru curatarea injectorului este absolut interzisa utilizarea: Unei perii metalice. Unui abraziv. Ultrasunetelor. |
|
|
1 Captor de cursa sertar regulator. 2 Actuator pentru debit de injectie. 3 Piston de refulare. 4 Electrovana pentru început de injectie. 5 Sertar regulator (manson). |
Pompa cu pompare axiala si regulator electronic respecta acelasi principiu de functionare ca si pompa cu regulator mecanic.
De asemenea, partile de alimentare si cele de distributie a motorinei sunt identice.
Dimpotriva, sertarul de debit este comandat printr-un actuator comandat de calculator. Acesta înlocuieste ansamblul regulator centrifugal si levierul de sarcina.
Avansul este generat printr-o electrovana comandata printr-un calculator care moduleaza presiunea avansului.
Gestionarea debitului.


Comanda pozitiei mansonului este realizata printr-un electromagnet comandat în mase secventiale. Deplasarea în rotatie a actuatorului de debit (2) antreneaza deplasarea în translatie a inelului de sfârsit de injectie (5). Debitul nul este asigurat prin intermediul unui arc.
Când actuatorul nu este alimentat cu curent, debitul injectat prin pompa este nul, datorita actionarii arcurilor de deschidere care readuc culisa de debit în pozitia STOP.
Calculatorul comanda actuatorul de debit în functie:
De pozitia pedalei de acceleratie.
De regimul motor.
si de mai multi parametrii de corectie.
Calculatorul este informat în permanenta de pozitia mansonului pentru a verifica realizarea efectiva a comenzii sale. Captorul de cursa sertar este de tip inductiv.




Gestionarea electronica a avansului permite optimizarea reglajului începutului de injectie în functionare.
În functie de parametrii motor, calculatorul comanda actuatorul de avans conform unei cartografii memorate. El controleaza ca avansul comandat este chiar avansul real prin captorul de ridicare a acului injectorului. Sistemul este buclat si permite o corectie daca este necesar. Peste aceasta corectie care este limitata ca valoare unghiulara, calculatorul genereaza un mod degradat asupra gestionarii sistemului.
|
|
Actuatorul de avans. A - Intrare presiune de transfer B - Descarcare catre alimentare pompa C - Canal de gestionare a presiunii 1 - Cric avans 2 - Electrovana de avans 3 - Arc de avans automat |
|
A - presiune de transfer 1 - cric de avans 2 - arc regulator 3 - platou port-galeti |
|
Evolutia avansului este comandata printr-un cric hidraulic. Pozitia cricului determina pozitia platoului port galeti fata de partea care se roteste a sistemului de pompare. Deplasându-se, sertarul de avans pivoteaza platoul port galeti, camele platoului cu came ataca galetii si avansul va creste. Aceasta evolutie a presiunii de transfer (controlul electrovanei de avans) permite obtinerea evolutiei avansului la injectie.

|
Arbore de antrenare. Pompa de transfer. Carter. Cutie de avans. |
Electrovane. 6 Captor pozitie rotor. 7 Cap hidraulic. |
Pompa cu pompare radiala si regulator electronic este de tip "distribuitor rotativ" bazat pe principiul de pompare/distribuire utilizata în special la pompele cu regulator mecanic.
Dimpotriva, cantitatea de debit injectat este generata printr-un calculator care piloteaza doua electrovane care actioneaza rotorul. Acesta înlocuieste regulatorul centrifugal si levierul de sarcina ale pompelor cu regulator de debit mecanic.
Avansul este generat printr-o electrovana comandata de calculator care moduleaza presiunea de avans.

Elementele de pompare la EPIC.
|
|
1 Arbore de antrenare. Rotor. Patina. Galet. 5 Piston plonjor. |
Pompa de injectie a sistemului EPIC este o pompa rotativa distributiva. Dozajul este realizat prin limitarea cursei plonjoarelo. Aceasta limitare depinde de pozitia axiala a rotorului glisant. Pomparea provine din deplasarea plonjoarelor, împinse prin ansamblul patina/galet sub efectul profilului camei.
|
|
|
|
|
Pozitia rotorului, masurata printr-un captor inductiv, este controlata comandând electrovanele "Débit +" si " Débit -". Deschiderea electrovanei (-) aduce presiunea de transfer respingând rotorul catre debitul nul, pe când electrovana (+) permite evacuarea carburantului, permitând arcului de revenire a rotorului catre pozitia de debit maxim. |
|
|
De exemplu: Când cele doua electrovane sunt închise (alimentate cu curent), rotorul este blocat si cantittatea injectata este constanta. Apoi, când cele doua electrovane sunt deschise (nu este alimentata cu curent), rotorul se deplaseaza natural în sensul reducerii debitului. |
|
Avansul la injectie este comandat printr-o electrovana controlând presiunea de transfer. Aceasta presiune este aplicata în spatele pistonului de avans care permite deplasarea unghiulara a inelului cu came deci de deplasare a momentului când pistoanele plonjoare încep sa comprime motorina.
Captorul de pozitie a inelului cu came.
Punerea contactului, un bobinaj si un miez solidar cu pistonul de avans permite calculatorului sa cunoasca pozitia exacta a inelului. Dupa pornirea motorului, calculatorul poate urmari variatia sa si sa o corecteze.
Electrovana de avans este comandata printr-un curent pulsant modulat (RCO).
Electrovana de oprire este comandata printr-un curent pulsant modulat (RCO) pentru limitarea intensitatii. Nu trebuie sa fie alimentata la 12 volti continuu. Exista riscul de deteriorare a electrovanei.
|