Мета лабораторної ро 454d39e боти:
Явище
поляризації
світла, яке
полягає у виділенні
з світлового
потоку
природного світла
світлових
хвиль з
певними,
однаково направленими
коливаннями
електричного
вектора
,
спостерігається
при
відбиванні і
заломленні
світла на
межі
прозорих
ізотропних діелектриків.
При
падінні
природного
світла на
межу розділу
двох
ізотропних
діелектриків
(наприклад
повітря і
скла) частина
його
відбивається,
а частина
заломлюється
і
поширюється
у другому
середовищі.
Як відомо,
відбивання
світла є
результатом
випромінювання
молекулярних
диполів
діелектрика,
які збуджені
світловою
хвилею.
Природне
світло
характеризується
тим, що у його
хвилі
напрямок
вектора
є невпорядкованим
і швидко
змінюється.
Це, як відомо,
пов’язано з
тим, що
світло, яке
падає на
поверхню діелектрика,
є сукупністю
невпорядкованих
актів
випромінювання
тіла, яке
світиться. Тоді
і диполі
речовини, на
яку падає
світло, починають
здійснювати
невпорядковано
орієнтовані
коливання.
Дослідним
шляхом
встановлено,
що відбитий і
заломлений
промені
світла є частково
поляризованими.
Якщо
пропустити через
аналізатор частково
поляризоване
світло, то
при
обертанні цього
приладу
навколо
напряму
пучка
інтенсивність
світла, яке
пройшло крізь
нього,
змінюватиметься
в межах від
до
, а повне
згасання світла
не
спостерігається.
відповідає
розташуванню
головної площини
поляроїда
вздовж осі
, а
–
вздовж осі
.
Уявімо
частково
поляризоване
світло як сукупність
двох лінійно
поляризованих
хвиль з
різними
амплітудами.
Нехай в одній
хвилі площина
коливання
вектора
збігається
з площиною
падіння, а у другій
– з площиною,
перпендикулярною
до площини
падіння.
Експериментально
встановлено,
що у
відбитому
промені
переважають
коливання
вектора
,
перпендикулярні
площині
падіння (на
рис.1 вони
позначені
крапками), а у
заломленому
промені –
коливання
вектора
, які
паралельні
площині
падіння (на
рис.1 вони
позначені
стрілками). Ступінь
поляризації
відбитого і
заломленого
світла
залежить від
кута падіння
природного
світла.
– інтенсивність
хвиль, у яких
площина
коливань
вектора
збігається
з площиною
падіння світла,
а
– інтенсивність
коливань, у
яких площина
коливань
вектора
перпендикулярна
площині
падіння світла.

. (
(2)
.
a b
; (4)
Згідно (4)
. Кути α і β
пов’язані
виразом
(закон
заломлення),
де n – відносний
показник
заломлення
діелектрика,
який відбиває
світло. При n const
інтенсивність
відбитих
променів
залежить
тільки від
кута падіння α.
Аналіз
наведених
рівнянь
показує, що
коли
, то у цьому
випадку
у
формулі (3) дорівнюватиме
нескінченності,
а значить
, тобто у
відбитому
світлі цієї
складової не
буде, а
.
(
, (
,
де
. Вираз (8)
називається
законом
Брюстера, а
кут
кутом
повної поляризації,
або кутом
Брюстера
(позначається
). Якщо кут
падіння
неполяризованого
світла на
плоску
поверхню
розділу двох
діелектриків
дорівнює
куту
Брюстера, то
відбита світлова
хвиля є
плоскополяризованою:
площина
коливань
світлового
вектора в ній
перпендикулярна
площині
падіння. Якщо
кут падіння
відрізняється
від нуля і не
дорівнює
куту
Брюстера, то
відбите
світло є
частково
поляризованим.

, (9)
де
і
–
абсолютні
показники
заломлення
скла і
повітря,
–
діелектрична
проникність
скла, а
– кут
повної
поляризації
(кут
Брюстера) для
межі розділу «повітря
– скло».
I
відбитого
природного
світла (крива
2), а також відповідні
відносні інтенсивності
лінійно-поляризованого
світла
(крива1) і
(крива 3)
у залежності
від кута
падіння
для
випадку, коли
світло
відбивається
на межі
розділу «повітря
– скло».
Показник
заломлення
скла
.
Розрахунок
за формулою (9)
дає
можливість встановити,
що у цьому
випадку кут
Брюстера (кут
повної
поляризації)
дорівнює
. З графіка
(див. рис.3,
криву 3) видно,
що якщо кут
падіння
дорівнює
куту
Брюстера, то
інтенсивність
поляризованого
світла, у
якого
коливання
вектора
паралельні
площині
падіння,
дорівнює
нулю, тобто у
відбитому
світлі цієї
компоненти
немає. З’ясуємо
внутрішній
механізм
поляризації
світла при
відбиванні
та
заломленні.
Нехай ці
явища
відбуваються
на межі
вакуум-діелектрик.
Досягаючи
діелектрика,
виділені
складові
падаючої
хвилі
спричинятимуть
відповідні
вимушені
коливання
електрично
заряджених
частинок
атомів.

На рис.4
коливання, що
відбуваються
в площині рисунка,
позначено
двобічною
стрілкою
, а
коливання,
перпендикулярні
до площини рисунка
– крапкою
.

Як
відомо, такі
коливання
заряджених
частинок
будуть
джерелами
випромінювання
плоскополяризованих
електромагнітних
хвиль.
Подібно до
мініатюрної
антени
максимум
випромінювання
цих хвиль відбувається
у напрямі,
перпендикулярному
до напряму
коливань.
Графічно
інтенсивність
випромінювання
цих частинок
у різних
напрямках
відображено
у вигляді
пелюсток.
Вторинні
хвилі з
коливанням
вектора
,
перпендикулярними
до площини
рисунка 4,
утворюють
відбитий
промінь; він
буде переважно
поляризованим,
а при куті
падіння Брюстера
– повністю
поляризованим.
Вторинні хвилі
з коливанням
вектора
,
паралельними
площині рис. 4,
накладаючись
на падаючу
хвилю, утворюють
заломлену
хвилю. Ця
хвиля буде частково
поляризованою.

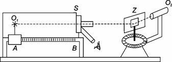
Світло
від
еталонного
джерела
і
вимірювального
джерела
падає
на різні
сторони
екрана S S
світло йде на
дзеркала
і
і
після
відбивання
від них попадає
у спеціальну
призму ЛБ,
яку
називають
кубиком
Люммера. Вона
складається
з двох призм І і ІІ. Призма І має ділянки,
зашліфовані
з країв, а в
середині
обидві
призми відполіровані
так, що у
місті їх
дотику вони
утворюють
оптичний
контакт,
тобто одне
ціле. Завдяки
цьому
промені
світла від
джерела
у
місці
оптичного
контакту
проходять
повністю і
направляються
у лінзу L,
тоді як у
області, де
призма I
зішліфована,
промені
здійснюють
повне внутрішнє
відбивання і
йдуть в
протилежну сторону.
Промені
світла від
джерела
, падаючи
на кубик
Люммера,
відбиваються
від тих
місць, де
немає оптичного
контакту, і
йдуть у лінзу
L, а
промені, які
падають на
місця, де є
оптичний
контакт,
проходять
кубик
наскрізь без
змін. Завдяки
такому ходу
променів,
око, акомодоване
на місце
дотикання
призм I
і II у
кубику
Люммера, буде
бачити
одночасно два
освітлені
поля зору
(так звані
поля
порівняння).
Одне з них
(внутрішнє)
буде
освітлене
джерелом
, а друге
(зовнішнє)
джерелом
. Якщо
світло, яке
йде від
джерела
, дає на
межі розділу
призм I
і II
меншу
освітленість,
ніж світло
від джерела
, то
внутрішнє
поле зору
буде темніше
ніж зовнішнє
(рис.6а). При
зворотному
співвідношенні
освітленостей
буде мати
місце
картина, яка
зображена на
рис.6в. При
рівності освітленостей
утвориться
картина, яка
наведена на
рис.6б.

Рівність яскравості полів буде тоді, коли частини полів порівняння Iа і IIа будуть виглядати однаково темними у порівнянні з частинам полів порівняння I і II (рис.7). Таким чином, тут спостерігається однаковий контраст між яскравістю однакових частин полів порівняння, тому дане поле порівняння і названо його авторами контрастним.

Процес
вимірювання
з
використанням
суб’єктивного
фотометра,
який
використовується
і у даній
лабораторній
роботі,
здійснюють
таким чином.
Вимірювальна
головка
фотометра
зазвичай
знаходиться
на оптичній
лаві. По обидві
сторони від
головки
встановлені
еталонне (
) і те, яке
досліджують (
), джерела
світла. Нехай
еталонне
джерело
встановлено
на відстані
від
екрана S
світловимірювальної
головки.
Спостерігаючи
у окуляр
вимірювальної
головки фотометра
поля зору І і ІІ
на межі
розділу
призм кубика
Люммера, переміщують
встановлене
на рухомому
рейтері
джерело
вздовж
оптичної
лави,
наближуючи
чи
віддаляючи
його від
екрана Е,
до того
моменту поки
не буде
досягнута
рівність
яскравості
видимих у
окулярі
частин полів
порівняння.
I
Отже, освітленість
екрана
джерелом
, сила
світла якого є
, при
перпендикулярному
падінні
променів на
нього
дорівнює:
, (10)
а
освітленість
екрана
джерелом,
сила світла
якого І2,
відповідно
дорівнює:
, (11)
де
–
відстань від джерела
до
екрана S
За
умови, що
освітленості
і
обох
сторін
екрана S
. (12)
Із цього
співвідношення,
якщо відома
сила світла
,
можна
визначити
силу світла
джерела
:
. (13)

Паралельний
пучок світла,
який йде від
джерела
світла
,
відбивається
від
передньої
поверхні дзеркальної
скляної
пластини Z. З метою
мінімізації
відбивання
від неї світла
задня
поверхня
пластинки
зачорнена.
Зліва на
фотометр
падає світло
від джерела
, яким є
лампа
розжарювання,
закрита
екраном,
виготовленим
з чорної
тканини.
Джерело
, яке
закріплене
на
спеціальній
муфті, можна
переміщувати
вздовж
оптичної
лави АВ.
Джерело
,
закріплене
на
гоніометричному
столику,
можна
обертати
разом з
диском, на
якому нанесена
кругова
шкала з
кутовими
поділками.
1. Для
проведення
вимірювань
установку
необхідно
попередньо
підготувати.
Для цього треба
зняти
пластинку Z з
гоніометричного
столика і
обертаючи його
виставити
джерело
так,
щоб промені
від нього
були строго
паралельні
оптичній
лаві АВ
і
перпендикулярні
до екрана
фотометра S.
Переміщуючи
джерело
вздовж
оптичної
лави АВ,
треба підсунути
його впритул
до екрана фотометра S.
Змінюючи за
допомогою
магазину
опорів силу
струму у
нитці
розжарення
лампи, яка служить
джерелом
світла
, треба
досягти
такої
інтенсивності
світлового
потоку від
джерела
, при
якій поля
порівняння Ia і IIa, які
спостерігаються
в полі зору
окуляра
фотометра, як
уже
зазначалося
вище, будуть
мати
однакову
яскравість,
тобто трапеції
в обох полях
порівняння
будуть виглядати
однаково
темними (див.
рис. 7).
Якщо
сила світла
джерела
є
, а сила
світла
джерела
є
, то
за умови
наявності однакової
яскравості у
обох полів
порівняння,
одержимо:
, (14)
де
– це
відстань від екрана
фотометра S до джерела
, яка
відповідає
початковому
положенню
джерела
, а
– це
відстань від
джерела
до
екрана
фотометра S.
r між
екраном
фотометра S і
джерелом
і
запишіть її
значення у
таблицю №1.
3.Для
одержання
залежності відносної
інтенсивності
відбитого
природного
світла від
кута падіння
, треба
послідовно здійснити
такі
маніпуляції
і
вимірювання. Закріпіть
скляну
дзеркальну
пластинку Z в
тримачі, який
знаходиться
в центрі
гоніометричного
столика (див.
рис.9). Поверніть
джерело
так,
щоб кут j Z так,
щоб відбитий
від неї пучок
світла попав
на екран
фотометра S. У ході
проведення
першого і всіх
подальших
вимірювань
треба
слідкувати за
тим, щоб
відбитий
пучок світла завжди
повністю
перекривав
екран
фотометра S. Кут
падіння
, як видно з
рис.9,
визначається
за формулою:
. (15)

4.Поступово
переміщуючи
джерело
вздовж
оптичної лави
АВ вліво
від екрана
фотометра S знайдіть
ту відстань r1 між
ним і лівим
краєм муфти,
на якій
закріплене
джерело
, при якій трапеції,
які
спостерігаються
в полі зору окуляра
фотометра, у
обох полях
зору знову
стануть
однаково темними.
Очевидно,
що у цьому
випадку для
сили
відбитого
природного
світла
виконується
таке
співвідношення
. (16)
Звідси
.
Враховуючи
співвідношення
(14), запишемо:
. (17)
, (18)
де
інтенсивність
природного
світла,
відбитого від
дзеркальної
скляної
пластинки Z ri O S Поетапно
збільшуючи
кут
на 10 ri ji для
природного
світла, які
необхідні
для побудови
графіка
залежності
.
При
проведенні
розрахунків
за формулою (18)
треба брати значення
r0 і ri визначені
з дослідів, а I0 слід
брати рівним
одиниці.
Результати
вимірювань і
розрахунків
запишіть у
таблицю №1.
|
|
|
||||||
|
B-компонента |
|||||||
|
|
|
|
|
|
|
||
|
|
|
|
| ||||
|
|
|
|
|
|
|
|
|
1. Для того,
щоб одержати
лінійно-поляризоване
світло, у
якого
коливання
вектора
напруженості
електричного
поля Е
паралельні,
чи
перпендикулярні
площині падіння,
треба
скористатись
поляроїдною
насадкою, яка
являє собою футляр,
оснащений
поляроїдною
плівкою. При
проведенні
досліджень
цю насадку
треба надівати
на трубку, з
якої
виходить
природне
світло від
джерела
так,
щоб співпали
одна з одною
відповідна мітка
на
поляроїдній
насадці
(позначена літерою
А або Б), і
мітка на
трубці.
Z O O SO
3. Підсуньте джерело
впритул
до екрана фотометра
S, тобто
на відстань
, яка
повинна бути
такою ж, як і в
попередньому
досліді.
Змінюючи, як
і в п. 1
попереднього
досліду, силу
струму у
нитці
розжарення
лампи, яка служить
джерелом
світла
, треба
досягти
такої
інтенсивності
світлового
потоку від
джерела
, при
якій поля
порівняння Ia і IIa, які
спостерігаються
в полі зору
окуляра фотометра,
будуть мати
однакову
яскравість,
тобто
трапеції в
обох полях
порівняння
будуть
однаково
темними (див.
рис.7).
4. Для
одержання
експериментальних
даних, необхідних
для побудови
залежностей
і
для
лінійно
поляризованого
світла, проведіть
вимірювання
, і
за
методикою,
наведеною
вище у п. 3 ÷5 попереднього
досліду. При
проведенні
вимірювань поблизу
кута
Брюстера,
тобто коли
,
вимірювання
слід
проводити
особливо
уважно і
ретельно,
змінюючи кут j на
.
5. Розрахуйте
за формулою (18)
відносні
інтенсивності
лінійно
поляризованого
світла для А і В його
компонент
для усіх
досліджених
вами значень
кутів
падіння
при
значеннях
. .Результати
вимірювань і
розрахунків
запишіть у
таблицю №1.
Попередньо
проаналізувавши
дані щодо
залежності
відносних
інтенсивностей
лінійно
поляризованого
світла для А і В його
компонент
від кутів
падіння αi,
які
представлені
в таблиці №1,
встановіть яке
положення
поляроїдної
насадки на
трубі
джерела
(А чи В)
дає
можливість
одержати
лінійно-поляризоване
світло, у
якого
коливання
вектора напруженості
електричного
поля
паралельні
(перпендикулярні)
площині
падіння.
6.Враховуючи
результати
визначення
згідно п.5
відповідності
компонент А і В
досліджуваним
видам
лінійної
поляризації
природного
світла,
побудуйте за
даними, які
містить
таблиця №1,
графіки
залежностей
і
. З
експериментальної
залежності
визначте
кут повної
поляризації
(кут
Брюстера), а
далі за
формулою (9)
показник
заломлення
скла, з якого
виготовлена
пластинка, а
також його
діелектричну
проникність.
7.Нанесіть на
криві, які
відображають
теоретично
розраховані
залежності
(див
рис.3), точки,
які отримані
вами при
проведенні фотометричних
досліджень
залежності
відносної
інтенсивності
природного
світла від
кута падіння
.
Порівняйте
ступінь збігу
експериментальних
залежностей
і даних,
отриманих
шляхом
проведення
теоретичних
розрахунків,
виконаних за
формулами
Френеля.
Зробіть
висновки.
|