Documente online.
Zona de administrare documente. Fisierele tale
Am uitat parola x Creaza cont nou
 HomeExploreaza
upload
Upload




CONTROLUL CONTURILOR

Drept


CONTROLUL CONTURILOR

1. Elementele probante în audit



Potrivit Standardelor Internationale de Audit, elementele pro­bante într-o misiune de audit ("audit evidence" sau "elements probants") reprezinta informatii obtinute de auditor pentru a ajunge la concluzii pe care acesta îsi fondeaza opinia; aceste informatii constau în documente justificative si documente contabile care stau la baza situatiilor financiare si care sunt coroborate cu informatii din alte surse.

Elementele probante sunt obtinute printr-o combinare adec­vata a testelor de procedura cu controalele substantive sau numai prin controalele substantive. Testele de procedura sunt testele care permit obtinerea de elemente probante privind eficacitatea conce­perii si functionarii sistemelor contabile si de control intern. Con­troalele substantive sunt controale proprii ale auditorului în conta­bilitatea întreprinderii si constau în proceduri care urmaresc obti­nerea elementelor probante prin care sunt detectate anomalii semnificative în situatiile financiare; ele sunt de doua tipuri:

controale privind tranzactiile, operatiile si soldurile con­
turilor;

proceduri analitice care constau în analiza tendintelor si
ratiourilor (rapoartelor) semnificative, examenul variatii­
lor si examene de coerenta cu alte informatii.

în functie de credibilitatea informatiilor obtinute în etapele precedente, auditorul stabileste programele de control a conturilor pe baza carora sa poata obtine elementele probante necesare fundamentarii opiniei sale.


Initiere în auditul situatiilor financiare ale unei entitati

Aceasta etapa a misiunii are, deci, ca obiectiv reunirea ele­mentelor probante pentru a putea exprima o opinie motivata asupra conturilor anuale, ceea ce presupune asigurarea respectarii regulilor i legale si regulamentare de catre întreprindere si anume:

regulile de prezentare si de evaluare stipulate în normele
legale si în cele profesionale;

reguli de prudenta;

regulile referitoare la inventarieri;

reguli de tinere a registrelor si a contabilitatii;

existenta activelor si faptul ca acestea apartin întreprin­
derii;

pasivele patrimoniale, veniturile si cheltuielile privesc în­
treprinderea în cauza.

Elementele probante trebuie sa îndeplineasca cumulativ doua conditii de calitate pentru a putea sa stea la baza fondarii unei opinii: sa fie suficiente si sa fie juste (adecvate).

Caracterul suficient se stabileste în raport cu numarul de ele­mente probante colectate; caracterul just se apreciaza în raport cu gradul de adecvare, cu pertinenta, fiabilitatea lor. în mod normal, auditorul considera necesar sa se sprijine pe elemente probante care nu sunt concludente prin ele însele, dar care contribuie la elaborarea convingerii sale. El poate deseori sa fie determinat sa caute elemente probante de sursa sau natura diferita pentru a corobora o aceeasi afirmatie.

Elementele probante trebuie, în ansamblul lor, sa permita auditorului sa-si faca o opinie cu privire la situatiile financiare. în general, auditorul nu examineaza totalitatea informatiilor la care are acces pentru a-si forma opinia, în masura în care el poate ajunge la o concluzie cu privire la soldul unui cont, o categorie de operatii


Dr. ec. Marin Toma

sau un control intern, aplicând tehnici de sondaj bazate pe ratio­nament profesional sau esantion statistic.

Factorii care influenteaza rationamentul auditorului în lega­tura cu ceea ce constituie elemente probante suficiente cuprind:

Importanta riscului de inexactitate; acest risc poate
depinde de:

natura elementelor în cauza;

adecvarea controlului intern;

natura activitatilor realizate;

existenta unor situatii susceptibile de a exercita o
influenta neobisnuita asupra conducerii întreprinderii;

situatia financiara a întreprinderii.


Importanta relativa a elementului avut în vedere, tinând
seama de ansamblul informatiilor bilantului contabil.

Experienta capatata în cursul unor auditari anterioare.

Concluziile procedurilor de audit, în special descoperirea
eventuala a unor fraude sau erori.

Tipul de informatie disponibila.

în cazul obtinerii de elemente probante pornind de la testele de procedura, aspectele sistemelor contabile si de control intern asupra carora auditorul va strânge elemente probante se refera la:

conceperea sistemelor contabile si de control intern; sunt
aceste sisteme concepute de o maniera care sa previna
sau sa detecteze si corecteze anomalii semnificative?

functionarea sistemelor contabile si de control intern;
aceste sisteme au functionat de o maniera satisfacatoare
pe toata perioada?

în colectarea elementelor probante pornind de la procedurile de conformitate, auditorul se asigura de posibilitatea obtinerii unor afirmatii în materie:

Initiere în auditul situatiilor financiare ale unei entitati

a de existenta: controlul intern exista?

de eficacitate: controlul intern functioneaza eficace?

a de permanenta: controlul a functionat eficace pe toata perioada în cursul careia auditorul întelege sa se sprijine pe el?

în cazul obtinerii de elemente probante pornind de la controa­lele substantive, auditorul trebuie sa determine daca elementele rezultate din aceste controale precum si din testele de procedura sunt suficiente si adecvate pentru a stabili daca la elaborarea situa­tiilor financiare de catre conducerea întreprinderii au fost întrunite criteriile urmatoare:

de existenta: un element al activului sau pasivului exista
la un moment dat;

de drepturi si obligatii: un element de activ este un drept
al întreprinderii iar un element de pasiv este o obligatie
pentru întreprinderea data, la un moment dat;

de apartenenta (de realitate) tranzactiile sau evenimentele
se refera la întreprinderea data si s-au produs în cursul
perioadei respective;

de exhaustivitate: activele, datoriile, tranzactiile sau eveni­
mentele au fost înregistrate si toate faptele importante au
fost mentionate;

de evaluare: înregistrarea unui activ sau a unei datorii s-a
facut la valoarea lor de inventar:

de masurare: o operatie sau un eveniment este înregistrata
la valoarea sa de tranzactionare si un venit sau o cheltuiala
apartin perioadei;

de prezentare si publicitate: o informatie este prezentata,
clasata si descrisa conform referentialului contabil apli­
cabil.




Dr. ec. Marin Toma

Obtinerea de elemente probante privind o informatie data, de exemplu, existenta de stocuri, nu scuteste obtinerea de elemente probante pentru o alta afirmatie, de exemplu, evaluarea lor.

Auditorul poate obtine un grad de certitudine mai ridicat atunci când elementele probante adunate, de origine si de natura diferite, sunt concordante. în acest caz, auditorul poate obtine un grad de certitudine global superior celui pe care îl obtine din fiecare din elementele probante luate izolat. Invers, atunci când elementele probante obtinute din surse diferite nu sunt concordante între ele, poate fi necesara folosirea unor proceduri suplimentare în scopul rezolvarii contradictiei.

Trebuie sa existe un raport rezonabil între costul pentru obtinerea unor elemente probante si utilitatea informatiei obtinute. Cu toate acestea, dificultatile si costurile suportate pentru a controla un element deosebit nu pot justifica valabil, prin ele însele, omi­siunea unei proceduri.

Atunci când auditorul are dubii legitime cu privire la o infor­matie care prezinta o importanta semnificativa, el trebuie sa se straduiasca sa obtina elemente probante suficiente pentru a elimina aceste dubii. Daca nu este în masura sa obtina aceste elemente probante suficiente, el nu trebuie sa formuleze o opinie fara rezerva.

2. Programul de control

Nu exista un program standard de control al conturilor deoarece acest program depinde exclusiv de rezultatele etapelor precedente si de caracteristicile fiecarei întreprinderi.

Dupa cum s-a vazut, etapa de cunoastere a întreprinderii a permis determinarea domeniilor semnificative, a zonelor de risc si a naturii operatiilor; în etapa referitoare la aprecierea controlului intern, auditorul a avut posibilitatea identificarii existentei con-

Initiere în auditul situatiilor financiare ale unei entitati

traiului intern pe care se poate sprijini si verificarii modului de functionare a acestuia. Numai în functie de aceste fluxuri de informatii si de gradul de fiabilitate al lor auditorul îsi stabileste programul de control al conturilor care, asa cum s-a mai amintit, poate fi restrâns sau extins.

Pentru stabilirea programului de control, auditorul va utiliza planul de misiune si foaia de sinteza a aprecierii controlului intern, documente ce asigura legatura cu etapele precedente.

Programul de control poate fi stabilit pe o foaie de lucru speciala, care contine rubricile urmatoare:

lista controalelor de efectuat, ordonata pe sectiunile situa­
tiilor financiare; aceste controale trebuie cât mai bine deta­
liate pentru a fi usor de identificat documentele si infor­
matiile necesare a se solicita întreprinderii;

întinderea esantionului: tinând seama de pragul de semni­
ficatie si de evenimentele erori ce pot fi descoperite, este
indicat ca în aceasta coloana sa se mentioneze volumul
sondajelor de efectuat pentru controlul respectiv;

indicarea datei la care a fost efectuat controlul este foarte
importanta, având în vedere ca, calitatea unui control de­
pinde de data la care s-a efectuat. Aceasta coloana va fi
completata pe masura avansarii programului de control,
ceea ce permite urmarirea cronologica a lucrarilor;



o referinta pentru foaia de lucru;

probleme întâlnite: aceasta coloana se foloseste pentru
supervizarea lucrarilor si pentru a stabili sinteza rezulta­
telor controalelor.

Un exemplu de structura a unui program de control se pre­zinta astfel:




Dr. ec. Marin Toma




Dosar

Program de control - controlul imobilizarilor -

Ref:

Pag:

Exercitiu


Auditor:

Data:

Viza responsabilului:

Data crearii: Data actualizarii:


Controale de efectuat

Marimea esantionului

Facut de
la data de

Referinta (Foaia de lucru)

Probleme întâlnite

Verificarea achizitiilor exercitiului pe baza de comenzi, facturi si receptii

Sume mai mari de 75.000 mii lei

Ionescu

A6

Nimic

3. Tehnici de control pentru obtinerea elementelor probante

Pe tot parcursul misiunii sale, auditorul urmareste obtinerea elementelor probante care sa îi permita sa dea certificarea asupra situatiilor financiare, utilizând diverse procedee si tehnici care pri­vesc:

□ controlul asupra pieselor justificative si control de verosi­militate;

a observarea fizica; a examenul analitic.

Pentru obtinerea elementelor probante, tehnicile de control folosite sunt:

inscectia fizica si observatia, care constau în a examina

Initiere în auditul situatiilor financiare ale unei entitati

activele, conturile sau în a observa maniera de aplicare a procedurilor;

confirmarea externa f directa), care consta în a obtine de
la tertii întreprinderii informatii asupra soldurilor conturi­
lor bilaterale sau asupra operatiilor derulate;

examenul documentelor primite de catre întreprindere,
care servesc ca piese justificative sau la controlul operatii­
lor respective;

examenul documentelor emise de catre întreprindere: copii
facturi, conturi, balante etc;

control aritmetic

analize, estimari si confruntari între informatii si docu­
mente

examen analitic, care consta în:


efectuarea de comparatii între datele care rezulta din
situatiile financiare si datele anterioare, posterioare si
previzionale ale întreprinderii;

analiza abaterilor si tendintelor;

studiul si analiza elementelor neobisnuite ce rezulta din
comparatiile efectuate;

informatii verbale obtinute de la conducere si de la alte
cadre din întreprindere.

a) Tehnica sondajului

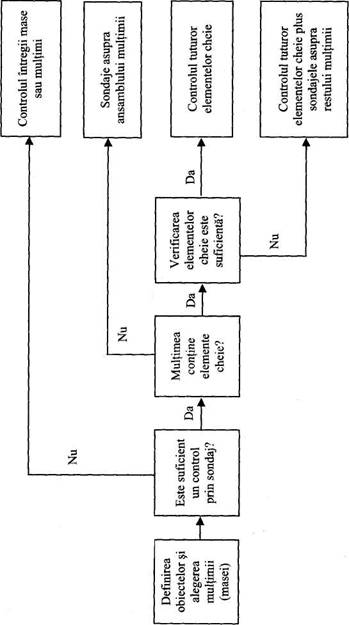
Ţinând seama de numarul de operatii efectuate de întreprin­dere, auditorul nu poate verifica integral, de exemplu, rulajele sau soldurile unui cont. El cauta elementele probante pe un esantion adecvat, utilizând tehnica sondajului cel mai bine adaptat fiecarei situatii.




Dr. ec. Marin Toma

Initiere în auditul situatiilor financiare ale unei entitati


Sondajul este definit ca o tehnica ce consta în selectionarea unui anumit numar sau parti dintr-o multime, aplicarea la acestea a tehnicilor de obtinere a elementelor probante si extrapolarea rezul­tatelor obtinute asupra esantionului la întreaga masa sau multime. Tehnica sondajului este reglementata de Standardul International de Audit (ISA) nr. 530.

Sondajele pe care le realizeaza auditorul în cursul misiunii sale sunt de doua naturi diferite:

în unele cazuri, în general cu ocazia verificarii functionarii
controlului intern, auditorul cauta sa demonstreze ca elementele
care constituie masa, multimea, prezinta o caracteristica comuna
(de exemplu, vizarea sau aprofundarea comenzilor cu ocazia cum­
pararilor); sondajele efectuate în astfel de cazuri sunt sondaje asupra
atributiilor

în alte cazuri, în general cu ocazia controlului conturilor,
auditorul cauta sa verifice valoarea data unei multimi sau unei mase;
acestea sunt sondaje asupra valorilor.

Auditorul poate folosi în general doua tipuri de sondaje: son­dajul statistic si sondajul nestatistic, bazat exclusiv pe experienta sa profesionala; acesta din urma, însa, nu permite o extrapolare ri­guroasa a rezultatelor obtinute asupra esantionului la întreaga masa sau multime. Alegerea între cele doua tipuri de sondaje depinde de pregatirea profesionala a auditorului si de gradul de credibilitate pe care acesta doreste sa îl dea concluziilor sale.

Oricare ar fi însa tipul de sondaj, este important sa fie respec­tate câteva reguli riguroase privind decizia asupra esantionului si pentru parcurgerea unor etape obligatorii.

Deciziile prealabile executarii sondajului pot fi prezentate schematic astfel:



Dr. ec. Marin Toma

Initiere în auditul situatiilor financiare ale unei entitati




Eficacitatea unui sondaj este conditionata de definirea precisa a obiectivelor sale: Auditorul trebuie deci sa explice:

ce cauta sa demonstreze, sa probeze. Aceasta etapa îi per­
mite sa defineasca apriori caracteristicile a ceea ce va
trebui sa fie considerat ca o eroare sau o anomalie. De
exemplu, sa demonstreze ca punctajul între avizele de ex­
pediere si facturi realizat de personalul întreprinderii poate
scoate în evidenta toate expedierile în curs de facturare;

ca rata erorilor existente în multime (masa) nu depaseste
rata maxima acceptabila de anomalii de functionare, adica
pragul peste care expertul va considera ca controlul intern
nu functioneaza de o maniera satisfacatoare.

Alegerea naturii multimii, a masei este foarte importanta: a-ceasta trebuie sa fie compatibila cu obiectivul urmarit.

De exemplu, pentru a verifica ca toate receptiile au condus la contabilizarea facturilor respective, masa de baza (multimea) trebuie sa o constituie bonurile (notele) de receptie si nu facturile contabilizate.



Auditorul trebuie, de asemenea, sa defineasca limitele de timp (perioada) care va servi ca baza a selectiei sale din întreaga masa (multime).

O caracteristica a maselor (multimilor) care servesc ca baza controalelor este ca acestea sunt, foarte rar, omogene; de aceea, analiza masei (a multimii) este necesara, ea permitând decuparea, împartirea în submase cu caracteristici suficient de omogene pentru a nu denatura rezultatele sondajului.

în sfârsit, la alegerea masei, aceasta trebuie bine identificata: numar de elemente sau valoare cumulata în functie de natura sonda­jului de facut, identificarea criteriilor care vor permite sa se decida, în timpul efectuarii sondajului, daca elementul este corect sau nu (de exemplu, existenta semnaturii domnului X pe documente sau


ce valoare se întelege prin suma din factura fara TVA etc), cifrarea ratei de anomalii si de erori maxim acceptabile.

Din moment ce procedeaza la sondaje, auditorul este supus unui risc: acela de a ajunge la concluzii diferite de cele la care s-ar fi ajuns printr-un control exhaustiv; acesta este riscul practicarii controlului prin sondaj si el exista întotdeauna. Auditul fiind prin natura sa un control prin sondaj, rezulta ca acest risc este inerent.

Acest risc poate fi însa redus printr-o organizare riguroasa a actiunii de audit si prin alegerea tehnicilor de control cele mai adecvate.

Elementele cheie dintr-o multime sunt elementele care, fie datorita naturii lor (exemplu, conturi intitulate gresit sau neinti­tulate), fie datorita valorii lor (exemplu, elemente care exced pragul de semnificatie fixat), prezinta riscuri si, ca atare, auditorul poate decide verificarea integrala a acestora.

Daca verificarea elementelor cheie nu este considerata ca suficienta, restul multimii poate face obiectul unor sondaje.

Dupa ce si-a definit obiectivele sondajului si a ales masa (multimea), se trece la executarea sondajului, parcurgându-se mai multe etape, dupa urmatoarea schema:

Alegerea tehnicilor este influentata de doua elemente: natura controlului de efectuat (sondaje asupra atributiilor sau sondaje asupra valorilor) si recurgerea sau nerecurgerea la tehnici statistice.

Alegerea aplicarii sau nu a tehnicilor statistice este la latitu­dinea si rationamentul auditorului: în nici un caz însa, recurgerea la sondajul nestatistic nu trebuie sa fie justificata prin faptul ca ea permite reducerea taliei esantionului.


Dr. ec. Marin Toma

Alegerea tehnicii de lucru retinute depinde de urmatorii factori:

talia masei respective (cu cât e mai mare cu atât recurgerea
la tehnici statistice este mai indicata);

capacitatea acesteia de a îndeplini obiectivele sondajului;

raportul cost/eficacitate al tehnicii alese (costurile impuse
pentru realizarea unui sondaj statistic sunt uneori dispro­
portionate fata de obiectivele si utilitatea sondajului).

Determinarea taliei esantionului se face în functie de unii factori care difera dupa cum este vorba de sondaje asupra atributiilor sau de sondaje asupra valorilor.

Selectionarea esantionului. Oricare ar fi metoda utilizata pentru alegere, esantionul selectionat trebuie sa fie reprezentativ. Toate elementele masei (multimii) trebuie considerate susceptibile de a fi selectionate. Aceasta selectie poate fi facuta fie prin tragere la întâmplare, fie de o maniera sistematica, cu conditia ca primul element sa se aleaga fie la întâmplare, fie de o maniera empirica.

Studiul esantionului. Pentru ca esantionul sa aiba un caracter probant, toate elementele selectionate trebuie sa fie controlate. Se poate întâmpla însa ca auditorul sa fie în imposibilitatea de a face acest control deoarece, de exemplu, documentele corespunzatoare nu sunt disponibile. în acest caz, el trebuie sa se întrebe daca, con­siderând elementele necontrolate ca erori, se depaseste pragul de erori acceptabil: daca raspunsul este afirmativ, el va cauta proceduri de control alternative care sa-i permita exprimarea unei concluzii motivate asupra acestor elemente; daca raspunsul e negativ nu sunt necesare proceduri alternative de control, dar auditorul se poate întreba daca acest fapt nu este de natura sa puna în discutie încre­derea acordata controlului intern.

Evaluarea rezultatelor. înainte de tragerea unei concluzii generale asupra rezultatelor obtinute, fiecare anomalie constatata

148
este examinata în sensul aprecierii daca aceste anomalii surJ într-adevar reprezentative pentru masa (multimea) respectiva sa sunt accidentale, si al aprecierii daca aceste anomalii nu suc revelatoare pentru o problema mai grava decât aparentele (de exerrj piu, o frauda).

Anomaliile exceptionale sunt analizate si tratate separat s
numai dupa izolarea efectelor acestora este posibila extrapolare!
rezultatelor obtinute asupra esantionului la întreaga multime (masa
care a servit ca baza sondajului.

Concluziile sondajului. Concluzia finala asupra postulu tranzactiilor sau operatiilor care au facut obiectul controlului va \ suma concluziilor trase:

asupra elementelor cheie care au facut obiectul unu
control;

asupra anomaliilor exceptionale constatate;

asupra restului masei (multimii).

Daca concluzia finala este ca anomaliile sau erorile din multi mea controlata depasesc rata de anomalii sau de erori asteptat; auditorul trebuie sa se întrebe daca nu este necesara repunerea î cauza a aprecierii sale asupra controlului intern.

b) Tehnica observarii fizice

Observarea fizica este mijlocul cel mai eficace de verificare a existentei unui activ, însa ea nu aduce decât o parte din elementele probante necesare si anume numai existenta bunului respectiv celelalte elemente probante ca: proprietatea asupra bunului, valoarea atribuita etc. trebuie verificate prin alte tehnici.

Actiunile întreprinse de auditor pe linia controlului stocurile, de exemplu, au ca obiectiv asigurarea ca:

întreprinderea a prevazut mijloace corespunzatoare care
permit recenzarea activelor în conditii de fiabilitati


149

Dr. ec. Marin Toma

aceasta faza a interventiei consta în studierea procedurilor de inventariere si se situeaza deci înaintea inventarierii propriu-zise;

aceste mijloace sunt puse în aplicare în mod satisfacator;
aceasta faza consta în verificarea faptului ca persoanele
însarcinate cu inventarierea aplica în mod corect procedu­
rile si se situeaza în timpul inventarierii popriu-zise;

lucrarile de inventariere au fost corect exploatate (valorifi­
cate); aceasta faza consta în a controla daca cantitatile
recente sunt cele utilizate pentru evaluarea sumei stocu­
rilor si se situeaza deci dupa inventarierea propriu-zisa.

c) Confirmarea externa (directa)

Este o procedura care consta în a cere unui tert având legaturi de afaceri cu întreprinderea verificata, sa confirme direct auditorului informatiile privind existenta operatiilor, a soldurilor etc. Auditorul are latitudinea de a determina conditiile si întinderea acestei proceduri.

Procedura se demareaza cu acordul conducerii întreprinderii supusa controlului; daca aceasta nu se arata favorabila pentru o astfel de procedura, auditorul se poate gasi în una din urmatoarele doua situatii:

sau considera ca tehnicile compensatorii de control îi aduc
elemente suficiente de proba;

sau considera ca alte controale nu-1 conduc la elemente
probante fata de limitele impuse de conducerea între­
prinderii, care va suporta consecintele necesare cu privire
la certificare.

Standardul International de Audit (ISA) nr. 505 defineste principalele cazuri în care auditorul are obligatia sa procedeze la folosirea tehnicii confirmarii directe:


Initiere în auditul situatiilor financiare ale unei entitati

confirmarea unor cauze în baza carora s-au realizat unele
tranzactii;

confirmarea de catre banci a soldurilor conturilor si alte
informatii considerate necesare;

confirmarea conturilor de clienti si debitori;

confirmarea stocurilor în depozite vamale, în consignatie
si alte stocuri la terti;

valori mobiliare cumparate prin intermediari financiari;

împrumuturi de la terti;

confirmarea soldurilor costurilor de furnizori si creditori.

Confirmarea poate sa fie pozitiva, atunci când tertul solicitat îsi exprima acordul asupra informatiei primita sau furnizeaza chiar el informatia, sau negativa, atunci când tertului solicitat i se cere sa nu raspunda decât în cazul în care nu este de acord cu informatia care i s-a prezentat.

Auditorul trebuie sa ia în consideratie orice fapt de natura sa puna în discutie fiabilitatea raspunsului obtinut la cererea de con­firmare externa (directa).

Procedurile si principiile fundamentale, precum si modalitatile lor de aplicare, în legatura cu utilizarea de catre auditor a procedurii confirmarii externe (directe) ca mijloc de obtinere a elementelor probante, sunt reglementate prin Standardul International de Audit (ISA) nr. 505, aplicabil începând cu auditul situatiilor financiare ale anului 2001.

d) Procedurile analitice

Procedurile analitice cuprind compararea informatiilor finan­ciare ale întreprinderii:

cu informatiile comparabile ale exercitiilor precedente;



cu rezultatele stabilite de întreprindere - bazate pe bugete sau pe previziuni - sau estimate de auditor (cum ar fi cele privind cheltuielile cu amortizarile);

cu informatiile similare din sectorul de activitate din care
face parte întreprinderea;

Procedurile analitice sunt utilizate în diferite etape ale misiu­nii de audit si anume:

pentru a ajuta auditorul sa planifice natura, calendarul si
întinderea altor proceduri de audit (etapele anterioare);

în controalele substantive pentru gasirea elementelor pro­
bante;

ca mijloc de revizuire a coerentei de ansamblu a situatiilor
financiare (etapa V - urmatoare).

Atunci când auditorul foloseste procedurile analitice ca si controale substantive, trebuie sa tina seama de unii factori precum:

obiectivele procedurilor analitice si gradul de fiabilitate
al lor;

disponibilitatea informatiilor si fiabilitatea lor;


sursele informatiilor disponibile; sursele externe inde­
pendente sunt în general mai fiabile decât sursele interne;



caracterul comparabil al surselor disponibile;

cunostintele dobândite cu auditurile precedente etc.
Tehnica procedurilor analitice este reglementata prin Standar­
dul International de Audit (ISA) nr. 520.

4. Particularitatile privind partile afiliat

Standardul International de Audit (ISA) nr. 550 stabileste procedurile si principiile fundamentale, precum si modalitatile lor

Initiere în auditul situatiilor financiare ale unei entitati

de aplicare în ce priveste responsabilitatile auditorului referitoare la tranzactiile între parti legate (afiliate), asa cum sunt ele definite prin Standardul International de Contabilitate nr. 24 "Parti legate".

Auditorul trebuie sa puna în lucru proceduri de audit în ve­derea reuniunii de elemente probante referitoare la identificarea de catre conducerea întreprinderii a partilor legate (afiliate), precum si la informatiile prezentate în anexe privind efectele tranzactiilor si operatiilor între partile legate, care au o influenta semnificativa asupra situatiilor financiare.

în timpul lucrarilor de audit, auditorul da atentie operatiilor care par neobisnuite si care pot indica existenta partilor legate pâna atunci necunoscute ca, de exemplu:

operatiuni efectuate în conditii comerciale anormale, mai
ales în ce priveste pretul, rata dobânzii, garantii si conditii
de rambursare neobisnuite;

operatii a caror existenta nu pare justificata prin nici o
motivatie logica;

operatii a caror substanta difera de forma acestora;

operatii efectuate pe cai neobisnuite;

volum prea ridicat sau operatii importante realizate cu
unii clienti sau furnizori, în raport cu altii;

operatii neînregistrate.

Printre procedurile puse în lucru de auditor se pot folosi:

controalele detaliate asupra unor operatii, tranzactii, rulaje
sau solduri;

consultarea proceselor verbale ale adunarilor generale ale
actionarilor si ale consiliului de administratie;

acordarea unei atentii deosebite unor operatii de la sfârsitul
perioadei;



Dr. ec. Marin Toma

acordarea contractelor si conventiilor de împrumut;

examenul operatiilor de cumparari sau vânzari de parti
ale unei societati în participatie;

examenul operatiilor si tranzactiilor între parti legate iden­
tificate;

obtinerea unei declaratii de la conducerea întreprinderii
prin care sa ateste ca informatiile prezentate cu privire la
identificarea partilor legate sunt exhaustive si au fost
corect descrise în anexele la situatiile financiare.

5. Ipoteza continuitatii activitatii

în timpul planificarii si realizarii misiunii de audit, auditorul trebuie sa aprecieze temeinicia utilizarii de catre conducerea între­prinderii a conventiei contabile de baza de continuare a activitatii, la elaborarea situatiilor financiare.

Exemple de fapte sau evenimente care, luate izolat sau împre­una, constituie semne de întrebare asupra valabilitatii conventiei contabile de baza de continuare a exploatarii, fara a fi exhaustive,

sunt:

capitaluri proprii sau fond de rulment negative;

împrumuturi care ajung la scadenta, fara perspectiva reali­
zata de rambursare sau reesalonare, sau recurgerea exce­
siva la credite pe termen scurt pentru a finanta active pe
termen lung;

indicii privind retragerea suportului financiar de catre cre­
ditori;

marje bruta de autofinantare negativa;


indicatori financiari cheie, nefavorabili;

pierderi din exploatare sau degradari importante ale acti­
velor;


Initiere în auditul situatiilor financiare ale unei entitati

stoparea politicii de distribuire de dividende;

insuficienta trezoreriei pentru a face platile la scadenta;

refuzul creditelor - furnizori;

parasirea întreprinderii de catre cadrele de conducere;

pierderea unor piete importante, a unor licente importante
sau furnizori principali;

miscari sociale, sau lipsa materiilor prime de baza;

proceduri judiciare în curs care, daca sunt pierdute, pot
avea consecinte financiare grave;

schimbari legislative sau de politici guvernamentale care
risca sa aiba efecte nefavorabile asupra întreprinderii.

Responsabilitatea auditorului consta în aprecierea modului în care conducerea întreprinderii a utilizat conventia contabila de baza a continuitatii activitatii si daca exista incertitudini semnifica­tive în ce priveste capacitatea întreprinderii de a continua activitatea si care ar fi trebuit sa fie prezentate în anexe. El trebuie sa colecteze elemente probante suficiente si adecvate pentru a confirma existenta unei incertitudini semnificative referitoare la continuitatea exploa­tarii.

Auditorul se poate gasi în una din urmatoarele situatii:

a)          a fost aplicata conventia contabila de baza a continuitatii
activitatii dar exista o incertitudine semnificativa. în acest
caz se verifica daca în notele anexe au fost descrise corect
faptele susceptibile de a pune în discutie continuitatea
activitatii; în caz afirmativ, el va emite o opinie fara rezerve
dar va introduce un paragraf de observatii; în caz negativ,
el va emite o opinie cu rezerve sau o opinie defavorabila;

b)    situatiile financiare au fost stabilite în conditii de conti­
nuitate a activitatii dar în rationamentul sau profesional,


Dr. ec. Marin Toma

auditorul retine ca întreprinderea nu va fi în masura sa continue activitatea; în acest caz, el el va emite o opinie defavorabila;

c) conducerea întreprinderii refuza sa faca sau sa completeze analizele sale pentru a evalua de o maniera completa aspectele legate de continuitatea activitatii; auditorul poate introduce o rezerva în raportul sau, ca urmare limitarii întinderii lucrarilor sale.

Standardul International de Audit (ISA) nr. 570 stabileste procedurile si principiile fundamentale, cât si modul lor de aplicare în ce priveste responsabilitatile auditorului în legatura cu aplicarea conventiei contabile de baza a continuarii activitatii la elaborarea situatiilor financiare ale întreprinderii.

6. Auditul estimarilor contabile

Estimarea contabila desemneaza o evaluare aproximativa a sumei unui element în absenta unei metode precise de masurare (determinare). Cele mai frecvente estimari contabile se refera la:

provizioane pentru deprecierea stocurilor si creantelor;

amortizarea imobilizarilor asupra duratei lor de viata esti­
mata;

venituri anticipate;

impozite amânate;

provizioane pentru riscuri privind procesele în curs;

pierderi asupra unor contracte pe termen lung;

provizioane pentru garantii.

Auditorul trebuie sa reuneasca elemente probante suficiente si adecvate asupra estimarilor contabile cuprinse în situatiile


Initiere în auditul situatiilor financiare ale unei entitati

financiare: caracterul rezonabil al acestor estimari si corecta si completa prezentare a informatiilor în anexe. In acest scop, auditorul poate:

examina si testa procedurile urmate de conducerea între-l
prinderii pentru efectuarea estimarii;

utiliza o estimare independenta pentru a o compara cu1
cea efectuata de conducerea întreprinderii;

revedea evenimentele posterioare închiderii exercitiului
pentru a stabili daca estimarea se confirma.

Standardul International de Audit (ISA) nr. 540 stabileste procedurile si principiile fundamentale cât si si modul lor de aplicare în ce priveste auditul estimarilor contabile continute în1 situatiile financiare.




Document Info


Accesari: 4898
Apreciat: hand-up

Comenteaza documentul:

Nu esti inregistrat
Trebuie sa fii utilizator inregistrat pentru a putea comenta


Creaza cont nou

A fost util?

Daca documentul a fost util si crezi ca merita
sa adaugi un link catre el la tine in site


in pagina web a site-ului tau.




eCoduri.com - coduri postale, contabile, CAEN sau bancare

Politica de confidentialitate | Termenii si conditii de utilizare




Copyright © Contact (SCRIGROUP Int. 2025 )