UNIVERSITATEA TEHNICĂ DE CONSTRUCŢII BUCUREsTI
FACULTATEA DE UTILAJ TEHNOLOGIC
INGINERIA sI MANAGEMENTUL RESURSELOR TEHNOLOGICE
ĪN CONSTRUCŢII
PROIECT DE DIPLOMĂ
TRANSPORTOR CU PLACI ARTICULATE
BUCUREsTI 2008
|
Facultatea de Utilaj Tehnologic |
TRANSPORTOR CU PLACI ARTICULATE |
Pag 5 |
|
MEMORIU DE PREZENTARE TPA-0-MP |
|
Masinile de ridicat si transportat sunt folosite pentru deplasarea sarcinilor intre limitele unei incaperi sau ale unui teren liber ( intr-un atelier , un santier , un punct de depozitare sau transbordare).
Transportul exterior serveste pentru aducerea in fabrica a materiei prime , a semifabricatelor ce se prelucreaza , a combustibilului , a materialelor auxiliare , precum si pentru scoaterea din fabrica a productiei finite si a deseurilor.
Transportul interior serveste pentru distributia materialelor varsate , pentru executarea operatiilor de transport intre unitatile de lucru , direct legate prin procesul de productie.
Tipurile principale de masini de ridicat si transportat , grupate dupa particularitatile lor constructive sunt :
masinile de ridicat:
mecanisme de ridicat
macarale
ascensoare
instalatii de transport continuu
transportoare
instalatii de transbordare
instalatii auxiliare
instalatii pneumatice
instalatii hidraulice
|
Facultatea de Utilaj Tehnologic |
Memoriu de prezentare TPA-0-MP |
|
Pag 6 |
In grupa instalatiilor de transport continuu intra instalatiile care nu sunt prevazute , in mod obligatoriu , cu un mecanism pentru ridicarea sarcinilor si care sunt destinate , in special , pentru deplasarea lor in mod continu.
Transportoarele alcatuiesc grupa instalatiilor cu actiune continua , destinate pentru deplasarea sarcinilor pe o traiectorie determinata prin actionarea mecanica continua a organului lor activ.In anumite cazuri forta de deplasare este o componenta a greutatii proprii a sarcinii.
Transportoarele pot fi cu organ de tractiune flexibila sau fara organ de tractiune flexibila.
Prima grupa de transportoare se carecterizeaza prin prezenta unui organ de tractiune flexibil care executa o miscare continua primita de la mecanismul de
actionare si care transmite astfel pe transportor forta necesara pentru deplasarea sarcinilor, in timp ce dispozitivele din grupa a doua nu au organ flexibil de tractiune.
La acestea din urma , transmiterea pe transportor a fortei necesare pentru deplasarea sarcinii , se realizeaza prin diferite piese rigide ca : cilindri , tuburi si jgeaburi. In toate cazurile , ( cu exceptia transportorului vertical) greutatea sarcinii si de partile mobile ale transportorului] , deplasarea pe piesele de reazem se poate face sau prin alunecare , sau prin rulare pe role(deplasabile sau stationare).
Dupa sistemul de transmitere a fortei de deplasare , adica a fortei sub actiunea careia se produce miscarea sarcinii , transportoarele se impart in doua grupe.
|
Facultatea de Utilaj Tehnologic |
Memoriu de prezentare TPA-0-MP |
|
Pag 7 |
Prima grupa se caracterizeaza prin aceea ca sarcina este asezata pe piese purtatoare (cupe, placi , platforme si organe de suspensie ale carucioarelor , benzi) si efectueaza miscarea impreuna cu acestea. Forta de tractiune se transmite acestor piese de catre un organ flexibil de tractiune.
A doua grupa se caracterizeaza prin aceea ca piesele care poarta sarcina stau in repaus sau efectueaza din punct de vedere cinematic o miscare diferita de miscarea sarcinii. Daca piesa ce poarta sarcina , de obicei jgheab sau tablier , sta in repaus , atunci miscarea se realizeaza , fie prin impingerea sarcinii , fie prin actiunea componentei greutatii sarcinii.
Sarcinile se impart in doua categorii , si anume : sarcini in masa si sarcini individuale sau unitare.
Sarcinile in masa sunt considerate toate felurile de materiale granulare ce se deplaseaza in cantitati mari , si care sunt compuse dintr-un numar mare de bucati omogene.
Exemple:carbunii , minereurile , cimentul , nisipul , pamantul , pietrisul , argila , calcarul.
In cazul transportoarelor cu banda , sarcinile care se deplaseaza sunt depuse pe o banda , executata din insertii textile vulcanizate , sau laminate din otel , care se misca pe reazeme stationare cu role si infasoara toba de actionare si cea terminala.
Miscarea se transmite benzii de catre toba de actionare , prin frecare.
|
Facultatea de Utilaj Tehnologic |
Memoriu de prezentare TPA-0-MP |
|
Pag 8 |
La transportorul cu placi , banda flexibila este inlocuita printr-un organ mobil,
format din unul sau doua lanturi ( mai rar din cabluri) de care sunt fixate placi de metal sau lemn. Miscarea se executa , de obicei , pe role stationare sau adesea mobile , care se rostogolesc pe ghidaje , iar in unele cazuri se executa prin alunecare. In punctele terminale , lanturile se infasoara pe niste roti profilate pentru lanturi (roti de lant).
In cazul unui lant cu articulatii verticale , toate ramurile transportorului se aseaza intr-un singur plan ( tip orizontal inchis).
Transportoarele cu placi articulate se utilizeaza pentru transportul materialelor varsate si a sarcinilor unitare in diferite ramuri ale economiei. Ele sunt frecvent folosite in industria constructoare de masini , in industria materialelor de constructii.
Transportoarele cu placi articulate pot avea o productivitate mai mare decat transportoarele cu banda flexibila si o lungime mai mare decat acestea , intrucat organul de tractiune (lantul) poate prelua o forta de tractiune mai mare decat banda textila cauciucata. Adoptand un material adecvat pentru placi , se pot transporta materiale cu temperatura ridicata , abrazive sau cu agresivitate chimica. Tablierul transportorului are o viteza mica , permitand efectuarea de operatii tehnologice in timpul transportului materialului.
Transportoarele cu placi au exploatare mai dificila. In comparatie cu transportoarele cu banda flexibila greutate mai mare, constructie mai complicata, pret de cost mai ridicat.
|
Facultatea de Utilaj Tehnologic |
Memoriu de prezentare TPA-0-MP |
|
Pag 9 |
Printre avantajele transportoarelor cu placi articulate se mentioneaza tablierul din placi, care pote fi usor executat ca o constructie foarte rezistenta si care, la nevoie, poate fi intarit in mod suplimentar printr-o captuseala metalica, lemnoasa sau confectionata din materiale speciale care se pot schimba.
In unele cazuri, transportoarele cu placi articulate instalate sub gurile buncarelor regleaza singure debitul materialului care se scurge pe ele si ca urmare pot functiona, fara alimentatori mecanici.
Unul din avantajele transportorului cu placi articulate este posibilitatea de a realiza, in mod simplu, incovoierea traseului orin plan vertical cu conexitatea, fie in sus, fie in jos si in acelasi timp,daca este nevoie, cu raze relativ mici-cuprinse intre 5 si 8 m.
Prin tema de proiect s-a indicat proiectarea unui transportor cu placi articulate pentru transportul calcarului la morile de sfaramare in procesul de fabricare a cimentului.
CARACTERISTICI TEHNICE
Debit transportat................... 45
/h
Viteza de transport.......... 0,2m/s
Material transportat.... calcar
Greutatea
volumetrica... ![]()
Lungimea de transport..... 25000mm
Latimea placilor metalice.... 650mm
Inaltimea de transport.... 7000mm
Inclinare.......... ![]()
|
Facultatea de Utilaj Tehnologic |
Memoriu de prezentare TPA-0-MP |
|
Pag.10 |
Transportorul avand latimea placutelor de 650mm, iar lungimea de transport fiind de 25000mm pana la o inaltime de 7000mm. Este un transportor stationar.
Organul de tractiune este format din doua lanturi care infasoara rotile profilate frontale (de actionare ) si rotile profilate de abatere. Rotile profilate de abatere servesc si ca roti de intindere, intinderea realizandu- se cu un mecanism cu surub.
De cele doua lanturi sunt fixate placi de metal care pentru evitare scurgerii calcarului sunt suprapuse partial, una peste alta aceasta acoperire reciproca mentionandu-se si in timpul infasurarii placilor pe rotile profilate terminale.
Miscarea
se executa pe role mobile care se rostogolesc pe ghidaje alcatuite din sine,
corniere sau
Forta de antrenare se transmite lantului prin angrenarea acestuia cu roata de actionare. Antrenarea se face printr-un mecanism format dintr-un motor ASI-1602-40-8 reductor 2CH-N-160, o treapta de angrenare deschisa.
Incarcarea materialului se poate face in orice punct al transportorului prin palnia de incarcare, descarcarea materialului are loc numai la capatul transportorului, prin palnia de descarcare.
Transportul cu placi articulate pentru
transportul calcarului are un unghi de inclinare
.
Trecerea de pe directie orizontala pe directie inclinata se face printr-o curba cu raza de curbura egala cu 4,05m. Pentru ghidarea lanturilor, in portiunile curbe de racordare, se monteaza contra sine, in acelasi plan cu sinele.
|
Facultatea de Utilaj Tehnologic |
Memoriu de prezentare TPA-0-MP |
|
Pag.11 |
Cadrul transportorului cu placi articulate pentru transportul calcarului se executa din laminate de otel (L), din sectoare care se asambleaza prin suruburi.
Cadrul transportorului se poate imparti in trei sectoare:
un sector rectiliniu orizontal;
un sector curbiliniu;
un sector rectiliniu(curbat) inclinat.
Placile se fixeaza prin corniere, la eclisele interioare ale lantului. Se folosesc lanturi cu eclise pentru transportoare M 160-S-100-1-STAS-10057/1-75 cu role de sprijin cu guler. Ele se realizeaza nedemontabile.
Rolele de sprijin cu guler au diametrul mai mare decat latimea eclisei, ele servind si ca elemente de sprijin al lantului la deplasarea acestuia pe ghidaje.
Pentru a se asigura functionarea corecta a lantului, eclisele exterioare se preseaza pe bolturi, iar cele interioare pe bucse, astfel incat este permisa doar rotirea bucsei pe bolt, ceea ce micsoreaza uzura lantului. Deoarece eclisele cu zale interioare alterneaza cu eclisele cu zale exterioare, lantul este format dintr-un numar par de zale.Bolturile se fixeaza prin nituirea capetelor lor. Lanturile se imperecheaza din loc in loc cu bolturi speciale lungi, care fixeaza ambele lanturi si asigura paralelismul lor. Presiunea specifica ridicata care se obtine in articulatii, precum si frecarea placilor una de alta mareste rigiditatea lantului.
Acest lant se fabrica in bucati de aproximativ 5 metri lungime. Fiecare lant se livreaza cu cate un bolt de legatura.
|
Facultatea de Utilaj Tehnologic |
Memoriu de prezentare TPA-0-MP |
|
Pag.12 |
Rolele
se monteaza pe bucse, iar ungerea se face sub presiune printr-un orificiu al
boltului, cu un ungator cu bile
. Se foloseste lubrifiant lichid.
Rolele de rulare sunt confectionate conform STAS 568-70 din fonta FC 20, bucsele din FC 20, bolturile din OLC 45, iar eclisele si placutele se confectioneaza din OL 37.
Rotile
de lant pentru cele doua lanturi cu eclise ale transportorului cu placi
articulate proiectat pentru transportul calcarului se construiesc cu un numar
de dinti z =12. Dantura se realizeaza in functie de caracteristica
a angrenarii, care se
defineste ca raport intre pasul lantului
si diametrul elementului de angrenare a lantului (role de sprijin).
Diametrul
de divizare
este dat de relatia
;
Unde:
p =100 mm este pasul lantului.
Transmiterea fortei de miscare de la rotile de actionare la lanturi se realizeaza prin angrenarea rotilor cu articulatiile lantului.
Dintre avantajele rotilor profilate se enumara:
posibilitatea de a transmite o forta de tractiune cu o intindere mai mica a lantului decat in cazul rotilor simple, in scopul realizarii fortei de frecare;
evitarea deplasarilor relative ale lanturilor care pot fi provocate de lungimile neegale ale lanturilor.
|
Facultatea de Utilaj Tehnologic |
Memoriu de prezentare TPA-0-MP |
|
Pag.13 |
Pasul rotii este egal cu pasul p al lantului p =100 mm, astfel angrenarea este de tipul normal, de indata ce pasul lantului se mareste din cauza alungirii zalelor sau uzurii articulatiilor.
Roata de lant se confectioneaza prin turnare din OT 60 imbunatatit.
Tablierul se face fara borduri, din placi metalice.
Organele de rezemare sunt realizate sub forma unor sine de ghidare.
Pentru schimbarea directiei organului de tractiune se utilizeaza dispozitive de abatere(de schimbare) a directiei de miscare, formate din ghidaje fixe, rigide, indoite lin, pe care se rostogolesc rolele de rulare.
Mecanismul de antrenare este destinat punerii in miscare a lanturilor si a dezvoltarii efortului de tractiune capabil sa invinga rezistentele intampinate de-a lungul intregului traseu al transportorului. Se foloseste mecanismul de antrenare prin angrenare.
Mecanismul de antrenare prin angrenare este alcatuit dintr-un motor electric, transmisie(reductor cilindric), o pereche de roti de lant care angreneaza cu lantul de tractiune. Rotile de lant motoare se monteaza pe arbore, in asa fel incat amplasarea dintilor ambelor roti in raport cu o generatoare a arborelui sa fie absolut identica; numai in acest fel poate fi evitata deplasarea inegala a lanturilor si poate fi asigurata transmiterea egala a fortei de tractiune la cele doua lanturi. Mecanismul se monteaza pe sectorul rectiliniu inclinat de capat al traseului.
Rolul dispozitivelor de intindere in mentinerea unei anumite forte de intindere la organul de tractiune care este necesara pentru mentinerea traiectoriei si evitarea formarii unei sageti a portiunii dintre role.
|
Facultatea de Utilaj Tehnologic |
Memoriu de prezentare TPA-0-MP |
|
Pag 14 |
Se foloseste la acest transportor un dispozitiv de intindere cu mecanism cu surub.
Mecanismul cu clichet consta dintr-o roata dintata, cu dantura de profil special, solidara cu organul de rotire al mecanismului de antrenare si dintr-o pana(clichet) care se rezeama cu un capat pe dantura rotii, iar la celalalt capat este montat liber pe un bolt fixat pe cadrul masinii.
La rotirea rotii in sensul ridicarii(transportului sarcinii) clichetul aluneca peste dinti fara a stingheri miscarea.
Daca ridicarea inceteaza, datorita greutatii sarcinii, apare tendinta de coborare, de rotire a axului in sens invers, clichetul patrunde in golul dintelui si blocheaza roata.
|
FACULTATEA DE UTILAJ TEHNOLOGIC |
TRANSPORTOR CU PLACI ARTICULATE TPA |
Pag 15 |
|
NOTITA TEHNICA TPA-0-NT |
|
CONDITII DE DEPLASARE
Transportatorul cu placi articulate pentru transportul calcarului lucreaza in conditii de praf si este supus unei actiuni puternice a agentilor atmosferici.
Conditiile de utilizare si intretinere in exploatare rezulta din cartea tehnica a utilajului.
La darea in exploatare a transportorului, sau dupa o intrerupere indelungata a exploatarii, personalul manevrant insarcinat cu supravegherea transportorului trebuie sa controleze daca:
toate suruburile de asamblate sunt bine stranse;
ungerea organelor de masini in miscare relativa sa fie asigurata cu cantitatea necesara de lubrifiant.
Se recomanda ca pornirea si oprirea transportorului sa se faca in stare neincarcata.
La punerea in functiune a transportorului baia de ulei a reductorului trebuie sa aibe ulei complet pana la limita superioara a indicatorului de (ulei) nivel, toate lagarele sa contina unsoare curata.
Pentru intretinerea in bune conditii a transportorului cu placi articulate in timpul exploatarii, este bine ca beneficiarul sa-si intocmeasca-un grafic anual pentru revizii si reparatii periodice.
|
FACULTAEA DE UTILAJ TEHNOLOGIC |
NOTITA TEHNICA TPA-0-NT |
Pag.16 |
|
PRESCRIPTII PENTRU TEHNICA SECURITATII MUNCII
Personalul muncitor si pentru executia reviziilor si reparatiilor nu au voie sa-si exercite functia fara instructaj privind protectia muncii si fara fisa de protectia muncii.
Toate piesele aflate in msicare de rotatie, usor accesibile, trbuie prevazute cu aparatori, sau panouri de protectie.
Orice interventie privind functionarea, intretinerea, revizia sau repararea transportorului cu placi articulate este permisa numai cand acesta se gaseste in repaus.
Se interzice functionarea transportorului cu defecte de izolatie la instalatia electrica.
Masina trebuie sa fie dotata cu dispozitive de siguranta pentru prevenirea incendiilor.
Este interzis a se efectua remedieri la organele de miscare, in timpul functionarii acestore. Remedierile se vor face numai cu motoarele oprite.
|
FACULTATEA DE UTILAJ TEHNOLOGIC |
NOTITA TEHNICA TPA-0-NT |
Pag.17 |
|
PRESCRIPTII PENTRU MONTAJ
Montajul se face pornind de la capul de intoarcere catre cae de antrenare. Pornirea si oprirea transportorului cu placi articulate trebuie sa se faca pe cat posibil in stare neincarcata.
In timpul functionarii transportorului se urmareste incalzirea organelor in miscare.
Dupa operatiile de reglaj, transportorul cu placi articulate este supus la o proba de functionare - in gol timp de 8 ore
-in sarcina timp de minim 8 ore.
Dupa primele 20 minute de functionare in gol transportorul este oprit pentru verificari.
Dupa fiecare proba la care este supus transportorul, se incheie un proces verbal.
In acest proces verbal trebuie specificat:
data efectuarii probei
felul probei
durata efectiva a probei
verificarea facuta
defectele constante si remedierile facute
concluzii.
|
FACULTATEA DE UTILAJ TEHNOLOGIC |
TRANSPORTOR CU PLACI ARTICULATE TPA |
Pag 18 |
|
FISA DE DOCUMENTATIE TEHNICA TPA-0-FDT |
|
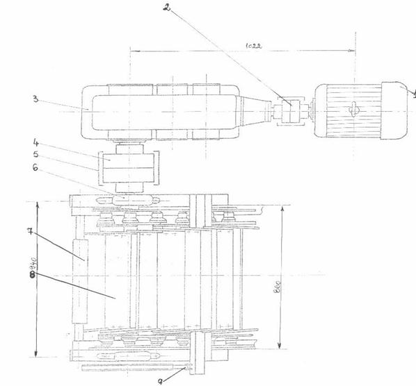
SCHEMA CINEMATICA A TRANSPORTATORULUI CU PLACI ARTICULATE
1 - Motor ASI - 160L-42-8 5 - Aparatoare cuplaj
2 - Cuplaj CE - 5 - 40/42 6 - Cap actionare
3 - Reductuor 2 CHN-160 7 - Curatitor
4 - Cuplaj CE - 9 - 75 8 - Lant
9 - Blocaj cap actionare
|
FACULTATEA DE UTILAJ TEHNOLOGIC |
FISA DE DOCUMENTATIE TEHNICA TPA-0-FDT |
Pag.19 |
|
CARACTERISTICI TEHNICE
Debit transportat .............................. 45 m3 / h
Viteza de transport .......................... 0,2 m / s
Material transportat ......................... calcar
Greutatea volumetrica ..................... g = 1,1 tf / m3
Lungimea de transport .................... 25000 mm
Latimea placilor metalice ............... 650 mm
Inaltimea de transport ..................... 7000 mm
Inclinare .......... ..... ...... .......... 27o
|
FACULTATEA DE UTILAJ TEHNOLOGIC |
TRANSPORTOR CU PLACI ARTICULATE TPA |
Pag 20 |
|
CARACTERISTICILE MATERIALULUI TRANSPORTAT Cap I TPA-0-CMT |
|
Pentru alegerea rationala a tipului de instalatie destinat transportorului, trebuie cunoscute caracteristicile fizico-chimice ale acestuia. Spre deosebire de sarcinile in bucati care se caracterizeaza prin numar, masa, dimensiuni, materialele varsate (vrac) se caracterizeaza prin alte proprietati de natura statica.
Calcarul se compune din granule de dimensiuni diferite. In general, granula are o forma neregulata si este caracterizata prin dimensiunile paralelipipedului circumscris ei.

Dimensiunile caracteristice ale unei granule
Dimensiunea nominala medie a granulei exprimate in mm este :
.
Granulatia caracteristica a' a unui material amestecat este:
a'=
.
In functie de granulatia
caracteristica, exprimata in mm, materialul de transportat-calcarul, cu g = 1,1 tf /
intra in categoria materialelor marunte, a'=60mm.
|
FACULTATEA DE UTILAJ TEHNOLOGIC |
CARACTERISTICILE MATERIALULUI TRANSPORTAT TPA-0-CMT TPA-0-CMT TPA-0-CMT |
Pag 21 |
|
Unghiul de taluz
natural
reprezinta unghiul
dintre generatoarea conului de material varsat, care se depune liber pe o
suprafata plana orizontala si aceasta suprafata respectiva.

Determinarea unghiului de taluz natural
Taluzul natural luand nastere prin
alunecarea granulelor de material pe o
suprafata formata tot din granule de material ideal, format din granule extrem
de mici si absolut egale, unhiul de taluz natural
este egal cu unghiul
frecarii interioare
.
Daca in suprafata plana pe care se
afla un material varsat se practica un orificiu, materialul se va surpa.
Unghiul
facut de suprafata
conului de surpare a materialului cu planul orizontal poarta numele de unghi de surpare. El este diferit de
unghiul de taluz natural si este constant pentru un anumit material.
|
FACULTATEA DE UTILAJ TEHNOLOGIC |
CARACTERISTICILE MATERIALULUI TRANSPORTAT TPA-0-CMT |
Pag 22 |
|
Determinarea grafica a valorii unghiului de surpare
![]()
Acest unghi limita care poate fi atins de suprafata inclinata a materialului este unghiul de surpare.
Se alege:
![]()
![]()
Pentru determinarea coeficientului de mobilitate k se foloseste relatia :
![]()
![]()
Greutatea specifica
a unui material varsat
reprezinta raportul dintre greutatea si volumul unei granule de material.
Greutatea volumetrica
a unui material varsat
reprezinta raportul dintre greutatea materialului varsat liber (necompactat) si
volumul ocupat de el.
Calcarul ce trebuie transportat cu
ajutorul transportorului cu placi articulate la morile de sfaramare are
greutatea volumetrica
si intra in categoria
materialelor cu greutate medie.
|
FACULTATEA DE UTILAJ TEHNOLOGIC |
TRANSPORTOR CU PLACI ARTICULATE TPA |
Pag 23 |
|
CALCULUL LATIMII PLACILOR Cap II TPA-0-CLP |
|
La tablierul fara borduri, sarcina ce se aseaza pe acesta se poate considera ca de forma unui triunghi,atat unghiul de la baza triunghiului, cat si baza triunghiului.In cazul transportorului cu o miscare lenta prevazut cu un tablier rigid din placi, se pot lua valori ceva mai mari decat in cazul transportorului cu banda.
Productivitatea transportorului cu placi articulate, in cazul in care transporta calcar, poate fi determinata cu formula :
Q=3,6q*v [t/h]
Unde:
q - este masa sarcinii pe unitatea de lungime, in kg/m
v - este viteza de transport, in m/s;
q = 1000A*
,
Unde:
A - este suprafata sectiunii tablierului, in ![]()
- este greutatea specifica a calcarului, in t/![]()
Deci:
Q=3600A*v*![]()
Suprafata teoretica maxima a sectiunii, ocupata de un material avand unghiul tauzului natural pe o latime B a placii, va fi:
|
FACULTATEA DE UTILAJ TEHNOLOGIC |
CALCULUL LATIMII PLACILOR TPA-0-CLP |
Pag. 24 |
|
;
;
![]()
Productivitatea teoretica maxima a transportorului este:
[t/h]
Practic, aceasta productivitate nu poate fi atinsa, deoarece in timpul miscarii placilor au loc socuri.
De asemenea, in cazul cand transportorul este inclinat, productivitatea se micsoreaza, caci materialul are tendinta sa alunece inapoi.
Tinand seama de aceste considerente productivitatea devine:
![]()
Pentru o productivitate data, latimea placii va fi:
[m]
Unde:
Q - este productivitatea transportorului cu placi, in t/h
- este coeficientul de
umplere a tablierului
- este coeficientul de
micsorare a productivitatii din cauza inclinarii transportorului
|
FACULTATEA DE UTILAJ TEHNOLOGIC |
CALCULUL LATIMII PLACILOR TPA-0-CLP |
Pag.25 |
|
- este greutatea
specifica a materialului afanata care se deplaseaza, t/
![]()
v - este viteza de transport, m/s (v=0,2m/s)
- este unghiul
taluzului natural al materialului transportat ![]()
Pentru determinarea coeficientului
de umplere, luandu-se in sonsiderare viteza redusa a transportoarelor cu placi si
functionarea lor mai linistita, se poate admite ca materialul se repartizeaza
pe o latime b=0,85B, iar sectiunea sa este limitata de o parabola, tangenta la
laturile triunghiului isoscel, inclinat cu unghiul
fata de orizontala.

Tinand seama de aceasta, suprafata sectiunii de material va fi:
![]()
Coeficientul de umplere, reprezentand raportul dintre suprafata reala ocupata de material si cea teoretica maxima rezulta:
|
FACULTATEA DE UTILAJ TEHNOLOGIC |
CALCULUL LATIMII PLACILOR TPA-0-CLP |
Pag.26 |
|
![]()
![]()
Pentru materiale in bulgari, s-a
constatat experimental ca valoarea coeficientului de umplere
este 1,4 ori mai mare,
deci:
![]()
In conditii favorabile de exploatare, coeficientul de umplere poate creste cu 50%, adica:
![]()
Viteza tablierului poate atinge valori deosebit de scazute (pana la 0,05m/s). In nici un caz viteza nu depaseste valoarea v=1,25...1,5 m/s.
Se alege:
v=0,2m/s.
Inlocuind valorile cunoscute, relatia (1) devine:
![]()
Se adopta:
b=0,650m conform STAS 2077/1
|
FACULTATEA DE UTILAJ TEHNOLOGIC |
CALCULUL LATIMII PLACILOR TPA-0-CLP |
Pag.27 |
|
Latimea placii se verifica cu relatia :
![]()
Unde :
a' - este dimensiunea granulei caracteristice, in mm
a'=150mm.
B
1,7*0,150+0,2=0,455
Coeficientul
, in functie de unghiul
de inclinare a
transportorului (
), ![]()
|
FACULTATEA DE UTILAJ TEHNOLOGIC |
TRANSPORTOR CU PLACI ARTICULATE TPA |
Pag 28 |
|
DINAMICA ACTIONARII CU LANT Cap III TPA-0-DAL |
|
Actionarea transportoarelor cu lant se face de catre un motor electric prin intermediul unui reductor. Ultima treapta a reductorului antreneaza roata de actionare a lantului prin angrenarea dintilor cu articulatiile(zalele)lantului.

Schema pentru calculul dinamic al lantului
Fiecare dinte, intrand in angrenare
cu zalele lantului, devine un element motor, in decursul unei perioade de timp
corespunzator rotirii rotii profilate cu un unghi la centru
, egal cu unghiul la centru al unei zale.
La viteze unghiulare constante
ale rotii de antrenare
a lantului viteza acestuia este continuu variabila, ceea ce atrage dupa sine
aparitia unor forte de inertie in lant, de asemenea continuu variabile.
Viteza zalei si deci a lantului ce
se deplaseaza pe ghidaje va fi egala cu suma vectoriala a vitezei de antrenare
(viteza
a punctului a) si a vitezei relative (viteza
a punctului b in raport cu punctul a).
Sageata lantului in portiunea ab poate fi neglijata siaceasta portiune se poate considera ca o linie dreapta. Planul vitezelor se construieste tinand seama ca viteza
|
FACULTATEA DE UTILAJ TEHNOLOGIC |
DINAMICA ACTIONARII IN LANT TPA-0-DAL |
Pag.29 |
|
este normala la raza
punctului a, viteza
este normala pe
directia, iar viteza
este indreptata dupa
directia lantului.
Daca se noteaza cu
unghiul de inclinare a
portiunii ab fata de aza lantului si
cu
unghiul facut de raza
punctului a cu normala la directia lantului, din planul vitezelor rezulta:
(1)
Din figura se observa ca:
![]()
de unde:
![]()
unde:
- n este numarul de zale neghidate
Pentru buna functionare a transportorului este necesar ca la parasirea ghidajului de catre zona b, zalele: a- aflata in angrenare, b- libera si c- ghidata, sa fie coliniare.
Pentru aceasta este necesar ca distanta b sa fie cuprinsa intre valorile razelor cercurilor circumscrise poligonului si inscrise in aceasta, adica:

, ![]()
unde:
- z este numarul de dinti ai rotii de lant
In aceste conditii, unghiul
este mic, termenul
se poate neglija si
relatia (1) devine:
![]()
|
FACULTATEA DE UTILAJ TEHNOLOGIC |
DINAMICA ACTIONARII IN LANT TPA-0-DAL |
Pag.30 |
|
Daca se noteaza cu
unghiul la centru
facut de razele a doi dinti vecini, viteza va fi minima pentru
si maxima pentru ![]()
Tinand seama de faptul ca
, acceleratia lantului va avea valoarea:
,
sau: 
In momentul prinderii articulatiei
de catre roata, adica pentru
, acceleratia are valoarea:
![]()
Ea scade continuu in timpul rotirii
rotii, atingand valoarea 0 pentru
si valoarea minima
pentru
.
Aceasta valoare este:
[m/
]
Aceasta reprezinta valoarea acceleratiei in momentul cand o noua articulatie este prinsa de roata si cand acceleratia lantului creste instantaneu la valoarea ei maxima:
, [m/
]
unde:
R este raza de infasurare a rotii de lant, in m
este viteza unghiulara a rotii de lant, in
rad/s
Variatia vitezei si acceleratiei lantului este redata in diagrama din figura:
|
FACULTATEA DE UTILAJ TEHNOLOGIC |
DINAMICA ACTIONARII IN LANT TPA-0-DAL |
Pag.31 |
|

Diagrama de variatie a vitezei si acceleratiei lantului
![]()
![]()
![]()
; ![]()
![]()
unde:
n este numarul de rotatii al rotii de actionare pe minut
v este viteza lantului, v=0,2m/s
z este numarul de dinti ai rotii de lant, z=12
l este pasul lantului, l=100mm ![]()
|
FACULTATEA DE UTILAJ TEHNOLOGIC |
DINAMICA ACTIONARII IN LANT TPA-0-DAL |
Pag.32 |
|
In momentul premergator prinderii unei noi articulatii, asupra lantului actioneaza forta de inertie:
![]()
In momentul imediat urmator
prinderii unei noi articulatii a lantului, acceleratia crescand de la
la
asupra lui va actiona
forta de inertie:
![]()
Deci, in momentul prinderii unei noi articulati, asupra lantului va actiona forta de inertie:
![]()
Cum acceleratia si deci si forta de inertie cresc instantaneu, pentru a se tine seama de caracterul instantaneu de aplicare a fortei, este necesar ca valoarea obtinuta sa se mareasca de doua ori si deci, in momentul prinderii unei noi articulatii asupra lantului va actiona o forta dinamica F a carei valoare este:
![]()
![]()
Daca forta statica de tractiune din
lant este
, in momentul premergator prinderii unei zale noi, forta de
tractiune din lant va fi:
![]()
In momentul prinderii unei zale noi, forta de tractiune din lant va fi:
![]()
Avem: ![]()
unde:G este greutatea sarcinii si a organului de tractiune
![]()
|
FACULTATEA DE UTILAJ TEHNOLOGIC |
DINAMICA ACTIONARII IN LANT TPA-0-DAL |
Pag.33 |
|
Deci:
![]()
![]()

![]()
(2)
Unde:
Q este productivitatea transportorului (t/h)
q este masa sarcinii pe unitatea de lungime, (kg/m)
v este viteza organului portant, in (m/s)
este coeficientul de umplere
este coeficentul de micsorare a productivitatii
![]()
[t/h] ![]()
![]()
![]()
![]()
Inlocuind valorile obtinute in relatia (2) obtinem:
[kg/m]
[kg/m]
|
FACULTATEA DE UTILAJ TEHNOLOGIC |
DINAMICA ACTIONARII IN LANT TPA-0-DAL |
Pag.34 |
|
unde:B este latimea tablierului [m]
K este un coeficient care depinde de tipul tablierului si de forta tractiune din lant.
Se alege: k=70 pentru un tablier mijlociu fara borduri
B=0,650m
Deci: ![]()
[kg]
unde:
L este lungimea de transport
L=25m
m
m=3000kg
G=mg=29400N
![]()
![]()
Avem: ![]()
Se adopta lantul M160-S-100-STAS-10057/1-75, un lant pentru transportoare cu eclise.
Verificarea lantului se face cu relatia:
S*c
![]()
Unde:S este efortul din lant [N]
este forta de rupere [N]
=160000N
c este coeficient de siguranta
|
FACULTATEA DE UTILAJ TEHNOLOGIC |
DINAMICA ACTIONARII IN LANT TPA-0-DAL |
Pag.35 |
|
Coeficientul de siguranta c se adopta in functie de tipul lantului si a actionarii mecanismului.
Se alege: c=7
7*3690=25830<160000
|
FACULTATEA DE UTILAJ TEHNOLOGIC |
TRANSPORTOR CU PLACI ARTICULATE TPA |
Pag 36 |
|
CALCULUL ROTII DE LANT Cap IV TPA-0-CRL |
|
Pentru antrenarea lanturilor articulate se folosesc rotile de forma indicata in figura:

Caracteristica geometrica a angrenarii ![]()
Calculul geometric al danturii rotii de lant pentru mecanismul de actionare
|
Nr crt |
Denumirea parametrului |
Simbol |
Formula de calcul |
Observatii |
|
|
Pasul pe coarda |
p |
-egal cu pasul lantului M160-S-100-1 STAS 10057/1\75 p = 100 mm |
|
|
|
Diametrul nominal al elemantului de agrenare s lantului |
|
|
Conforf STAS 10057/1-75 |
|
|
Nr de dintii ai rotii |
|
|
|
|
FACULTATEA DE UTILAJ TEHNOLOGIC |
CALCULUL ROTII DE LANT TPA-0-CRL |
Pag.37 |
|
|
Nr crt |
Denumirea parametrului |
Simbol |
Formula de calcul |
Observatii |
|
|
Caracteristica geometrica a angrenarii |
|
|
|
|
|
Diametrul de divizare in pasi(unitar) in mm |
|
|
|
|
|
Diametrul inscris in poligonul de divizare unitar(in pasi) in mm |
|
|
|
|
|
Inaltimea dintelui la poligonul de divizare unitar(in pasi) in mm |
|
|
|
|
|
Diametrul la varf |
|
|
|
|
|
Diametrul de fund |
|
|
|
|
|
Distanta dintre centrele razelor fundului locasului |
e |
e= 0,005p e= 0,005*100=0,5mm |
|
|
FACULTATEA DE UTILAJ TEHNOLOGIC |
CALCULUL ROTII DE LANT TPA-0-CRL |
Pag.38 |
|
|
Nr crt |
Denumirea parametrului |
Simbol |
Formula de calcul |
Observatii |
|
|
Raza fundului locasului |
|
|
|
|
|
Jumatatea unghiului flancurilor dintilor, in grade |
|
|
|
|
|
Unghiul de racordare a flancurilor, in grade |
|
Pentru z=12, se alege
|
|
|
|
Diametrul rolei calibru |
|
|
|
|
|
Dimensiunea peste role |
M |
|
|
|
|
Raza locasului rolei |
|
|
|
|
|
Unghiul locasului rolei |
|
|
|
|
|
Distanta dintre eclisele interioare ale lantului |
|
|
Conform STAS 10057/1-75 |
|
|
Latimea eclisei lantului |
|
|
Conform STAS 10057/1-75 |
|
FACULTATEA DE UTILAJ TEHNOLOGIC |
CALCULUL ROTII DE LANT TPA-0-CRL |
Pag.39 |
|
|
Nr crt |
Denumirea parametrului |
Simbol |
Formula de calcul |
Observatii |
|
|
Latimea dintelui |
|
Pentru lant varianta S:
|
|
|
|
Latimea varfului dintelui |
|
Pentru lant varianta S:
|
|
|
|
Latimea suprafetei de sprijin |
|
|
|
|
|
Diametrul exterior al obadei |
|
|
|
|
|
Tesirea dintelui |
f |
|
|
|
|
Raza de tesire minima |
|
|
|
|
|
Raza de racordare la obada rotii |
|
Pentru p>47,5 |
|
|
|
Toleranta bataii radiale |
|
|
|
|
|
Toleranta bataii frontale |
|
|
|
|
FACULTATEA DE UTILAJ TEHNOLOGIC |
CALCULUL ROTII DE LANT TPA-0-CRL |
Pag 40 |
|
CALCULUL GEOMETRIC AL ROTII DE LANT
|
Nr. Crt |
Denumirea parametrului |
Simbol |
Formula de calcul |
Observatii |
|
|
Diametrul butucului |
|
|
|
|
|
Diametrul obadei |
|
|
|
|
|
Grosimea dintelui |
S |
|
|
|
|
Diametrul alezajului(camp de toleranta H7) |
|
|
|
|
|
Raza de racordare |
R |
R=0,4*S R R=21mm |
|
|
|
Lungimea butucului |
L |
L=(0,8...1,8)d L L=85mm |
|
|
FACULTATEA DE UTILAJ TEHNOLOGIC |
TRANSPORTOR CU PLACI ARTICULATE TPA |
Pag 41 |
|
DETERMINAREA REZISTENTELOR IN DIFERITE SECTOARE Cap V TPA-0-DRDS |
|
Particularitatea transportoarelor cu placi articulate, consta in aceea ca sarcina si organul de tractiune executa o aceeasi miscare. Deoarece sarcinile se deplaseaza fiind asezate pe organul de tractiune (placile), atat ele cat si organele de tractiune au un acelasi coeficient de rezistenta la deplasare.
Rezistentele in sectoarele rectilinii orizontale se determina cu relatia:
(1) [N]
unde:
L este lungimea portiunilor orizontale ale ramurii incarcate a transportorului , [m]
q este greutatea sarcinii de transport, repartizata pe un metru liniar de lant, [kg/m]
este greutatea unui
metru liniar de lant, [kg/m]
w este coeficientul de rezistenta la deplasarea sarcinii
![]()
in care:
este coeficientul de
frecare de alunecare in articulatiile zalelor lantului, ![]()
f este coeficientul frecarii de rostogolire dintre rolele lantului si ghidaj
d este diametru boltului sau a bucsei lantului, in mm
D este diametrul rolei lantului, in mm
c este coeficientul care tine seama de frecarile suplimentare dintre buzele rolei si ghidaje.
|
FACULTATEA DE UTILAJ TEHNOLOGIC |
DETERMINAREA REZISTENTELOR IN DIFERITE SECTOARE TPA-0-DRDS |
Pag 42 |
|
Pentru calcule preliminare valoarea coeficientului w, in functie de conditiile de lucru se indica : w=0,1.
Avem:
q=11kg/m
![]()
L=12,02m
Inlocuind valorile obtinute in relatia (1) rezulta:
![]()
Rezistenta in sectorul rectiliniu orizontal pe ramura descarcata se va determina cu relatia:

Rezistenta in sectorul
rectiliniu inclinat cu unghiul
fata de orizontala se
determina, pentru ramura incarcata, cu relatia :
![]()
l este lungimea sectorului inclinat, in mm
q este greutatea pe unitatea de lungime a sarcinii, kg/m
este greutatea pe
unitatea de lungime a lantului de tractiune, kg/m
w este coeficient de rezistenta la deplasare
este unghi de
inclinare, ![]()
l= 11,715m
|
FACULTATEA DE UTILAJ TEHNOLOGIC |
DETERMINAREA REZISTENTELOR IN DIFERITE SECTOARE TPA-0-DRDS |
Pag 43 |
|
Deci, rezistenta in sectorul rectiliniu inclinat, pe ramura incarcata este:

Rezistenta in sectorul rectiliniu inclinat pentru ramura descarcata se determina cu relatia: :

Determinarea valorii rezistentei in curba poate fi redusa la examinarea urmatorului caz: lantul de tractiune se infasoara pe un ghidaj curbiliniu fix.
Rezistenta la infasurare pe un ghidaj de abatere de forma curbilinie, ca in figura, avand raza de curbura R4049, se determina cu relatia:
, unde:
este efortul din
ramura care se desfasoara, N
este efortul din
ramura care se infasoara, N

Eforturile
si
se pot exprima in
functie de eforturile din punctele de tangenta cu ghidajul. Eforturile din
punctele de tangenta cu ghidajul
si
se determina cu
relatiile:
|
FACULTATEA DE UTILAJ TEHNOLOGIC |
DETERMINAREA REZISTENTELOR IN DIFERITE SECTOARE TPA-0-DRDS |
Pag 44 |
|

unde:
' este coeficientul de frecare din articulatia lantului, care
se ia
'=0,30
este diametrul
boltului lantului articulat
D este raza de curbura
k=0,01
este rezistenta la
iesirea de pe ghidaj datorita frecarii in articulatiile si are valoarea:
![]()
Rezulta, deci:
(1)
(2)
Avand in vedere ca lantul aluneca pe ghidaj se poate
scrie legatura dintre
si
, cu ajutorul formulei lui Euler:
(3)
unde:
este coeficient de
frecare dintre ghidaj si lant
este unghiul de
infasurare a lantului pe ghidaj
Din relatiile (1), (2) si (3) rezulta:
![]()
Deci, rezistenta la infasurare pe ghidajul de abatere va fi :
![]()
Efortul
va fi egal cu suma
rezistentelor care apar de-a lungul traseului, incepand cu punctul de
desfasurare a lantului de pe roata de actionare pana la sfarsitul traseului
ghidajului de abatere (de curbura).
|
FACULTATEA DE UTILAJ TEHNOLOGIC |
DETERMINAREA REZISTENTELOR IN DIFERITE SECTOARE TPA-0-DRDS |
Pag 45 |
|

|
FACULTATEA DE UTILAJ TEHNOLOGIC |
TRANSPORTOR CU PLACI ARTICULATE TPA |
Pag 46 |
|
REZISTENTELE LA ORGANELE DE INFASURARE Cap VI TPA-0-ROI |
|
La rotirea organelor de infasurare(roata de lant) de catre organul de tractiune(lantul) apar rezistente ca urmare a frecarilor in lagare si a rigiditatii organelor de tractiune.

Schema pentru determinarea rezistentelor la organele de infasurare
Considerand initial, cu suficienta exactitate pentru calcule tehnice, eforturile S si S' din ramurile organului de tractiune egale intre ele si neglijand greutatea organului de infasurare, forta din lagar va fi:
![]()
Rezistenta datorita fortei de frecare rezulta din conditia de echilibru a organului de infasurare:
![]()
|
FACULTATEA DE UTILAJ TEHNOLOGIC |
REZISTENTELE LA ORGANELE DE INFASURARE TPA-0-ROI |
Pag 47 |
|
Rezistenta datorita rigiditatii organului de tractiune, ca urmare a schimbarii acestuia, este proportionala cu efortul dinorganul de tractiune:
![]()
unde:
este coeficient de
rigiditate
Rezistenta totala va fi:
![]()
unde:
este rezistenta
specifica la organul de infasurare
Ca urmare, efortul in ramura organului de tractiune care se desfasoara va fi:
(1)
unde:
c- reprezinta coeficientul de rezistenta la infasurare
![]()
c= 1,04 (din Masini de ridicat si transportat, N. Segall)
Rezistenta opusa de organele de infasurare motoare (roata de lant) poata fi determinata cu relatia:
(N)
unde:
este coeficient de
rezistenta
= 0,03
este efortul din
ramura ce se infasoara pe roata de actionare, egal cu suma tuturor
rezistentelor ce apar de-a lungul traseului transportorului.
|
FACULTATEA DE UTILAJ TEHNOLOGIC |
REZISTENTELE LA ORGANELE DE INFASURARE TPA-0-ROI |
Pag 48 |
|
este efortul din
ramura ce se desfasoara de pe roata de actionare.
este rezistenta la
infasurare pe roata de actionare
Se considera cunoscuta valoarea minima a efortului
din organul de tractiune
. Efortul variaza intre 1000 si 5000 N, in functie de
lungimea instalatiei, de debit si incarcarea unitara. Se alege:![]()
![]()
Dar, ![]()
Atunci, din relatia (1)![]()

Rezistenta la infasurare
devine:
![]()
|
La incarcarea transportoarelor cu material in vrac, apar rezistente ca urmare a frecarii dintre material si peretii laterali ai jgheabului de incarcare si a frecarii dintre acestia si organul de tractiune. Tinand seama de inaltimea redusa a jgheabului se
poate admite variatia liniara a presiunii verticale, de la zero, la suprafata
libera, pana la valoarea unde:
h este inaltimea jgheabului, h=4m k este coeficient de mobilitate a materialului dat cu relatia: in care:
Rezistenta unde:
Inlocuind numeric, se obtine: Rezistenta data de frecarile dintre organul de tractiune si peretii laterali ai jgheabului poate fi apreciata: Rezistenta totala la incarcare va fi:
Pentru determinarea fortei de tractiune in lanturile de tractiune se foloseste metoda conturului sau a "calculului dupa traseu". Pentru aceasta se imparte traseul in puncte caracteristice, puncte care marcheaza inceputul fiecarei zone in lungul careia efortul in banda variaza dupa aceeasi lege, numerotarea lor facandu-se in sensul de deplasare a organului de tractiune, incepand din punctul din care acesta se desfasoara de pe organul de lucru motor. Se scriu, pe rand, eforturile in punctele
caracteristice, tinand seama ca efortul Se tine seama de rezistentele locale. Diametrele organelor de infasurare se neglijeaza, fiind mici in comparatie cu lungimea instalatiei. Forta de tractiune va fi data de diferenta dintre eforturile in ramurile organului de tractiune din punctele in care acesta se infasoara si se desfasoara de pe organul de tractiune motor. Puterea motorului rezulta ca produs intre forta de tractiunesi viteza organului de tractiune, tinandu-se seama si de randamentul mecanismului de antrenare. Unde: v este viteza organului de tractiune m/s
Schema pentru calculul puterii motorului
Expresia fortei de tractiune este: Inlocuind valorile obtinute in relatia(1) rezulta:
Se alege un motor electric asincron ASI-160L-42-8 conform STAS6692-63 Se cunosc: P=7,5kW n=708rot/min M=121kg Conform STAS 11932-80 se alege un reductor conici-cilindric tip 2CH-N-160 cu urmatoarele caracteristici: P=6,4kW i=25 n=750rot/min A=760mm Alegem cuplajul care face legatura intre motor si reductorul conico cilindric. Pentru alegerea cuplajului trebuie sa calculam momentul de lucru. Momentul de lucru se calculeaza cu relatia: unde:
Aleg cuplaj : CE - 5 - 40/42 Alegem cuplajul care face lagatura intre raductorul conico-cilindic si lantul de tractiune. Avem: Se alege: CE - 9 - 75 unde: 9 este marimea cuplajului 75 este diametrul nominal
Pentru diametrul arborelui d = 55mm, conform STAS 1004-81: b = 8mm h = 7mm Aleg: l = 20mm Aleg pana C 8*7*20 Pentru diametrul arborelui d = 65mm, conform STAS 1004-81 b = 18mm h = 11mm Aleg: l=70mm Aleg pana A 18*11*70 La alegerea corecta a rulmentului trebuie sa se tina seama nu numai de forma lor constructiva , cat si de durabilitatea lor. Unde:
n - este turatia arborelui (rot/min)
p - este sarcina dinamica echivalenta (daN) c - este capacitatea de incarcare dinamica de baza (daN) X - este factor radial Y - factor axial S-a stabilit urmatoarea relatie : d = 65mm - este diametrul capatului de arbore Capacitatea dinamica p = 3 la rulmenti cu bile Conform STAS 3918-80 aleg rulmenti oscilanti cu bile Rul 2213 D = 120 mm B = 31 mm r = 2,5 mm d = 65 mm
Elementele componente ale procesului tehnologic sunt urmatoarele: operatia faza manuirea miscarea Operatia reprezinta acea parte a procesului tehnologic care se executa la un loc de munca si cuprinde toate actiunile utilajului si muncitorului sau ale unui grup de muncitori, in legatura cu prelucrarea sau asamblarea unei piese sau a mai multor piese simultan, pana ce se treca la prelucrarea sau asamblarea altei sau altor piese. O operatie poate fi constituita din una sau mai multe faze. Faza este acea parte a operatiei in care se executa camplet dintr-o singura asezare si pozitionare a piesei o suprafata sau mai multe suprafete simultan folosind o scula sau un complet de scule cu un anumit regim de aschiere. Adaosul de prelucrare ce trebuie indepartat intr-o faza de pe suprafetele piesei poate fi indepartat dintr-o singura trecere sau mai multe treceri. Toate trecerile se executa cu acelasi regim de aschiere. Daca o trecere se executa cu alt regim de aschiere, atunci ea devine faza. Procesul tehnologic in urma caruia se va executa prin aschiere piesa aleasa, va avea urmatoarea succesiune a operatiilor: debitare indreptare strunjire, centruire strunjire frezare tratament termic rectificare
control final Calculul unui regim de aschiere prevede calculul urmatoarelor elemente: adancimea avansul turatia viteza de aschiere Adancimea de aschiere la strunjira longitudinala: Adancimea de aschiere la strunjirea frontala: Viteza economica de aschiere: T - este durabilitatea sculei Calculul turatiei
Viteza de aschiere: Timpul de baza l - este lungimea de prelucrat S - este avansul n - este turatia Timpul auxuliar Unde:
Transportorul cu placi articulate pentru transportul calcarului la morile de sfaramare in procesul de fabricare a cimentului este o instalatie de transport continuu, folosita in industria materialelor de constructii. Prezentul proiect are ca obiect un transportor cu placi articulate utilizat pentru deplasarea blocurilor de calcar atat pe orizontala, cat si pe verticala. Pe verticala transportul are loc sub un unghi care trebuie sa nu fie prea mare pentru ca blocurile de calcar sa nu inceapa sa alunece pe organul de tractiune. Transportorul cu placi articulate pentru transportul calcarului are urmatoarea componenta: lanturi de tractiune articulate cu placute mecanism de actionare roti de clichet CARACTERISTICI TEHNICE Debit
transportat.................. Viteza de transport.............. 0,2m/s Material transportat............. calcar Greutate volumetrica........... Lungimea de transport......... 25000mm Latimea placilor metalice.... 650mm Inaltimea de transport......... 7000mm Inclinare.......... ..... ......
CARACTERISTICILE MATERIALULUI DE TRANSPORTAT Granulatia maxima Granulatia volumetrica Unghiul de taluz
natural Coeficientul de mobilitate k=0,17 Lista furnizorilor pentru unele subansamble Motor electric "Neptun " Campina Rulment oscilant cu bile "Rul" Brasov Instructiuni de montaj Executantul este obligat, inainte de expedierea utilajului la beneficiar sa faca premontajul la locul de executiepentru verificarea, ajustarea si marcarea reperelor principale. La montare si inainte de punerea in functiune, se vor verifica amanuntit executia subansamblurilor componente si imbinarile dintre acestea. Se vor respecta intocmai prevederile din proiect privitoare la tolerante. Nu se admit ajustari manuale ale suprafetelor prelucrate, cu exceptia cazurilorcand proiectul prevede asemenea operatii.
Nu se admite montarea de repere standardizate sau tipizate care nu satisfac in intregime normele generale in vigoare sau care pe parcursul montarii au ruginit, s-au defecte ce pun in pericolcalitatea produsului. Montarea rulmentilor pe axe se va face
incalzind rulmentii la circa Se vor asigura jocurile functionale necesare in angrenaje. Toate elementele in miscare de rotatie, dupa asamblare trebuie sa se roteasca usor. Piesele care urmeaza sa se asambleze trebuie sa fie curate, fara urme de coroziune si unse cu unsoare consistenta corespunzatoare, inca de la montaj. Executia elementelor tip pentru transportoarele cu placi articulate se va face de catre o uzina specializata in transportoare cu placi, denumita "furnizor". Toate prescriptiile de pe desene, referitoare la executie, asamblare, trebuie respectate intocmai in tolerantele admisibile. La piesele turnate nu sunt admise defecte referitoare la: goluri in corpul piesei; incluziuni; crapaturi; defecte geometrice; defecte de suprafata.
Remedierea defectelor de turnare se face prin sudare, dupa care piesa va fi supusa la o recoacere de detensionare. Repararea prin sudare a arborilor nu este permisa. Electrozii pentru sudura se aleg functie de materialul utilizat. Inainte de asamblare se face o verificare a pieselor care formeaza ajustaje. In lagarele cu rulmenti se introduce unsoare, minim 50% din capacitatea libera. Fiecare rola complet asamblata nu trebuie sa prezinte batai axiale si radiale mai mari de 0,5mm. La asamblatea rolelor se tine seama ca piesele in rotatie sa nu atinga piesele fixe. Fiecare rola dupa asamblate se supune la un rodaj de cel putin 24 ore. Introducerea si scoaterea rolelor din locasurile suporturilor trebuie sa se faca usor. Suprafata de asezare pentru reductorul de turatie trebuie sa se faca intr-un acelasi plan orizontal, care trebuie sa(se faca intr-un acelasi plan) fie paralel cu planul orizontalformat de suprafetele de asezare al motorului. Axa de rotatie a motorului electric este coaxiala cu axa de mare turatie la reductor. Grupul de antrenare trebuie supus la o proba de functionare in gol de 24 ore, urmarindu-se inlaturarea :
incalzirii reductorului peste limitele permise frecarii pieselor in rotatie de cele fixe zgomotelor anormale La piesele executate prin sudare nu se vor accepta defecte de sudura conform STAS 9101-71. Tehnologia de sudura va uramarii pe cat posibil sa evite deformatiile. Toate piesele realizate atat prin sudura sau prelucrari mecanice vor fi supuse controlului tehnic de calitate inainte de a fi montate in subansamble. Cuplajul elastic este realizat din OLC 35, iar avantajul folosirii cuplajelor elastice este ca permit o compensare a unor mici inexactitati in montarea arborilor. Ungerea rulmentilor se face cu unsoare RUL100 Ca3 STAS1608-72. lipirea aparatorilor de panza se va face cu prenandez. Instructiuni de exploatare Se face rodajul transportorului cu placi articulate in gol, pentru a verifica incalzirea lagarelor, functionarea corecta a transmisiei, functionarea ungerii. Se verifica rigiditatea cadrului de sustinere. Inainte de pornirea masinii se acorda o atentie deosebita organului de tractiune(lantului) si sistemului de ungere. Lanturile de tractiune nu trebuie intinse exagerat, deoarece consumul de energie creste continuu, slabeste jocul de asamblare si lantul devine foarte sensibil fata de
montarea incorecta a rolelor. Prin intinderea exagerata a lantului se micsoreaza sectiunea acestuia, ceea ce atrage dupa sine scaderea productivitatii instalatiei. In timpul functionarii transportorului cu placi articulate trebuie urmarit ca toate rolele sa se invarteasca. In cazul unei functionari de durata a transportorului, reviziile periodice, lucrarile de curatire si reconditionare, a ungerii, trebuie sa se execute la urmatoarele intervale: pentru role.......... ..... ...... ..........6 luni pentru elementele transmisiei...........20 ore functionare Dupa prima luna de functionare, transportorul cu placi trebuie verificat cu amanuntire : asamblarile mecanice si baia reductorului se spala cu petrol spalarea rulmentilor cu benzina se schimba intregul lubrifiant La intervale de timp trebuie sa se faca urmatoarele operatii : verificarea strangerii suruburilor; ungerea mecanismelor verificarea etansarii lagarelor si reductorului; intinderea lagarelor de tractiune; verificarea gradului de uzura a lanturilor; verificarea starii de functionare a motorului electric;
evaluarea materialului cazut sub transportorul cu placi articulate, din diferite motive. Pentru verificarea reviziilor si reparatiilor, personalul manevrant nu are voie sa-si exercite funcia fara instructaj privind protectia muncii. Pentru ca sa fie permisa interventia privind functionarea, intretinerea transportorului cu placi articulate, acesta trebuie sa se gaseasca in repaus. Personalul care controleaza transportorul cu banda trebuie sa fie calificat in aceasta specialitate. Beneficiarul este obligat sa redacteze instructiuni speciale privind tehnica securitatii si protectiei muncii, pe care sa le afiseze in locuri vizibile o data cu darea in exploatare a transportorului cu placi articulate. In vederea prevenirii incendiilor si a scurtcircuitelor, este interzis a se lucra cu legaturi improvizate la instalatia electrica a transportorului cu placi articulate. Prevenirea si lichidarea incendiilor se poate face prin : controlul aglomerarii materialului oprirea transportorului pe traseu.
Stefanescu; I. Crudu; - Atlas reductoare , Editura Didactica si Pedagogica Bucuresti D. Panturu; L. Palaghian Heinrich Segall - Masini de ridicat si de transportat pentru constructii, instalatii de transport continu, UTCB Bucuresti , 1988 Mircea Alamoreanu - Albumul de desene si elemente tipizate pentru masini de ridicat Bucuresti 1988 M. Gafiteanu - Organe de masini volumul I , Editura Tehnica 1983 M. Gafiteanu - Organe de masini volumul II , Editura Tehnica 1983 A.O. Spivacovschi - Masini de ridicat si transportat , Editura Didactica si Pedegogica Bucuresti Heinrich Segall - Masini de ridicat si te transportat pentru constructii, UTCB Bucuresti 1988
V. Olariu , E Apostol - Masini de ridicat si transportat, Editura Didactica si Pedagogica, Bucuresti 1963 Ministerul Industriei Construciei de Masini - Indrumatot pentru constructia lagarelor cu rulmenti M. Posea - Organe de masini si mecanisme.Indrumator de proiectare 1982 Pentrul uzul studentilor Institutul Roman de Standartizare - Colectia de standarte pentru Organe de Masini Vol I a; I b,c;II d; III c. Zevedei N. - Tehnologia fabricari si repararii utilajului tehnologic, UTCB, Bucuresti 1985 Facultatea de Utilaj Tehnologic - Caiet de sarcini pentru proiecte de diploma , UTCB Bucuresti 1988 Document InfoAccesari: 8357 Apreciat: Comenteaza documentul:Nu esti inregistratTrebuie sa fii utilizator inregistrat pentru a putea comenta Creaza cont nou A fost util?Daca documentul a fost util si crezi ca meritasa adaugi un link catre el la tine in site in pagina web a site-ului tau.
Copyright © Contact (SCRIGROUP Int. 2025 ) |