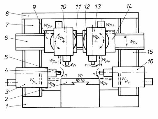
-batiu; 2-masa longitudinala; 3,16-capete de frezat orizontale; 4-pinola;5-arbore principal; 6-traversa mobila; 7,15-montanti; 8-grinda de rigidizare; 9,14-sanii transversale; 10,13-capete de frezat verticale; 11,12-suporti rotativi.

Masini de danturat prin frezare cu freza melc

Presa mecanica cu manivela
Cele mai raspandite sunt presele mecanice cu simpla actiune, cu manivela, cu batiu deschis, care sunt masini universale de presat destinate prelucrarilor de stantare (de-bitare, perforare, decupare) si de matritare (indoire, ambutisare, etc.). Ele se construiesc pentru lungimi mici ale cursei berbecului si pentru forte mici si mijlocii (pana la 100 [tf]).
Principiul constructiv si functional al preselor mecanice cu manivela, cu simpla actiune, cu batiu deschis neinclinabil si cu masa fixa, este prezentat in figura 7.11, in care s-au notat: 1-batiu; 2-masa fixa; 3-culisor (berbec); 4-sertar; 5-siguranta; 6-semicupla sferica;7-capac;8-surub de reglare;9-contrapiulita;10-corp biela;11-cuplaj cu dinti;12-bucsa excentrica; 13, 18-aparatori; 14-arbore principal; 15-frana; 16-cuplaj; 17-volant; 19-motor electric; T-transmisie cu curele.
Masina dispune de un singur lant cinematic – cel principal – avand urmatoarea formula structurala:
(n0) – T – 17 – 16 – 15 – 14 (n) – 10 – 3 (v).
El nu dispune de mecanism de reglare a turatiei n, numarul maxim de curse duble pe minut ale culisorului 3 fiind determinat de turatia motorului, n0, si raportul de transmitere al transmisiei prin curele T.

Volantul 17 este prevazut in scopul acumularii energiei cinetice pe unghiul de rotatie in gol, energie pe care o cedeaza apoi la sfarsitul cursei active (de lucru), pe unghiul corespunzator efectuarii presarii (maxim 30 ). Lucrul mecanic cedat de volant, in timpul unei operatii, poate fi calculat cu relatia:
,
in care J este momentul de inertie al volantului, w w – vitezele unghiulare la inceputul si sfarsitul fazei de presare, Fm – forta medie de presare, l – lungimea efectiva de presare si h - randamentul lantului cinematic. Admitand o variatie a turatiei intre 10[%] (la functionarea in regim automat) si 30 [%] (in regim de curse singulare), se obtin lucrurile mecanice corespunzatoare:
si ![]()
Utilizarea volantului permite alegerea motorului electric la o putere medie pe ciclu de lucru si nu la puterea maxima efectiv necesara in faza de presare, prin aceasta reducandu-se costurile si crescand randamentul.
Cuplajul 16 are rolul cuplarii-decuplarii volantului de arborele principal 14. La functionarea in regim automat, el ramane cuplat permanent; la functionarea in regim de curse singulare, el cupleaza elementele doar pentru o rotatie completa, dupa care decupleaza automat, asteptand o noua comanda in vederea efectuarii cursei urmatoare.
Datorita solicitarilor dinamice mari, acest cuplaj are o constructie speciala, o varian-ta frecvent intalnita fiind cea din figura 7.11,b, in care este prezentat cuplajul cu pana roti-toare. In volantul 17 sunt practicate gaurile semicirculare G, avand aceeasi raza cu pana rotitoare semicilindrica 21, actionata de arcul 20, fixat la celalalt capat de arborele 14. Daca opritorul 22 este tras in jos pentru un timp scurt, in momentul in care prima gaura G din volant ajunge in dreptul penei, aceasta se roteste cupland volantul cu arborele (fig.7.11,c). Prin revenirea opritorului in pozitia initiala, dupa efectuarea unei rotatii arborele aduce pana din nou in dreptul opritorului, care o obliga sa se roteasca in jurul axei sale; retragandu-se in locasul sau din arbore, pana decupleaza miscarea.
Frana 15 are rolul de a opri miscarea in momentul in care culisorul 3 ajunge in pozi-tia superioara, pentru care subansamblul mobil al stantei sau matritei este ridicat, permi-tand alimentarea cu semifabricat. Comanda sa este sincronizata cu miscarea principala v.
Transformarea miscarii de rotatie in miscare de translatie este realizata de mecanismul biela-manivela. Pentru reglarea marimii cursei berbecului, pe cepul excentric al arborelui principal (avand excentricitatea e1) este montata o bucsa excentrica cu ex-centricitatea e2, a carei pozitie unghiulara poate fi reglata cu ajutorul cuplajului cu dinti 11.
Marimea excentricitatii rezultante ej se poate calcula in functie de e1, e2 si unghiul j dintre directiile celor doua excentricitati, cu relatia:
![]()
valorile extreme fiind:
Lungimea cursei berbecului lc se calculeaza cu relatia:
. Pozitia
cursei berbecului se regleaza prin scurtarea sau lungirea bielei,
realizata cu ajutorul surubului de reglare 8, dupa care se
blocheaza cu contrapiulita 9.Siguranta
5, introdusa intre semicupla sferica 6 si culisorul 3, are
rolul de a proteja presa la suprasarcini accidentale. Ea are forma din desen,
sectiunea minima fiind calculata sa se foarfece la
depasirea fortei maxime admisibile de presare, protejand astfel
celelalte elemente ale lantului cinematic. Pentru schimbarea ei, este
prevazut sertarul 4.In partea inferioara, culisorul 3 este prevazut
cu o gaura in care se introduce si se fixeaza cepul 15 (fig.7.6)
pentru ridicarea subansamblului mobil al stantei (matritei).
Masa masinii, 2, este prevazuta cu canale in forma de T, pentru prinderea, cu ajutorul
suruburilor sau a bridelor, a subansamblului fix al stantei
(matritei).
Caracteristicile principale ale preselor mecanice, in baza carora se aleg in vederea unei anumite prelucrari, sunt: forta nominala, FN [kN]; cursa nominala, lc [mm]; numarul de curse duble pe minut in regim automat, n [cd/min]; lucrul mecanic disponibil La si LS [N m]; numarul treptelor de reglare a lungimii cursei si puterea instalata.
Datorita fortelor si vitezelor mari, masinile de presat prezinta pericol mare de accidentare a personalului de deservire, accidentele din atelierele de presare fiind dintre cele mai frecvente si mai grave, datorita si stresului creeat de zgomot si de concentrarea atentiei.
Pentru protectia personalului, organele de comanda ale presei sunt dublate, astfel incat sa solicite utilizarea ambelor maini, iar la presele mari, se utilizeaza sisteme de protectie cu fotocelule care nu permit pornirea masinii in cazul prezentei unor obiecte straine in spatiul de lucru.
|