Dispozitive si Circuite Electronice
DIODE SMICONDUCTOARE
Scopul lucrarii:
2.Determinati pentru fiecare dioda (D1, D2) VP, alegand IDM=200mA si ε=0.01.
Pentru dioda D1 se determina din graficul iDvD
g:
Din grafic DVD = 0.1 - 0.095 = 0.05 V
g DVD/Dlg
iD*(q lg e/kT)
g:
Din grafic DVD = 0.65 - 0.55 = 0.1 V
Se realizeaza configuratia :

Dioda si rezistenta Rk sunt alese conform indicatiilor din tabelul T.2. Cele doua sectiuni ale sursei se leaga in serie pentru a obtine ED' .
Se regleaza sursele astfel incat sa se obtina valorile lui VD indicate in tabelul T.2.
Se masoara ED' si se calculeaza curentul invers prin dioda, IR , cu relatia :
IR = -ID= (VD - ED' )/ Rk
T.2
|
Dioda |
K |
RK (kW) |
VR=-VD (V) |
ED' (V) |
IR =-ID (mA) |
|
D1 |
|
|
|
|
|
|
|
|
|
|
|
|
|
|
|
|
|
|
|
|
|
|
|
|
|
|
|
|
|
|
|
|
|
|
|
|
|
|
|
|
|
D2 |
|
|
|
|
|
|
|
|
|
|
|
|
|
|
|
|
|
|
|
|
|
|
|
|
|
|
|
|
|
|
|
|
|
|
|
|
|
|
|
6. Cu ajutorul datelor din tabelul T.2 trasati grafic caracteristicile Id(Vd), Vd<0 pentru diodele D1 si D2.
-
coeficient care ia valori intre 1 si 2
Pentru
dioda este polarizata direct si curentul
depinde exponential de tensiune:
VD <<gkT/ q =>
0 => exp
Deci ID → I0
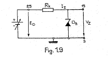
Dioda stabilizatoare de tensiune
Se realizeaza configuratia din figura :

Se alege Rk si se regleaza ED conform indicatiilor din tabelul T.3.
Z si se calculeaza IZ = ID cu relatia : IZ= (ED - VZ)/ Rk
D conform indicatiilor din tabelul T.4 .
Se masoara VD si se calculeaza ID cu relatia : ID= (ED - VD)/ Rk
Se masoara VS si se calculeaza Ri cu relatia : Ri =RSn[VD/(Vs VD
T.4
|
Dioda |
k |
Rk (KΩ) |
n |
Rsn (Ω) |
Ed (V) |
Vd (mV) |
Id (mA) |
Vs (mV) |
Ri (KΩ) |
|
D1 |
|
|
|
|
|
|
|
|
|
|
|
|
|
|
|
|
|
|
|
|
|
|
|
|
|
|
|
|
|
|
|
|
|
|
|
|
|
|
|
|
|
|
|
D2 |
|
|
|
|
|
|
|
|
|
|
|
|
|
|
|
|
|
|
|
|
|
|
|
|
|
|
|
|
|
|
|
|
|
|
|
|
|
|
|
|
|
10. Pentru valorile curentului ID din tabelul 1.4 calculati pentru D1 si D2
valoarea teoretica a rezistentei interne Ri (teoretic) .
|
D1 |
ID [mA] |
|
|
|
|
|
Ri masurat[KΩ] |
|
|
|
|
|
|
Ri teoretic[KΩ] |
|
|
|
|
|
|
D2 |
ID [mA] |
|
|
|
|
|
Ri masurat[KΩ] |
|
|
|
|
|
|
Ri teoretic[KΩ] |
|
|
|
|
11. Trasati graphic Ri (masurat)(ID) si Ri (teoretic)(ID) pentru diodele D1 si D2.


Dioda electroluminescenta (LED)
Conectati la borna LED (D4) rezistenta R . Cresteti tensiunea de alimentare
ED de la zero pana la valoarea la care se observa aprinderea LED-ului. Calculati curentul de prag de iluminare al LED-ului cu formula :
IpLED = (ED-VLED)/(R3+R3LED)
unde RsLED 1kW este rezistenta inseriata cu LED-ul, iar VLED 1,5V .
![]()
ED=1,8V
12. Explicati eventualele neconcordante intre valorile masurate si cele teoretice.
Eventualele neconcordante intre valorile masurate si cele teoretice apar datorita erorilor din timpul masuratorilor (interferente exterioare) si datorita aproximarilor din calcule.
|